LEMON Manuals: Even more car manuals for everyone: 1960-2025
Home >> Toyota >> 1983 >> Corolla Base >> Repair and Diagnosis >> Engine Performance >> System >> CCE System >> Wiring Diagrams
April 5, 2026: LEMON Manuals is launched! Read the announcement.

Wiring Diagrams

Fig 1: Carbureted Celica Computer Controlled Emission System Wiring Diagram
G43700Courtesy of © TOYOTA, LICENSE AGREEMENT TMS1002
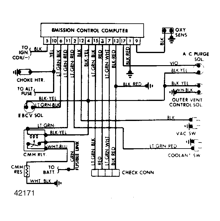
Fig 2: Corolla Computer Controlled Emission System Wiring Diagram
G42171Courtesy of © TOYOTA, LICENSE AGREEMENT TMS1002
Fig 3: Land Cruiser Computer Controlled Emission System Wiring Diagram
G42172Courtesy of © TOYOTA, LICENSE AGREEMENT TMS1002
Fig 4: Pickup Computer Controlled Emission System Wiring Diagram
G42173Courtesy of © TOYOTA, LICENSE AGREEMENT TMS1002
Fig 5: Tercel Computer Controlled Emission System Wiring Diagram
G42174Courtesy of © TOYOTA, LICENSE AGREEMENT TMS1002