LEMON Manuals: Even more car manuals for everyone: 1960-2025
Home >> Toyota >> 1984 >> Van LE, Standard >> Repair and Diagnosis >> Body & Frame >> Power Windows >> Component Tests >> Power Window Assistant Switch
April 5, 2026: LEMON Manuals is launched! Read the announcement.

Power Window Assistant Switch

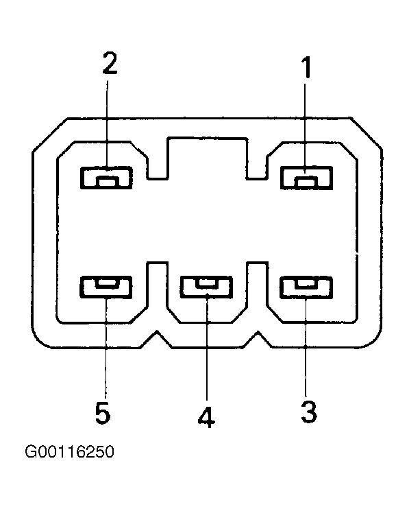
Inspect the switch continuity between terminals. See Fig 1 and Fig 2 . If continuity is not as specified, replace the switch.

Fig 1: Identifying Power Window Assistant Switch Terminals
G00116250Courtesy of © TOYOTA, LICENSE AGREEMENT TMS1002
Fig 2: Testing Power Window Assistant Switch Continuity
G00116251Courtesy of © TOYOTA, LICENSE AGREEMENT TMS1002