LEMON Manuals: Even more car manuals for everyone: 1960-2025
Home >> Toyota >> 1986 >> Van LE >> Repair and Diagnosis >> Engine Performance >> System >> TCCS System >> Diagnosis & Testing >> A/C Compressor
April 5, 2026: LEMON Manuals is launched! Read the announcement.

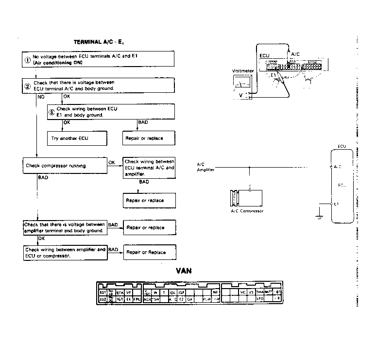
A/C Compressor

Fig 1: Terminal A/C - E1
G48562Courtesy of © TOYOTA, LICENSE AGREEMENT TMS1002