LEMON Manuals: Even more car manuals for everyone: 1960-2025
Home >> Toyota >> 1987 >> 4Runner SR5, 22-RTE >> Repair and Diagnosis >> Engine Performance >> System >> TCCS System >> Trouble Shooting >> Diagnostic Circuit Check
April 5, 2026: LEMON Manuals is launched! Read the announcement.

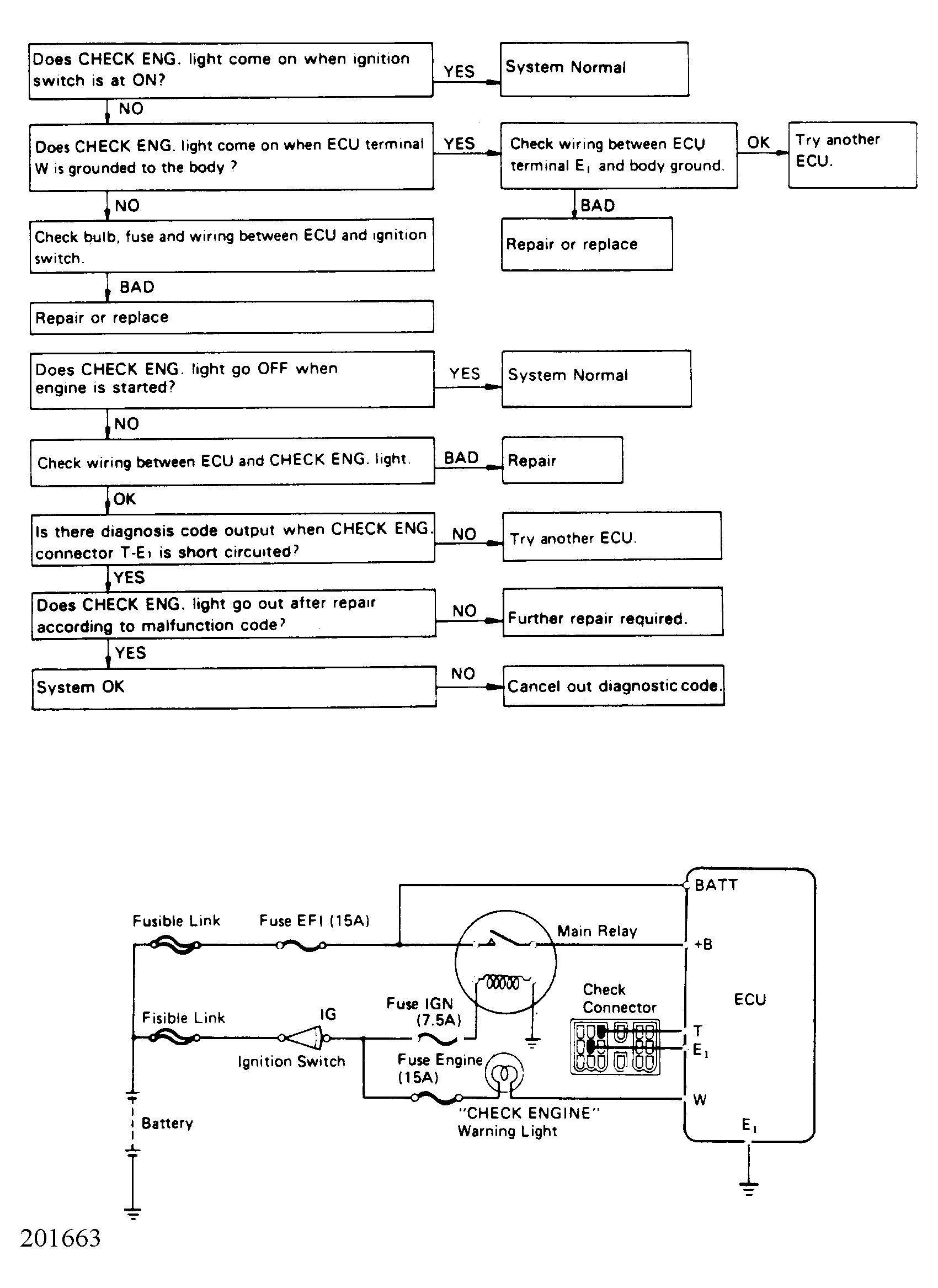
Diagnostic Circuit Check

Fig 1: Diagnostic Circuit Check Pickup & 4Runner
G201663Courtesy of © TOYOTA, LICENSE AGREEMENT TMS1002