LEMON Manuals: Even more car manuals for everyone: 1960-2025
Home >> Toyota >> 1987 >> Camry Base, Standard >> Repair and Diagnosis >> Engine Performance >> System >> TCCS System >> Diagnostic Charts >> Injector Circuits Check
April 5, 2026: LEMON Manuals is launched! Read the announcement.

Injector Circuits Check

Fig 1: Injector Circuits Check (1 Of 3)
G61987Courtesy of © TOYOTA, LICENSE AGREEMENT TMS1002
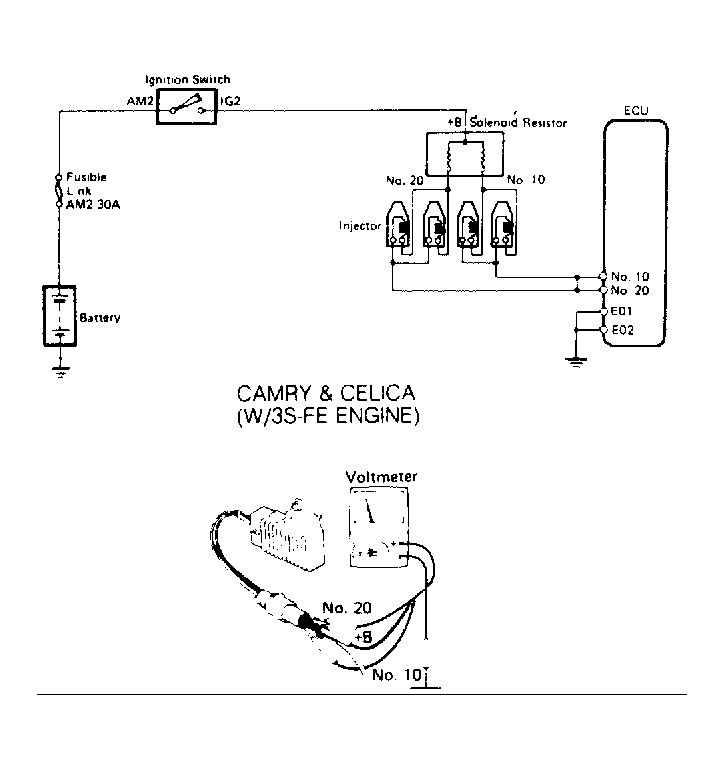
Fig 2: Injector Circuits Check (2 Of 3)
G61986Courtesy of © TOYOTA, LICENSE AGREEMENT TMS1002
Fig 3: Injector Circuits Check (3 Of 3)
G61989Courtesy of © TOYOTA, LICENSE AGREEMENT TMS1002