LEMON Manuals: Even more car manuals for everyone: 1960-2025
Home >> Toyota >> 1987 >> MR2 Standard >> Repair and Diagnosis >> Engine Performance >> System >> TCCS System >> Trouble Shooting >> Main Relay & Circuit
April 5, 2026: LEMON Manuals is launched! Read the announcement.

Main Relay & Circuit

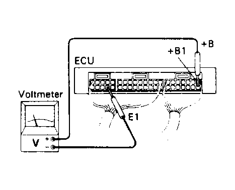
Fig 1: Terminal BATT - E(1) Part 1 of 5
G62006Courtesy of © TOYOTA, LICENSE AGREEMENT TMS1002
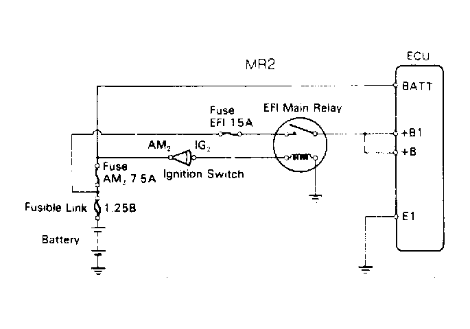
Fig 2: Wiring Diagram Part 2 of 5
G62007Courtesy of © TOYOTA, LICENSE AGREEMENT TMS1002
Fig 3: Wiring Diagram Part 3 of 5
G62010Courtesy of © TOYOTA, LICENSE AGREEMENT TMS1002
Fig 4: Terminal +B(1), +B1 - E1 Part 4 of 5
G62005Courtesy of © TOYOTA, LICENSE AGREEMENT TMS1002
Fig 5: Wiring Diagram Part 5 of 5
G62008Courtesy of © TOYOTA, LICENSE AGREEMENT TMS1002