LEMON Manuals: Even more car manuals for everyone: 1960-2025
Home >> Toyota >> 1987 >> Van Base, Van Window, Standard >> Repair and Diagnosis >> Engine Performance >> System >> TCCS System >> Diagnosis & Testing >> Injector Circuit Check
April 5, 2026: LEMON Manuals is launched! Read the announcement.

Injector Circuit Check

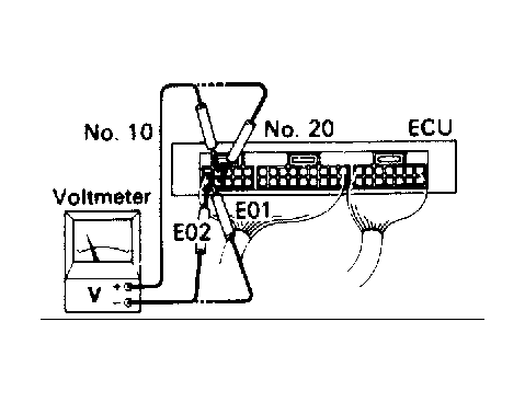
Fig 1: Terminals No. 10 & No. 20 - E01 & E02 Part 1 of 4
G62004Courtesy of © TOYOTA, LICENSE AGREEMENT TMS1002
Fig 2: Terminals No. 10 & No. 20 - E01 & E02 Part 2 of 4
G62003Courtesy of © TOYOTA, LICENSE AGREEMENT TMS1002
Fig 3: Terminals No. 10 & No. 20 - E01 & E02 Part 3 of 4
G62002Courtesy of © TOYOTA, LICENSE AGREEMENT TMS1002
Fig 4: Terminals No. 10 & No. 20 - E01 & E02 Part 4 of 4
G62001Courtesy of © TOYOTA, LICENSE AGREEMENT TMS1002