LEMON Manuals: Even more car manuals for everyone: 1960-2025
Home >> Toyota >> 1988 >> Corolla LE, Automatic >> Repair and Diagnosis >> Engine Performance >> System >> Computer Control System >> Diagnostic Charts >> No. 6 Test, Code 25, 26, O2 Sensor Signal
April 5, 2026: LEMON Manuals is launched! Read the announcement.

No. 6 Test, Code 25, 26, O2 Sensor Signal

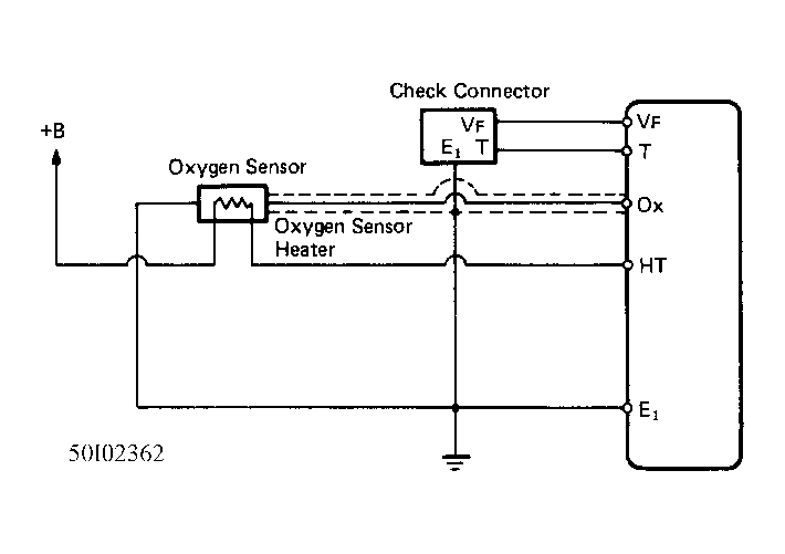
Fig 1: No. 6 Test, Code 25, 26 Schematic, O2 Sensor Signal
G50I02362Courtesy of © TOYOTA, LICENSE AGREEMENT TMS1002
Fig 2: No. 6 Test, Code 25, 26 Flow Chart, O2 Sensor Signal
G50A02363Courtesy of © TOYOTA, LICENSE AGREEMENT TMS1002
Fig 3: No. 6 Test, Code 25, 26, O2 Sensor Check
G50C02364Courtesy of © TOYOTA, LICENSE AGREEMENT TMS1002