LEMON Manuals: Even more car manuals for everyone: 1960-2025
Home >> Toyota >> 1988 >> Land Cruiser >> Repair and Diagnosis >> Engine Performance >> System >> Computer Control System >> Diagnostic Charts >> No. 2 Test, Code 12, 13, 14 (Code 3, 6 On Turbo), Rpm & Ignition Signal
April 5, 2026: LEMON Manuals is launched! Read the announcement.

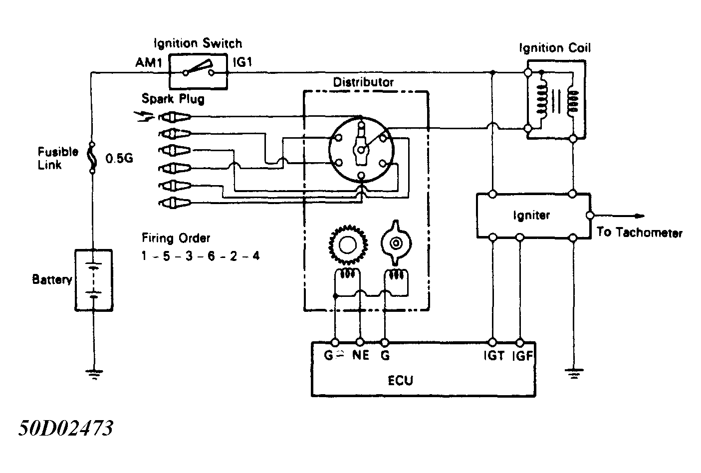
No. 2 Test, Code 12, 13, 14 (Code 3, 6 On Turbo), Rpm & Ignition Signal

Fig 1: No. 2 Test, Code 12, 13, 14 (Code 3, 6 on Turbo) Schematic RPM & Ignition. Signal
G50D02473Courtesy of © TOYOTA, LICENSE AGREEMENT TMS1002
Fig 2: No. 2 Test, Code 12, 13, 14 (Code 3, 6 on Turbo) Flow Chart, RPM & Ignition Signal
G50F02474Courtesy of © TOYOTA, LICENSE AGREEMENT TMS1002