LEMON Manuals: Even more car manuals for everyone: 1960-2025
Home >> Toyota >> 1989 >> Tercel Base, 2D Hatchback, Automatic >> Repair and Diagnosis >> Engine Performance >> System >> Engine Controls - System/Component Tests - 4-CYL CARBURETED >> Testing >> Cold Mixture Heater Relay
April 5, 2026: LEMON Manuals is launched! Read the announcement.

Cold Mixture Heater Relay

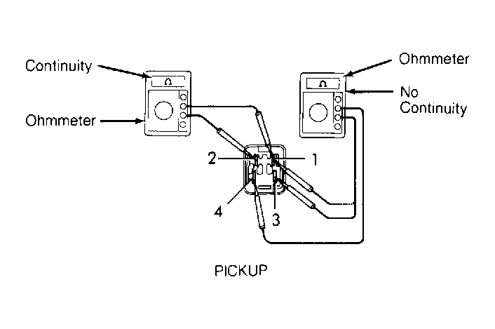
  1. Check that continunity is present between terminals No. 1 and 2. No continuity should be present between terminals No. 3 and 4.
  2. On Pickup, also check that there is no continuity between terminals No. 1 and 4. See Fig 3 & 44. On all models, apply battery voltage to terminals No. 1 and 2. See Fig 1, Figure, Figure or Figure.
  3. Continunity should be present between terminals No. 3 and 4. For location of relay location, See COLD MIXTURE RELAY LOCATION table.
COLD MIXTURE RELAY LOCATION

Model Relay Location
Corolla Left Fender Apron
Pickup No. 2 Relay Block, Right Fender Apron
Tercel Near Wiper Motor
Fig 1: Checking Cold Mixture Heater Relay W/O Voltage (Corolla)
G119304Courtesy of © TOYOTA, LICENSE AGREEMENT TMS1002
Fig 2: Checking Cold Mix Heater Relay W/ Voltage Applied (Corolla)
G119307Courtesy of © TOYOTA, LICENSE AGREEMENT TMS1002
Fig 3: Checking Cold Mixt Heater Relay W/O Voltage (Pickup)
G119305Courtesy of © TOYOTA, LICENSE AGREEMENT TMS1002
Fig 4: Chk Cold Mix Heater Relay W/ Voltage Applied (Pickup)
G119308Courtesy of © TOYOTA, LICENSE AGREEMENT TMS1002
Fig 5: Checking Cold Mixture Heater Relay W/O Voltage (Tercel)
G119306Courtesy of © TOYOTA, LICENSE AGREEMENT TMS1002
Fig 6: Checking Cold Mix Heater Relay W/ Voltage Applied (Tercel)
G119309Courtesy of © TOYOTA, LICENSE AGREEMENT TMS1002
Fig 7: Cold Mixture Heater Components & Parameters (Corolla)
G119310Courtesy of © TOYOTA, LICENSE AGREEMENT TMS1002
Fig 8: Cold Mixt Heater Components & Parameters (Pickup)
G119311Courtesy of © TOYOTA, LICENSE AGREEMENT TMS1002
Fig 9: Cold Mixture Heater Components & Parameters (Tercel)
G119313Courtesy of © TOYOTA, LICENSE AGREEMENT TMS1002