LEMON Manuals: Even more car manuals for everyone: 1960-2025
Home >> Toyota >> 1989 >> Tercel Base, 2D Hatchback, Standard >> Repair and Diagnosis >> Engine Performance >> System >> Engine Controls - Tests W/Codes - CARBURETED >> Circuit Tests >> Test 13 - Cold Enrichment Breaker Circuit
April 5, 2026: LEMON Manuals is launched! Read the announcement.

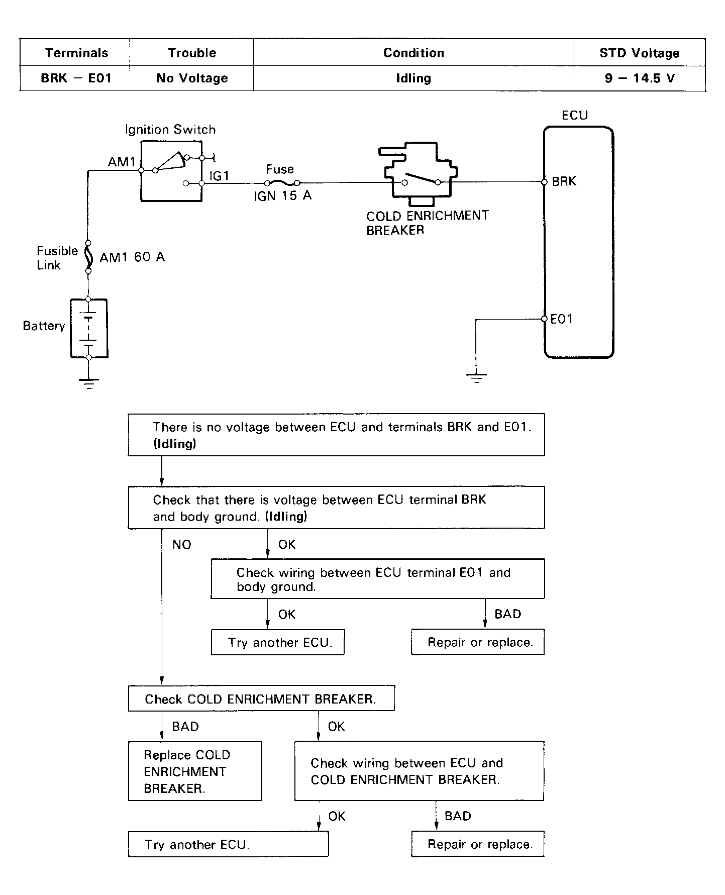
Test 13 - Cold Enrichment Breaker Circuit

Fig 1: Test 13 Diagram & Flow Chart
G118854Courtesy of © TOYOTA, LICENSE AGREEMENT TMS1002