LEMON Manuals: Even more car manuals for everyone: 1960-2025
Home >> Toyota >> 1990 >> Corolla Base, Automatic >> Repair and Diagnosis >> Engine Performance >> System >> Engine Controls - Tests W/Codes >> Test 3 Or Code 12, 13, 14 - Ignition & Rpm Signal
April 5, 2026: LEMON Manuals is launched! Read the announcement.

Test 3 Or Code 12, 13, 14 - Ignition & Rpm Signal

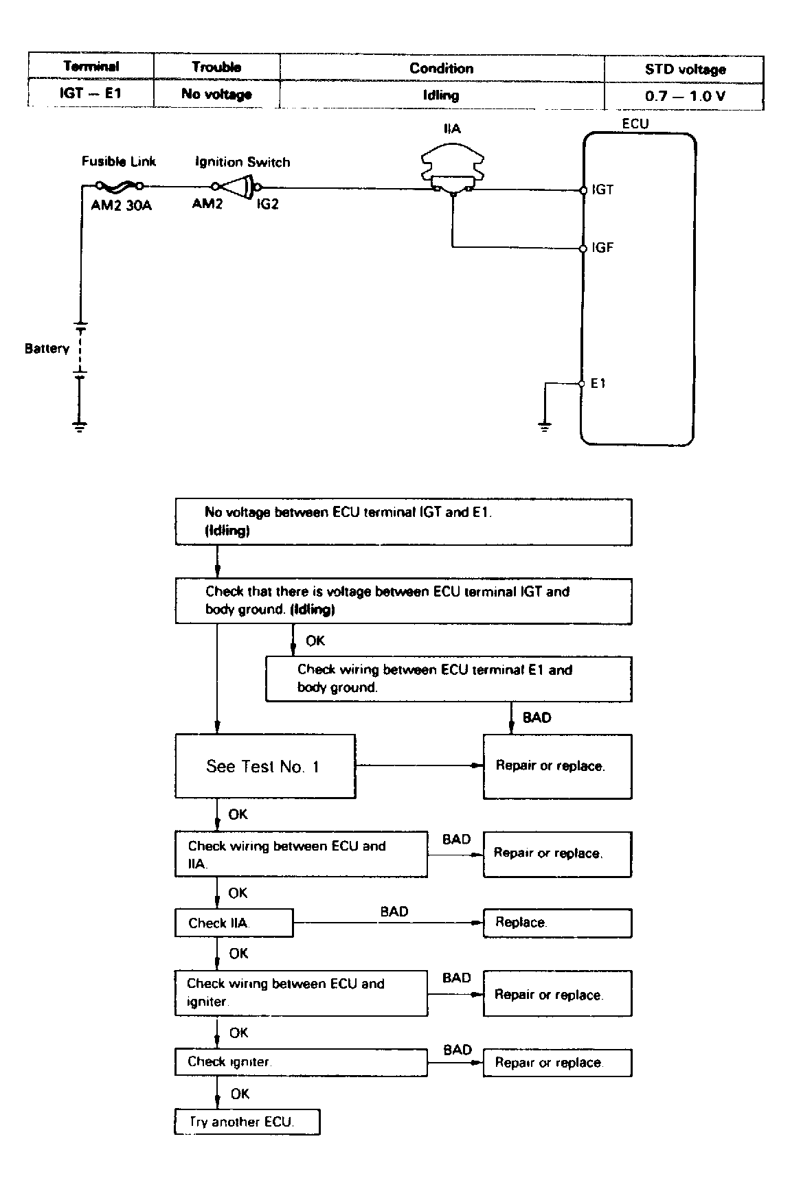
Fig 1: 4A-FE Test 3 or Code 12, 13, 14 Diagram & Flow Chart
G118683Courtesy of © TOYOTA, LICENSE AGREEMENT TMS1002
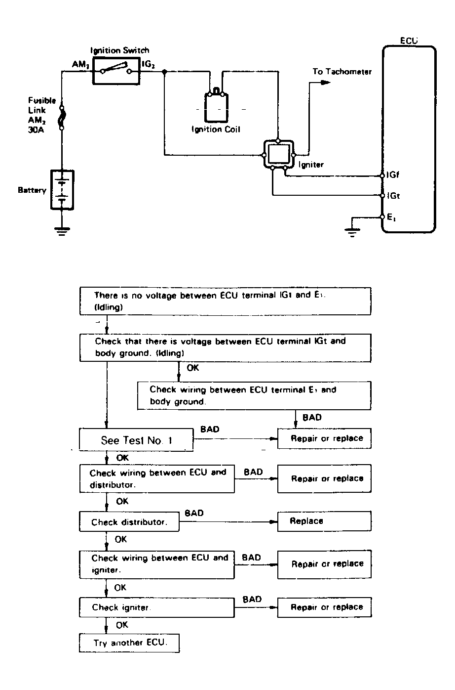
Fig 2: 4A-GE Test 3 or Code 12, 13, 14 Diagram & Flow Chart
G118684Courtesy of © TOYOTA, LICENSE AGREEMENT TMS1002
NOTE: To check ignition system components, see IGNITION SYSTEMS in I - SYS/COMP TESTS article
NOTE: Code 12 is caused by the loss of "NE" or "G" signal to distributor or ECU during cranking. Code 13 is caused by loss of the "NE" signal to distributor or ECU when engine RPM exceeds 1000 RPM.