LEMON Manuals: Even more car manuals for everyone: 1960-2025
Home >> Toyota >> 1990 >> Land Cruiser >> Repair and Diagnosis >> Engine Performance >> System >> Engine Controls - Tests W/Codes - EFI >> Test 13 - A/C Switch Circuit
April 5, 2026: LEMON Manuals is launched! Read the announcement.

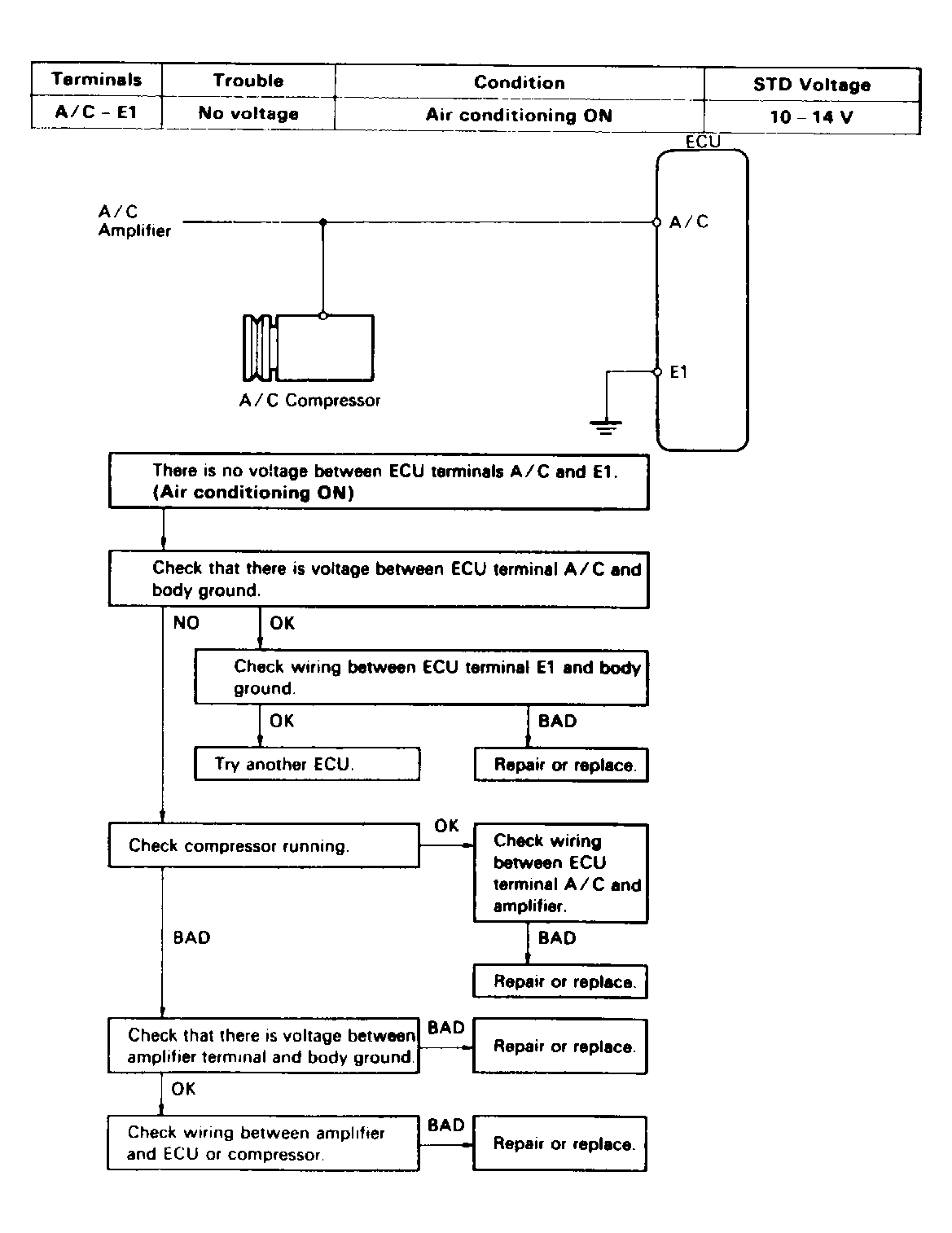
Test 13 - A/C Switch Circuit

Fig 1: Test No. 13 Diagram & Flow Chart
G118738Courtesy of © TOYOTA, LICENSE AGREEMENT TMS1002