LEMON Manuals: Even more car manuals for everyone: 1960-2025
Home >> Toyota >> 1990 >> Tercel Base, 2D Hatchback, Automatic >> Repair and Diagnosis >> Engine Performance >> System >> Engine Controls - Tests W/Codes - CARBURETED >> Circuit Tests >> Test 6 Or Code 31 - Vacuum Switch Signal
April 5, 2026: LEMON Manuals is launched! Read the announcement.

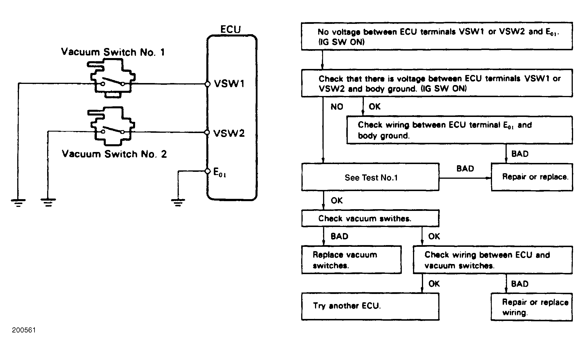
Test 6 Or Code 31 - Vacuum Switch Signal

Fig 1: Test 6 or Code 31 Diagram & Flow Chart
G200561Courtesy of © TOYOTA, LICENSE AGREEMENT TMS1002