LEMON Manuals: Even more car manuals for everyone: 1960-2025
Home >> Toyota >> 1991 >> Celica All-Trac >> Repair and Diagnosis >> Engine Performance >> System >> Engine Controls - Tests W/Codes >> Code Charts >> Test No. 14 - Idle Speed Control Circuit
April 5, 2026: LEMON Manuals is launched! Read the announcement.

Test No. 14 - Idle Speed Control Circuit

TEST NO. 14-IDLE SPEED CONTROL CIRCUIT TROUBLE

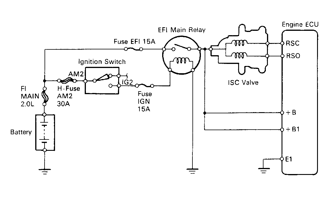
Terminal Trouble Condition STD Voltage
RSC-E1, RSO-E1 No Voltage Ignition Switch ON 8-14V
Fig 1: Test No. 14 Schematic (3S-GTE) Idle Speed Control Circuit
G91I17754Courtesy of © TOYOTA, LICENSE AGREEMENT TMS1002
Fig 2: Test No. 14 Component Diagram (3S-GTE) Idle Speed Control Circuit
G91I18091Courtesy of © TOYOTA, LICENSE AGREEMENT TMS1002
Fig 3: Test No. 14 Flow Chart (3S-GTE) Idle Speed Control Circuit
G91J17755Courtesy of © TOYOTA, LICENSE AGREEMENT TMS1002
TEST NO. 14-IDLE SPEED CONTROL CIRCUIT TROUBLE

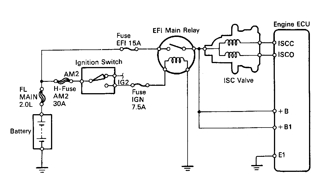
Terminal Trouble Condition STD Voltage
ISCC-E1, ISCO-E1 No Voltage Ignition Switch ON 8-14V
Fig 4: Test No. 14 Schematic (5S-FE) Idle Speed Control Circuit
G91A17756Courtesy of © TOYOTA, LICENSE AGREEMENT TMS1002
Fig 5: Test No. 14 Component Diagram (5S-FE) Idle Speed Control Circuit
G91C17758Courtesy of © TOYOTA, LICENSE AGREEMENT TMS1002
Fig 6: Test No. 14 Flow Chart (5S-FE) Idle Speed Control Circuit
G91B17757Courtesy of © TOYOTA, LICENSE AGREEMENT TMS1002