LEMON Manuals: Even more car manuals for everyone: 1960-2025
Home >> Toyota >> 1991 >> MR2 2.0 S >> Repair and Diagnosis >> Engine Performance >> System >> Engine Controls - Tests W/Codes >> Code Charts >> Diagnostic Circuit Check
April 5, 2026: LEMON Manuals is launched! Read the announcement.

Diagnostic Circuit Check

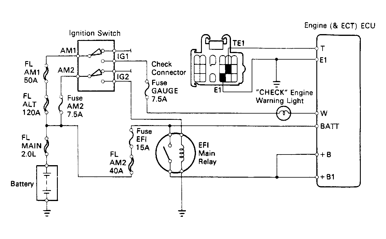
Fig 1: Diagnostic Circuit Check Schematic
G91G18024Courtesy of © TOYOTA, LICENSE AGREEMENT TMS1002
Fig 2: Diagnostic Circuit Check Flow Chart
G91C17709Courtesy of © TOYOTA, LICENSE AGREEMENT TMS1002