LEMON Manuals: Even more car manuals for everyone: 1960-2025
Home >> Toyota >> 1991 >> MR2 2.2 S, Standard >> Repair and Diagnosis >> Engine Performance >> System >> Engine Controls - Tests W/Codes >> Code Charts >> Test No. 14 - Idle Speed Control Circuit
April 5, 2026: LEMON Manuals is launched! Read the announcement.

Test No. 14 - Idle Speed Control Circuit

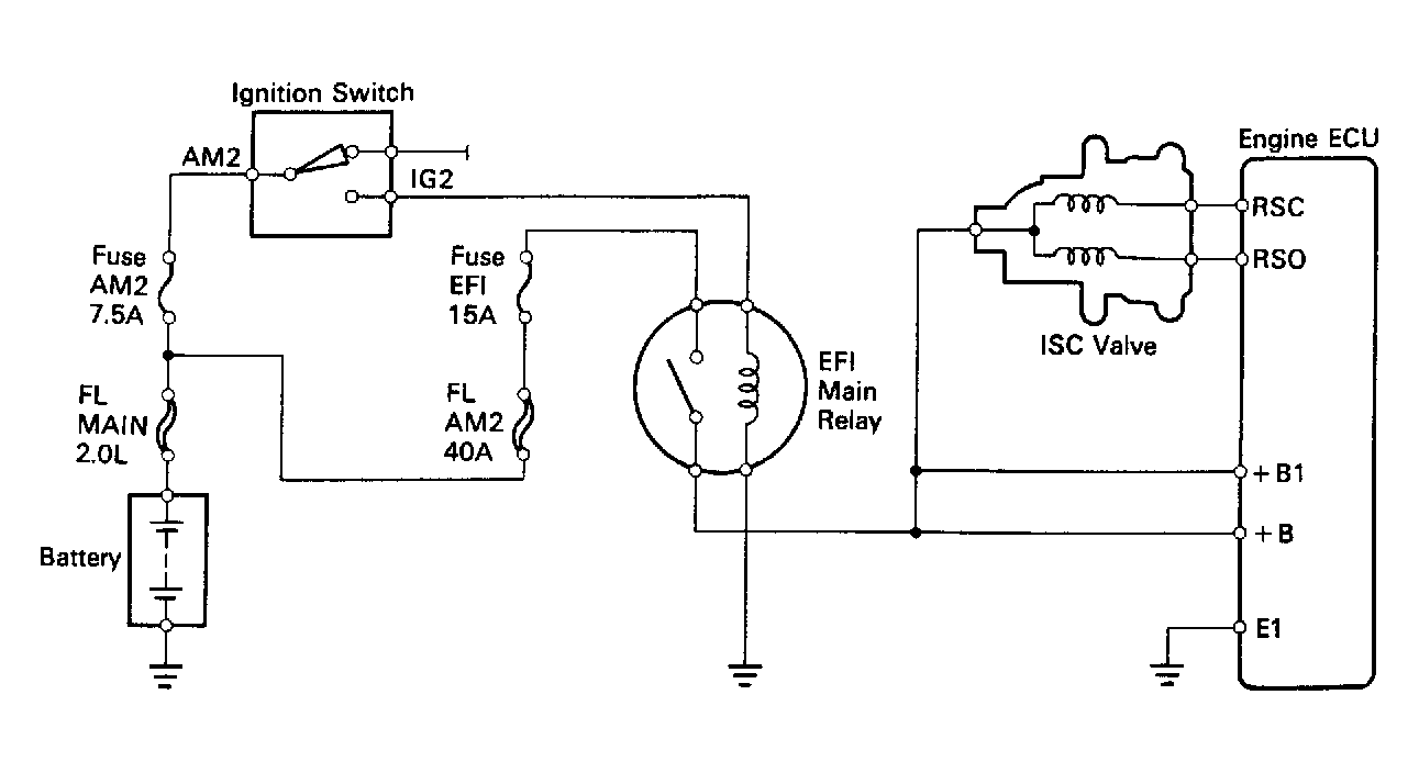
TEST NO. 14-IDLE SPEED CONTROL CIRCUIT TROUBLE (3S-GTE)

Terminal Trouble Condition STD Voltage
RSC-E1, RSO-E1 No VoltageNo Voltage Ignition Switch ON 8-14V
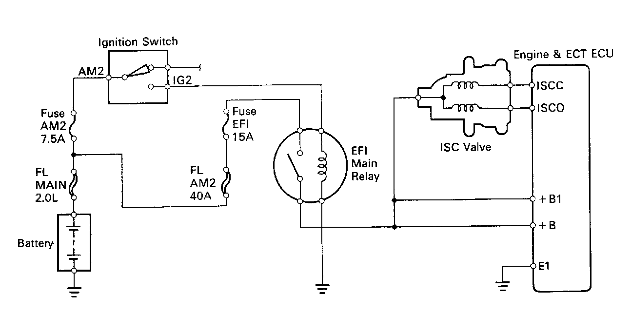
TEST NO. 14-IDLE SPEED CONTROL CIRCUIT TROUBLE (5S-FE)

Terminal Trouble Condition STD Voltage
ISCC-E1,ISCO-E1 No Voltage Ignition Switch ON 8-14V
Fig 1: Test No. 14 Schematic (3S-GTE) Idle Speed Control Circuit
G91I18042Courtesy of © TOYOTA, LICENSE AGREEMENT TMS1002
Fig 2: Test No. 14 Component Diagram (3S-GTE) Idle Speed Control Circuit
G91A18044Courtesy of © TOYOTA, LICENSE AGREEMENT TMS1002
Fig 3: Test No. 14 Flow Chart (3S-GTE) Idle Speed Control Circuit
G91J18043Courtesy of © TOYOTA, LICENSE AGREEMENT TMS1002
Fig 4: Test No. 14 Schematic (5S-FE) Idle Speed Control Circuit
G91B18045Courtesy of © TOYOTA, LICENSE AGREEMENT TMS1002
Fig 5: Test No. 14 Component Diagram (5S-FE) Idle Speed Control Circuit
G91D18047Courtesy of © TOYOTA, LICENSE AGREEMENT TMS1002
Fig 6: Test No. 14 Flow Chart (5S-FE) Idle Speed Control Circuit
G91C18046Courtesy of © TOYOTA, LICENSE AGREEMENT TMS1002