LEMON Manuals: Even more car manuals for everyone: 1960-2025
Home >> Toyota >> 1992 >> Camry SE, Standard >> Repair and Diagnosis >> Engine Performance >> System >> Engine Controls - Tests W/Codes >> Code Charts Diagnostic Circuit Check >> Diagnostic Circuit Check
April 5, 2026: LEMON Manuals is launched! Read the announcement.

Diagnostic Circuit Check

CAUTION: Perform all voltage measurements with ECU harness connector installed. Use a high-impedance DVOM (10,000-ohm minimum). Verify battery voltage is greater than 11 volts.
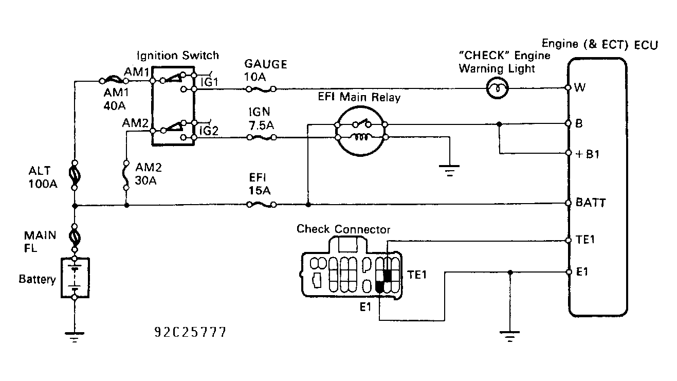
Fig 1: Diagnostic Circuit Check Schematic (5S-FE 4-Cylinder)
G92C25777Courtesy of © TOYOTA, LICENSE AGREEMENT TMS1002
Fig 2: Diagnostic Circuit Check Flow Chart
G92D25778Courtesy of © TOYOTA, LICENSE AGREEMENT TMS1002
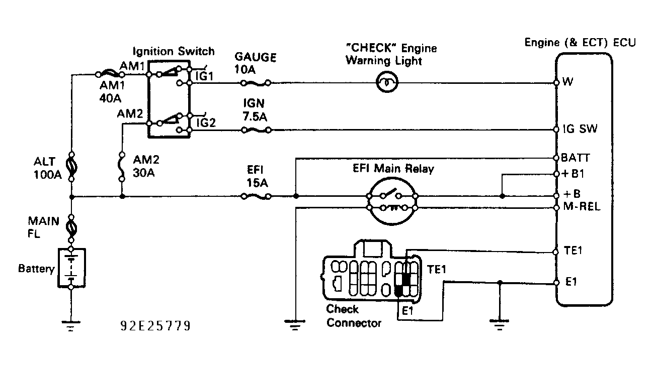
Fig 3: Diagnostic Circuit Check Schematic (3VZ-FE V6)
G92E25779Courtesy of © TOYOTA, LICENSE AGREEMENT TMS1002