LEMON Manuals: Even more car manuals for everyone: 1960-2025
Home >> Toyota >> 1992 >> Celica ST, Automatic >> Repair and Diagnosis >> Engine Performance >> System >> Engine Controls - Tests W/Codes >> Code Charts Diagnostic Circuit Check >> Code 41/Test No. 9 - Throttle Position Sensor Signal (4A-FE)
April 5, 2026: LEMON Manuals is launched! Read the announcement.

Code 41/Test No. 9 - Throttle Position Sensor Signal (4A-FE)

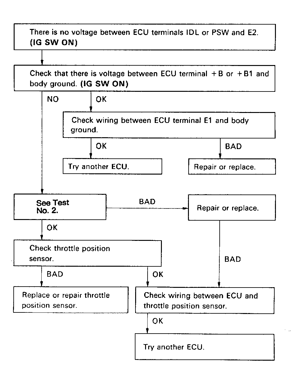
CODE 41/TEST NO. 9-TPS SENSOR SIGNAL TROUBLE

Terminal Trouble Condition STD Voltage
IDL-E2 No Voltage IG SW ON - Throttle Valve OPEN 10-14V
PSW-E2 " IG SW ON - Throttle Valve CLOSED 10-14V
Fig 1: Code 41/Test No. 9 Schematic (4A-FE) Throttle Position Sensor Signal
G91F17736Courtesy of © TOYOTA, LICENSE AGREEMENT TMS1002
Fig 2: Code 41/Test No. 9 Flow Chart (4A-FE) Throttle Position Sensor Signal
G91G17737Courtesy of © TOYOTA, LICENSE AGREEMENT TMS1002