LEMON Manuals: Even more car manuals for everyone: 1960-2025
Home >> Toyota >> 1992 >> Tercel LE, Standard >> Repair and Diagnosis (Single Page) >> Engine Performance >> Theory and Operation >> Engine Controls - Theory & Operation >> Computerized Engine Controls >> TOYOTA Computer Control System (TCCS)
April 5, 2026: LEMON Manuals is launched! Read the announcement.

TOYOTA Computer Control System (TCCS)

The TCCS is a computerized emission, ignition and fuel injection control system. The TCCS lowers exhaust emissions while maintaining good fuel economy and driveability. System consists of various sensors, switches and control units. See Fig 1-22.

An Electronic Control Unit (ECU) controls the TCCS based on input signals received from various input devices. The ECU contains preprogrammed data to maintain optimum engine performance under all operating conditions.

Fig 1: Locating TCCS Components (Camry 2.2L)
G92D26735Courtesy of © TOYOTA, LICENSE AGREEMENT TMS1002
Fig 2: Locating TCCS Components (Camry 3.0L)
G92E26736Courtesy of © TOYOTA, LICENSE AGREEMENT TMS1002
Fig 3: Locating TCCS Components (Celica 1.6L - 4A-FE)
G92F26737Courtesy of © TOYOTA, LICENSE AGREEMENT TMS1002
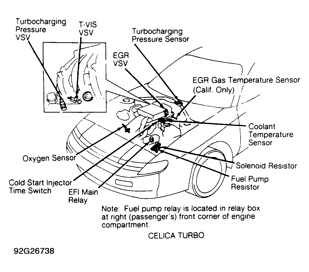
Fig 4: Locating TCCS Components (Celica Turbo)
G92G26738Courtesy of © TOYOTA, LICENSE AGREEMENT TMS1002
Fig 5: Locating TCCS Components (Celica 2.2L - 5S-FE)
G92H26739Courtesy of © TOYOTA, LICENSE AGREEMENT TMS1002
Fig 6: Locating TCCS Components (Corolla)
G92A26740Courtesy of © TOYOTA, LICENSE AGREEMENT TMS1002
Fig 7: Locating TCCS Components (Celica & Corolla)
G118502Courtesy of © TOYOTA, LICENSE AGREEMENT TMS1002
Fig 8: Locating TCCS Components (Cressida)
G118499Courtesy of © TOYOTA, LICENSE AGREEMENT TMS1002
Fig 9: Locating TCCS Components (Land Cruiser)
G91J18225Courtesy of © TOYOTA, LICENSE AGREEMENT TMS1002
Fig 10: Locating TCCS Components (MR2 Turbo - 3S-GTE)
G91A18226Courtesy of © TOYOTA, LICENSE AGREEMENT TMS1002
Fig 11: Locating TCCS Components (MR2 Turbo - 5S-FE)
G91B18227Courtesy of © TOYOTA, LICENSE AGREEMENT TMS1002
Fig 12: Locating TCCS Components (Paseo-View of Engine Compartment)
G92B26741Courtesy of © TOYOTA, LICENSE AGREEMENT TMS1002
Fig 13: Locating TCCS Components (Paseo-Driver Side View)
G92C26742Courtesy of © TOYOTA, LICENSE AGREEMENT TMS1002
Fig 14: Locating TCCS Components (Pickup & 4Runner - 2.4L)
G92D26743Courtesy of © TOYOTA, LICENSE AGREEMENT TMS1002
Fig 15: Locating TCCS Components (Pickup & 4Runner - 3.0L)
G92E26744Courtesy of © TOYOTA, LICENSE AGREEMENT TMS1002
Fig 16: Locating TCCS Components (Previa)
G92F26745Courtesy of © TOYOTA, LICENSE AGREEMENT TMS1002
Fig 17: Locating TCCS Components (Previa-View of ECU)
G92G26746Courtesy of © TOYOTA, LICENSE AGREEMENT TMS1002
Fig 18: Locating TCCS Components (Supra Non-Turbo)
G92H26747Courtesy of © TOYOTA, LICENSE AGREEMENT TMS1002
Fig 19: Locating TCCS Components (Supra Turbo)
G92I26748Courtesy of © TOYOTA, LICENSE AGREEMENT TMS1002
Fig 20: Locating TCCS Components (Supra)
G118509Courtesy of © TOYOTA, LICENSE AGREEMENT TMS1002
Fig 21: Locating TCCS Components (Tercel - Engine Compartment View)
G91D18229Courtesy of © TOYOTA, LICENSE AGREEMENT TMS1002
Fig 22: Locating TCCS Components (Tercel - Behind Dash)
G91G18230Courtesy of © TOYOTA, LICENSE AGREEMENT TMS1002