LEMON Manuals: Even more car manuals for everyone: 1960-2025
Home >> Toyota >> 1994 >> MR2 2.2 S, Standard >> Repair and Diagnosis >> Engine Performance >> System >> Engine Controls - Tests W/Codes >> Trouble Code Charts >> Diagnostic Circuit Check
April 5, 2026: LEMON Manuals is launched! Read the announcement.

Diagnostic Circuit Check

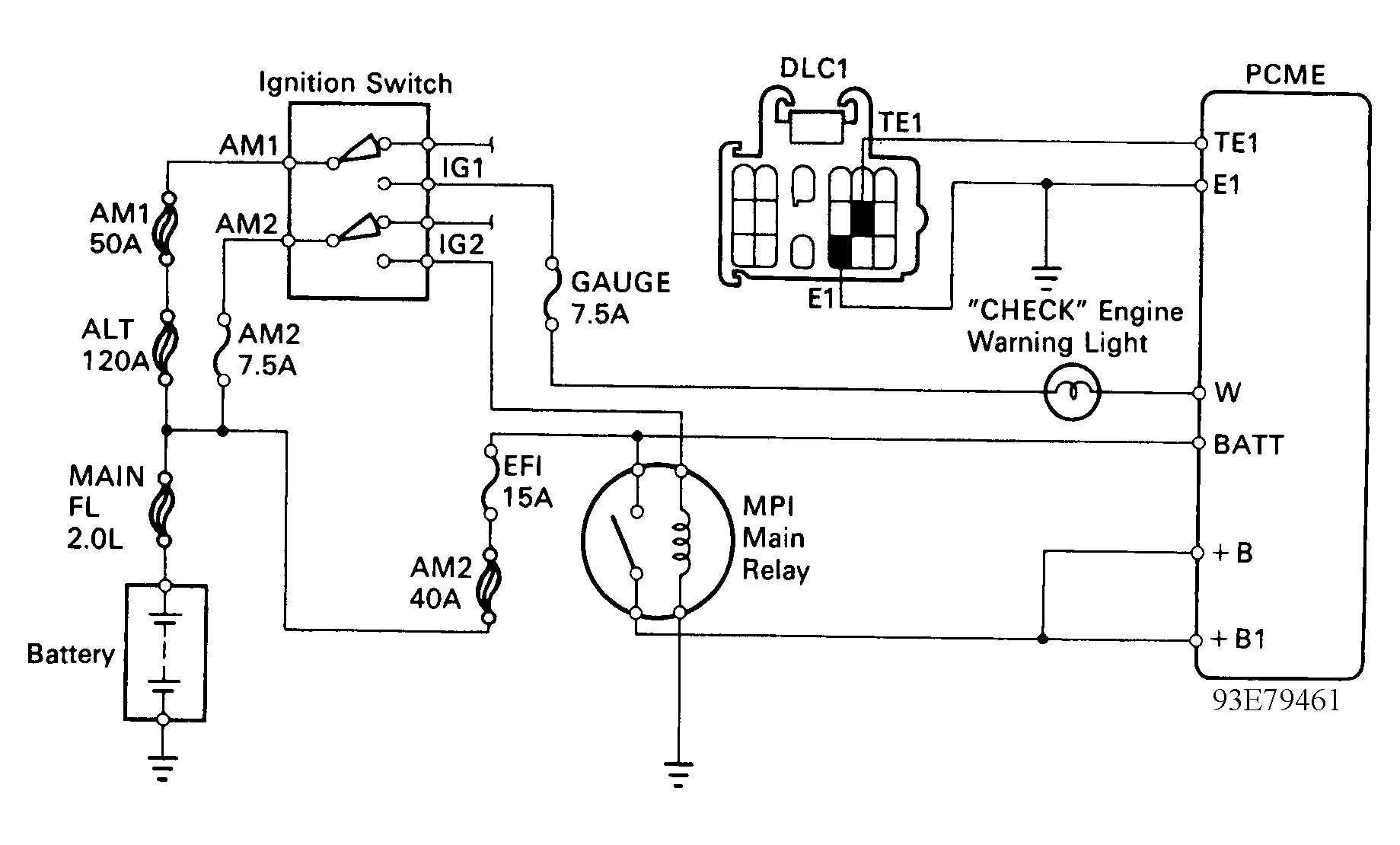
Fig 1: Diagnostic Circuit Check - Schematic
G93E79461Courtesy of © TOYOTA, LICENSE AGREEMENT TMS1002
Fig 2: Diagnostic Circuit Check - Diagnostic Flowchart
G93F79462Courtesy of © TOYOTA, LICENSE AGREEMENT TMS1002