LEMON Manuals: Even more car manuals for everyone: 1960-2025
Home >> Toyota >> 1994 >> Tercel Base >> Repair and Diagnosis >> Electrical >> Starter >> On-Vehicle Testing >> Park/Neutral Switch >> Notes
April 5, 2026: LEMON Manuals is launched! Read the announcement.

Park/Neutral Switch: Notes

NOTE: If vehicle will not start with shift lever in Park/Neutral position, verify correct park/neutral switch adjustment. If park/neutral switch is correctly adjusted, verify switch continuity.
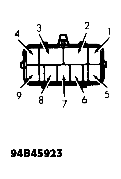
PARK/NEUTRAL SWITCH CONTINUITY SPECIFICATIONS

Gearshift Position Continuity Between Terminals
Park 2 & 3, 1 & 6
Reverse 5 & 6
Neutral 2 & 3, 6 & 7
Drive 6 & 8
2 6 & 9
Low 6 & 4
Fig 1: Identifying Park/Neutral Switch Terminals
G94B45923Courtesy of © TOYOTA, LICENSE AGREEMENT TMS1002