LEMON Manuals: Even more car manuals for everyone: 1960-2025
Home >> Toyota >> 1996 >> Corolla Base, Automatic >> Repair and Diagnosis >> External Pages >> Different variant/trim >> Section 2 (Engine Control System Tests W/Codes - 1.8L) >> Circuit Tests >> DTC P0340 - Camshaft Position (CMP) Sensor Circuit >> Diagnosis & Repair
April 5, 2026: LEMON Manuals is launched! Read the announcement.

Diagnosis & Repair

WARNING: This page is about a different variant/trim than selected.
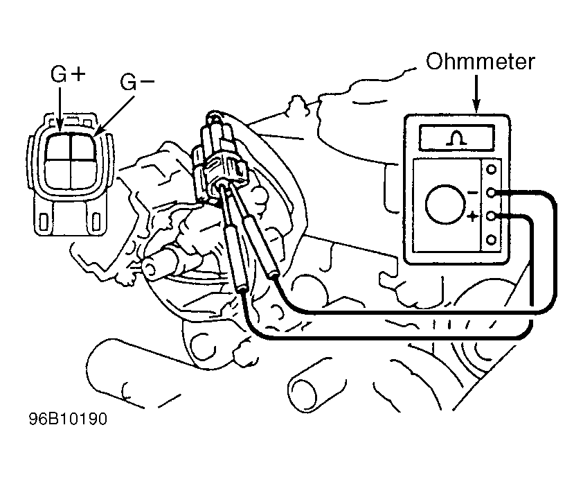
  1. Disconnect CMP sensor connector. Measure resistance between terminals G+ and G- at sensor connector. See Fig 1. Resistance should be 185-275 ohms (cold sensor) or 240-325 ohms (hot sensor).
  2. If resistance is not as specified, replace sensor. If resistance is as specified, inspect circuits between ECM and CMP sensor for open or short. See appropriate wiring diagram in WIRING DIAGRAMS article. Repair as necessary.
  3. If both circuits are okay, inspect sensor installation. Repair as necessary. If installation is okay, replace ECM and retest.
Fig 1: Testing Camshaft Position (CMP) Sensor
G96B10190Courtesy of © TOYOTA, LICENSE AGREEMENT TMS1002