LEMON Manuals: Even more car manuals for everyone: 1960-2025
Home >> Toyota >> 1996 >> RAV4 2D Utility, AWD >> Repair and Diagnosis >> Accessories & Equipment >> Cruise Control Systems >> Circuit Testing >> Test 4, Speed Sensor Circuit
April 5, 2026: LEMON Manuals is launched! Read the announcement.

Test 4, Speed Sensor Circuit

  1. Perform VEHICLE SPEED SENSOR test under CRUISE CONTROL CIRCUIT FUNCTION TEST  under TROUBLE SHOOTING. If speed sensor input signals are as specified, go to test for next trouble code displayed or appropriate TROUBLE SHOOTING BY SYMPTOM. If input signals are not as specified, go to next step.
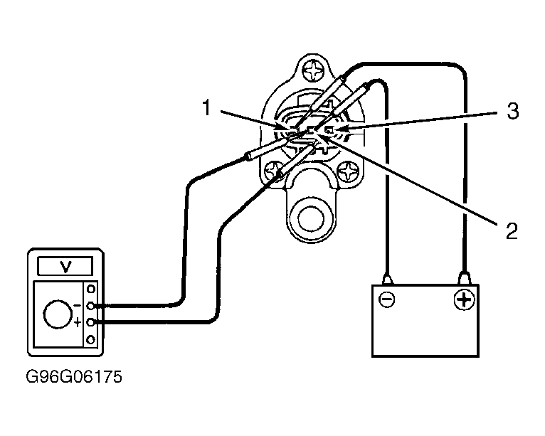
  2. Remove vehicle speed sensor. See Figure. Connect positive battery lead to speed sensor terminal No. 1 (Red/Blue wire) and negative battery lead to terminal No. 2 (Blue/Black wire). Connect voltmeter positive lead to terminal No. 3 (Red/Yellow wire) and negative lead to terminal No. 2 (Blue/Black wire). See Fig 1. Rotate shaft and ensure voltage changes from 0-11 volts 4 times per shaft revolution. Replace speed sensor, wiring harness, connector as necessary. If sensor is okay, go to next step.
  3. Check harness and connectors between CC ECU, speed sensor and instrument cluster. Repair or replace as necessary. Check for loose connections. If connections are okay, replace CC ECU and retest system.
Fig 1: Testing Vehicle Speed Sensor
G96G06175Courtesy of © TOYOTA, LICENSE AGREEMENT TMS1002