LEMON Manuals: Even more car manuals for everyone: 1960-2025
Home >> Toyota >> 1996 >> Tercel Base, Standard >> Repair and Diagnosis (Single Page) >> Engine Performance >> System >> Engine Controls - System/Component Tests >> Idle Control System >> Idle Air Control (IAC) Valve
April 5, 2026: LEMON Manuals is launched! Read the announcement.

Idle Air Control (IAC) Valve

  1. Warm engine to normal operating temperature. Ensure idle speed is within specification. See IDLE SPEED & MIXTURE in ADJUSTMENTS article.
  2. Apply parking brake and place transmission/transaxle in Neutral. Install Jumper Wire (SST 09843-18020) between terminals TE1 and E1 of data link connector No. 1. See Fig 1. Start engine and note RPM.
    NOTE: Data link connector No. 1 is located in engine compartment.
  3. On Previa, engine RPM should increase to specified engine RPM for 5 seconds and then decrease approximately 200 RPM. See IAC VALVE ENGINE SPEED TESTING SPECIFICATIONS  table.
  4. On all other models, engine RPM should increase to specified RPM for 5 seconds, and then return to idle. See IAC VALVE ENGINE SPEED TESTING SPECIFICATIONS  table.
    IAC VALVE ENGINE SPEED TESTING SPECIFICATIONS

    Application Engine RPM
    Tercel 900-1300
  5. On all models, if engine RPM is not as specified, test IAC valve resistance and operation. If engine RPM is within specification, remove jumper wire. Turn ignition off.
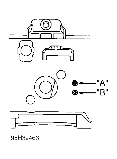
  6. To test IAC valve resistance, ensure ignition is off. Disconnect electrical connector from IAC valve, located on lower area of throttle body. Using ohmmeter, check resistance between terminal +B and each remaining terminal. See Fig 2.
  7. Replace IAC valve if resistance is not within specification. See IAC VALVE RESISTANCE SPECIFICATIONS  table.
    IAC VALVE RESISTANCE SPECIFICATIONS

    Application Ohms
    Cold (1) 17.0-24.5
    Hot (2) 21.5-28.5
    (1) Cold is with temperature of 14-122°F (-10 - 50°C).
    (2) Hot is with temperature of 122-212°F (50-100°C).
  8. To test IAC valve operation, remove IAC valve from throttle body. Apply battery voltage to +B terminal on IAC valve. Apply battery ground to proper terminal and ensure valve opens and closes. See Figure. Replace IAC valve if defective.
  9. If IAC valve resistance is within specification and operates correctly, check wiring circuit between Engine Control Module (ECM) and IAC valve. See ECM LOCATION  table. See appropriate wiring diagram in WIRING DIAGRAMS article.
ECM LOCATION

Model Location
Tercel Behind Glove Box
Fig 1: Installing Jumper Wire In Data Link Connector No. 1
G95D33699Courtesy of © TOYOTA, LICENSE AGREEMENT TMS1002
Fig 2: Testing Typical IAC Valve Resistance
G95C33706Courtesy of © TOYOTA, LICENSE AGREEMENT TMS1002