LEMON Manuals: Even more car manuals for everyone: 1960-2025
Home >> Toyota >> 2001 >> 4Runner Base >> Repair and Diagnosis >> External Pages >> Different car >> Section 327 (Power Seat Control System) >> Power Seat Control System >> Inspection
April 5, 2026: LEMON Manuals is launched! Read the announcement.

Power Seat Control System: Inspection

WARNING: This page is about a different car, the 2002 Toyota 4Runner. However, it is still accessible from the selected car via links, so may be relevant.
  1. Inspect driver's seat switch continuity  :
    Fig 1: Identifying Driver's Switch Movements & Terminals
    G01909015Courtesy of © TOYOTA, LICENSE AGREEMENT TMS1002
    Fig 2: Slide Driver's Switch Specifications
    G01909012Courtesy of © TOYOTA, LICENSE AGREEMENT TMS1002
    Fig 3: Rear Driver's Vertical Switch Specifications
    G01909013Courtesy of © TOYOTA, LICENSE AGREEMENT TMS1002
    Fig 4: Reclining Driver's Switch Specifications
    G01909014Courtesy of © TOYOTA, LICENSE AGREEMENT TMS1002

    If the continuity is not as specified, replace the switch.

  2. Inspect passenger's seat switch continuity  :
    Fig 5: Identifying Passenger's Seat Switch Positions & Terminals
    G01909018Courtesy of © TOYOTA, LICENSE AGREEMENT TMS1002
    Fig 6: Passenger's Seat Slide Switch Specifications
    G01909016Courtesy of © TOYOTA, LICENSE AGREEMENT TMS1002
    Fig 7: Passenger's Seat Reclining Switch Specifications
    G01909017Courtesy of © TOYOTA, LICENSE AGREEMENT TMS1002

    If the continuity is not as specified, replace the switch.

  3. Inspect lumbar support switch continuity  :
    Fig 8: Identifying Lumbar Support Switch Positions & Terminals
    G01909020Courtesy of © TOYOTA, LICENSE AGREEMENT TMS1002
    Fig 9: Lumbar Support Switch Specifications
    G01909019Courtesy of © TOYOTA, LICENSE AGREEMENT TMS1002

    If the continuity is not as specified, replace the switch.

  4. Inspect seat slide motor operation  :
    1. Connect the positive (+) lead from the battery to terminal 2 and the negative (-) lead to terminal 1, check that the motor turns counterclockwise.
      Fig 10: Testing Seat Slide Motor
      G01909021Courtesy of © TOYOTA, LICENSE AGREEMENT TMS1002
    2. Reverse the polarity, check that the motor turns clockwise.

      If the operation is not as specified, replace the motor.

  5. Inspect driver's seat slide motor PTC thermistor operation  :
    1. Connect the positive (+) lead from the battery to terminal 2, the positive (+) lead from the ammeter to terminal 1, and the negative (-) lead to battery negative (-) terminal, and move the seat front end position.
      Fig 11: Testing Driver's Seat Slide Motor (1 Of 2)
      G01909022Courtesy of © TOYOTA, LICENSE AGREEMENT TMS1002
    2. Continue to apply voltage, check the current changes to less than 1 ampere within 4 to 90 seconds.
    3. Disconnect the lead from the terminals.
    4. Approximately 60 seconds later, connect the positive (+) lead from battery to terminal 1 and the negative (-) lead to terminal 2, then check that the seat begins to move backwards.
      Fig 12: Testing Driver's Seat Slide Motor (2 Of 2)
      G01909023Courtesy of © TOYOTA, LICENSE AGREEMENT TMS1002

      If operation is not as specified, replace the motor.

  6. Inspect passenger's seat slide motor PTC thermistor operation  :
    1. Connect the positive (+) lead from the battery to terminal 1, the positive (+) lead from the ammeter to terminal 2, and the negative (-) lead to battery negative (-) terminal, and move the seat to the front end position.
      Fig 13: Testing Passenger's Seat Slide Motor (1 Of 2)
      G01909024Courtesy of © TOYOTA, LICENSE AGREEMENT TMS1002
    2. Continue to apply voltage, check the current changes to less than 1 ampere within 4 to 90 seconds.
    3. Disconnect the lead from terminals.
    4. Approximately 60 seconds later, connect the positive (+) lead from the battery to terminal 2 and the negative (-) lead to terminal 1, then check that the seat begins to move backwards.
      Fig 14: Testing Passenger's Seat Slide Motor (2 Of 2)
      G01909025Courtesy of © TOYOTA, LICENSE AGREEMENT TMS1002

      If the operation is not as specified, replace the motor.

  7. Inspect rear vertical motor operation  :
    1. Connect the positive (+) lead from the battery to terminal 2 and the negative (-) lead to terminal 1, then check that the motor turns clockwise.
      Fig 15: Testing Rear Vertical Motor
      G01909026Courtesy of © TOYOTA, LICENSE AGREEMENT TMS1002
    2. Reverse the polarity, then check that the motor turns counterclockwise.

      If the operation is not as specified, replace the motor.

  8. Inspect rear vertical motor PTC thermistor operation  :
    1. Connect the positive (+) lead from the battery to terminal 2, the positive (+) lead from the ammeter to terminal 1 and the negative (-) lead to battery negative (-) terminal, and move the rear edge of the seat cushion to the highest position.
      Fig 16: Testing Rear Vertical Motor (1 Of 2)
      G01909027Courtesy of © TOYOTA, LICENSE AGREEMENT TMS1002
    2. Continue to apply voltage, check the current changes to less than 1 ampere within 4 to 90 seconds.
    3. Disconnect the leads from the terminals.
    4. Approximately 60 seconds later, connect the positive (+) lead from battery to terminal 1 and the negative (-) lead to terminal 2, then check that the seat cushion begins to descend.
      Fig 17: Testing Rear Vertical Motor (2 Of 2)
      G01909028Courtesy of © TOYOTA, LICENSE AGREEMENT TMS1002

      If the operation is not as specified, replace the motor.

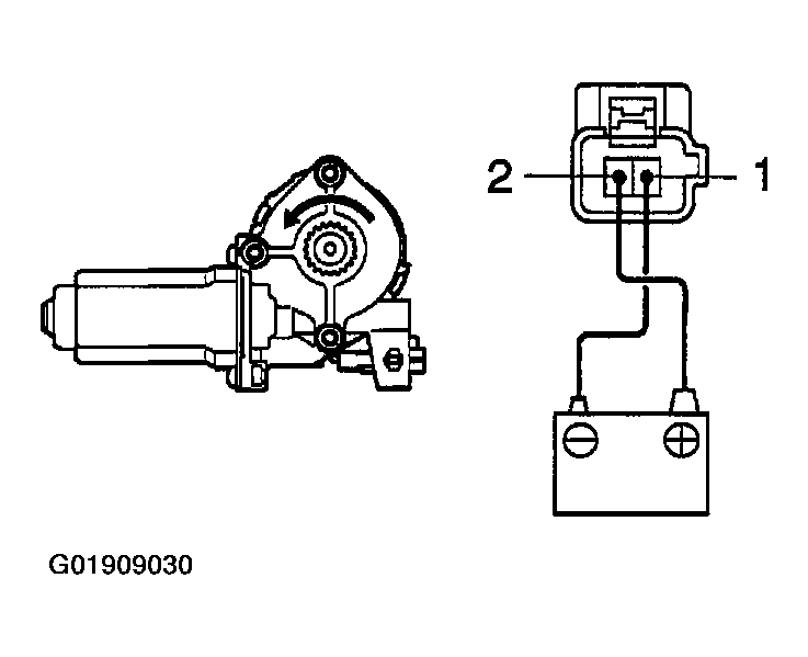
  9. Inspect driver's seat reclining motor operation  :
    1. Connect the positive (+) lead from the battery to terminal 1 and the negative (-) lead to terminal 2, and check that the motor turns clockwise.
      Fig 18: Testing Driver's Seat Reclining Motor (1 Of 2)
      G01909029Courtesy of © TOYOTA, LICENSE AGREEMENT TMS1002
    2. Reverse the polarity, check that the motor turns counterclockwise.
      Fig 19: Testing Driver's Seat Reclining Motor (2 Of 2)
      G01909030Courtesy of © TOYOTA, LICENSE AGREEMENT TMS1002

      If the operation is not as specified, replace the motor.

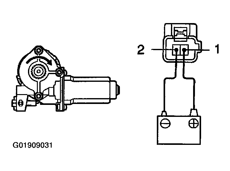
  10. Inspect passenger's reclining motor operation  :
    1. Connect the positive (+) lead from the battery to terminal 1 and the negative (-) lead to terminal 2, and check that the motor turns clockwise.
      Fig 20: Testing Passenger's Reclining Motor (1 Of 2)
      G01909031Courtesy of © TOYOTA, LICENSE AGREEMENT TMS1002
    2. Reverse the polarity, check that the motor turns counterclockwise.
      Fig 21: Testing Passenger's Reclining Motor (2 Of 2)
      G01909032Courtesy of © TOYOTA, LICENSE AGREEMENT TMS1002

      If the operation is not as specified, replace the motor.

  11. Inspect driver's seat reclining motor PTC thermistor operation  :
    1. Connect the positive (+) lead from the battery to terminal 1, the positive (+) lead from the ammeter to terminal 2, and the negative (-) lead to battery negative (-) terminal, and recline the seat back to the most forward position.
      Fig 22: Testing Driver's Seat Reclining Motor (1 Of 2)
      G01909033Courtesy of © TOYOTA, LICENSE AGREEMENT TMS1002
    2. Continue to apply voltage, check the current changes to less than 1 ampere within 4 to 90 seconds.
    3. Disconnect the lead from the terminals.
    4. Approximately 60 seconds later, connect the positive (+) lead from the battery to terminal 2 and the negative (-) lead to terminal 1, check that the seat back starts to fall backwards.
      Fig 23: Testing Driver's Seat Reclining Motor (2 Of 2)
      G01909034Courtesy of © TOYOTA, LICENSE AGREEMENT TMS1002

      If the operation is not as specified, replace the motor.

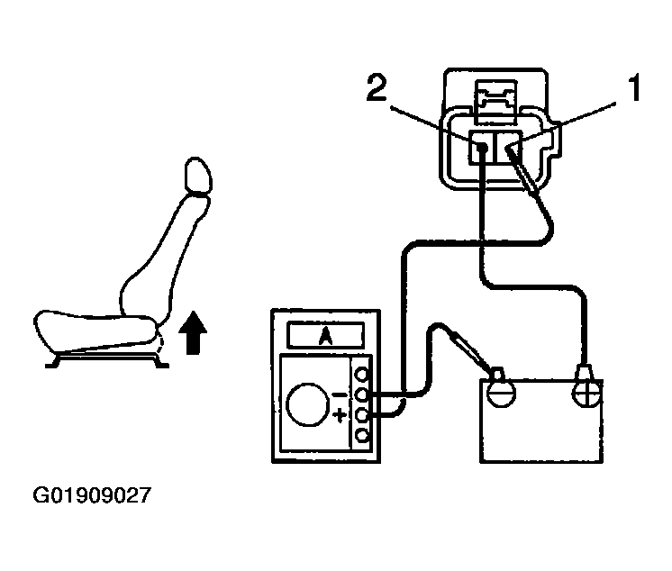
  12. Inspect passenger's seat reclining motor PTC thermistor operation  :
    1. Connect the positive (+) lead from the battery to terminal 2, the positive (+) lead from the ammeter to terminal 1, and the negative (-) lead to battery negative (-) terminal, and recline the seat back to the most forward position.
      Fig 24: Testing Passenger's Seat Reclining Motor (1 Of 2)
      G01909035Courtesy of © TOYOTA, LICENSE AGREEMENT TMS1002
    2. Continue to apply voltage, check the current changes to less than 1 ampere within 4 to 90 seconds.
    3. Disconnect the lead from terminals.
    4. Approximately 60 seconds later, connect the positive (+) lead from the battery to terminal 1 and the negative (-) lead to terminal 2, check that the seat back starts to fall backwards.
      Fig 25: Testing Passenger's Seat Reclining Motor (2 Of 2)
      G01909036Courtesy of © TOYOTA, LICENSE AGREEMENT TMS1002

      If the operation is not as specified, replace the motor.

  13. Inspect lumbar support motor operation  :
    1. Connect the positive (+) lead from the battery to terminal 1 and the negative (-) lead to terminal 2, check that the lumbar support moves to release side.
      Fig 26: Testing Lumbar Support Motor (1 Of 2)
      G01909037Courtesy of © TOYOTA, LICENSE AGREEMENT TMS1002
    2. Reverse the polarity, check that the lumbar support moves forward.
      Fig 27: Testing Lumbar Support Motor (2 Of 2)
      G01909038Courtesy of © TOYOTA, LICENSE AGREEMENT TMS1002

      If the operation is not as specified, replace the motor.

  14. Inspect lumber support motor circuit breaker operation  :
    1. Connect the positive (+) lead from the battery to terminal 2, the positive (+) lead from the ammeter to terminal 1, and the negative (-) lead to terminal 1 on the lumbar support motor connector and move the lumbar support to front end position.
      Fig 28: Lumber Support Motor Circuit Breaker (1 Of 2)
      G01909039Courtesy of © TOYOTA, LICENSE AGREEMENT TMS1002
    2. Continue to apply voltage, check that there is a circuit breaker operation noise within 4 to 60 seconds.
    3. Reverse the polarity, check that the lumbar support begins to move to the release side within approximately 60 seconds.
      Fig 29: Lumber Support Motor Circuit Breaker (2 Of 2)
      G01909040Courtesy of © TOYOTA, LICENSE AGREEMENT TMS1002

      If the operation is not as specified, replace the motor.