LEMON Manuals: Even more car manuals for everyone: 1960-2025
Home >> Toyota >> 2001 >> Prius >> Repair and Diagnosis >> Body & Frame >> Body, Cab Control Systems >> Body Control Systems >> Component Tests >> Headlight Relay
April 5, 2026: LEMON Manuals is launched! Read the announcement.

Headlight Relay

NOTE: Headlight relay may also be referred to as head relay or headlight control relay.
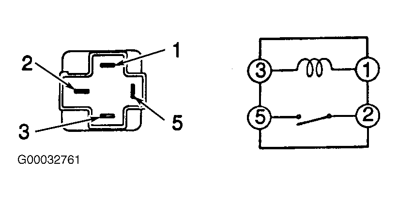
  1. Ensure ignition is off. Remove headlight relay. Headlight relay is located in fuse/relay box at driver's side front corner of engine compartment. See Figure.
  2. Note identification of electrical terminals on headlight relay. See Figure. Using ohmmeter, check that no continuity exists between terminals No. 2 and 5 on headlight relay. Check that continuity exists between terminals No. 1 and 3 on headlight relay.
  3. Using jumper wires, apply battery voltage and ground to terminals No. 1 and 3 on headlight relay. Check that continuity now exists between terminals No. 2 and 5 on headlight relay. See Figure. Replace headlight relay if defective.