LEMON Manuals: Even more car manuals for everyone: 1960-2025
Home >> Toyota >> 2001 >> Prius >> Repair and Diagnosis >> Body & Frame >> Body, Cab Control Systems >> Body Control Systems >> Component Tests >> Taillight Relay
April 5, 2026: LEMON Manuals is launched! Read the announcement.

Taillight Relay

NOTE: Taillight relay may also be referred to as tail relay or taillight control relay.
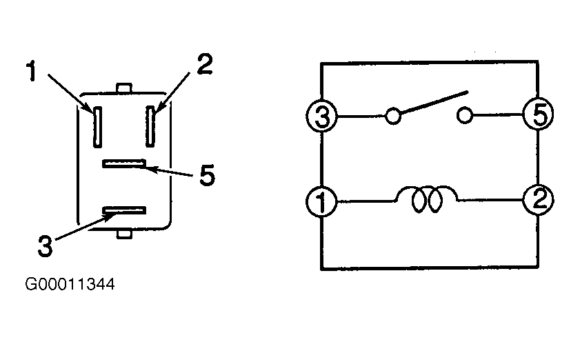
  1. Ensure ignition is off. Remove taillight relay. Taillight relay is located in fuse/relay box at driver's side of instrument panel. See Figure.
  2. Note identification of electrical terminals on taillight relay. See Fig 1. Using ohmmeter, check that no continuity exists between terminals No. 3 and 5 on taillight relay. Check that continuity exists between terminals No. 1 and 2 on taillight relay.
  3. Using jumper wires, apply battery voltage and ground to terminals No. 1 and 2 on taillight relay. Check that continuity now exists between terminals No. 3 and 5 on taillight relay. See Fig 1. Replace taillight relay if defective.
    Fig 1: Identifying Electrical Terminals On Taillight Relay
    G00011344Courtesy of © TOYOTA, LICENSE AGREEMENT TMS1002