LEMON Manuals: Even more car manuals for everyone: 1960-2025
Home >> Toyota >> 2001 >> Sienna LE >> Repair and Diagnosis >> Body & Frame >> Body, Cab Control Systems >> Body Control Systems >> Component Tests >> Daytime Running Light Relay
April 5, 2026: LEMON Manuals is launched! Read the announcement.

Daytime Running Light Relay

NOTE: Daytime running light relay may also be referred to as DRL relay.
  1. Ensure ignition is off. Remove daytime running light relay. Daytime running light relay is located in fuse/relay box at front of engine compartment, just behind the grille. See Figure.
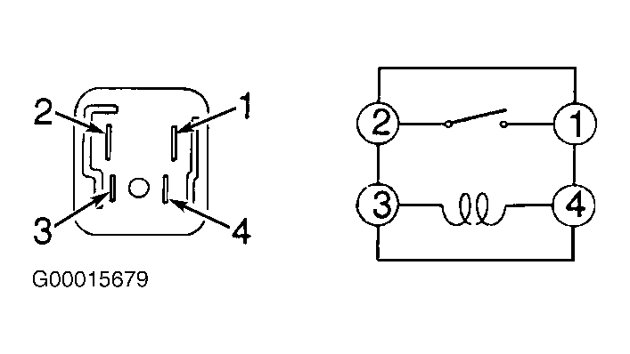
  2. Note identification of electrical terminals on daytime running light relay. See Fig 1. Using ohmmeter, check that no continuity exists between terminals No. 1 and 2 on daytime running light relay. Check that continuity exists between terminals No. 3 and 4 on daytime running light relay.
  3. Using jumper wires, apply battery voltage and ground to terminals No. 3 and 4 on daytime running light relay. Check that continuity now exists between terminals No. 1 and 2 on daytime running light relay. See Fig 1. Replace daytime running light relay if defective.
    Fig 1: Identifying Electrical Terminals On Daytime Running Light Relay
    G00015679Courtesy of © TOYOTA, LICENSE AGREEMENT TMS1002