LEMON Manuals: Even more car manuals for everyone: 1960-2025
Home >> Toyota >> 2002 >> 4Runner Base >> Repair and Diagnosis (Single Page) >> Body & Frame >> Windows >> Power Window Control System >> Back Door Power Window Control System >> Inspection
April 5, 2026: LEMON Manuals is launched! Read the announcement.

Back Door Power Window Control System: Inspection

  1. Inspect back door power window switch continuity  .
    Fig 1: Identifying Back Door Power Window Switch Terminals & Switch Positions
    G01908941Courtesy of © TOYOTA, LICENSE AGREEMENT TMS1002
    Fig 2: Back Door Power Window Switch Specifications Chart
    G01908940Courtesy of © TOYOTA, LICENSE AGREEMENT TMS1002

    If the continuity is not as specified, replace the switch.

  2. Inspect Back Door Control Switch Continuity 
    Fig 3: Testing Back Door Control Switch
    G01908943Courtesy of © TOYOTA, LICENSE AGREEMENT TMS1002
    Fig 4: Back Door Control Switch Specifications Chart
    G01908942Courtesy of © TOYOTA, LICENSE AGREEMENT TMS1002

    If the continuity is not as specified, replace the switch.

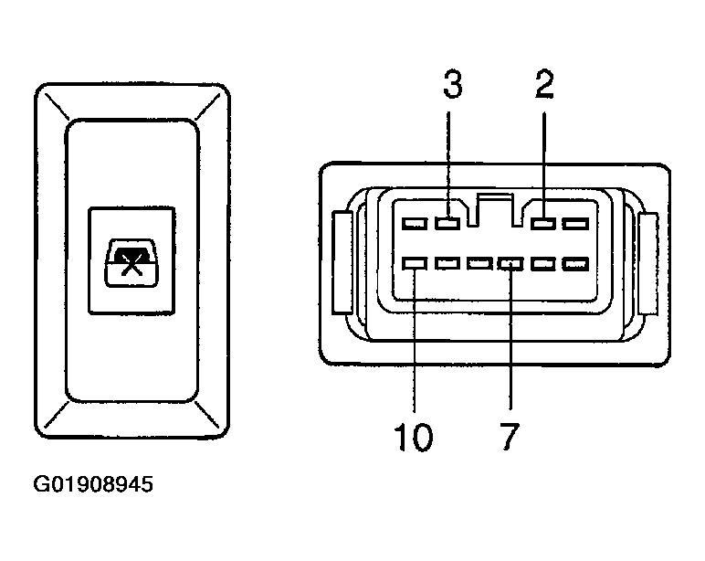
  3. W/O Power Window, inspect back door window lock switch continuity  .
    Fig 5: Identifying Back Door Power Window Lock Switch Terminals & Switch Positions (W/O Power Window)
    G01908945Courtesy of © TOYOTA, LICENSE AGREEMENT TMS1002
    Fig 6: Back Door Window Lock Switch Specifications Chart (W/O Power Window)
    G01908944Courtesy of © TOYOTA, LICENSE AGREEMENT TMS1002

    If the continuity is not as specified, replace the switch.

  4. Inspect window limit switch continuity  .
    Fig 7: Testing Window Limit Switch
    G01908947Courtesy of © TOYOTA, LICENSE AGREEMENT TMS1002
    Fig 8: Window Limit Switch Specifications Chart
    G01908946Courtesy of © TOYOTA, LICENSE AGREEMENT TMS1002

    If the continuity is not as specified, replace the switch.

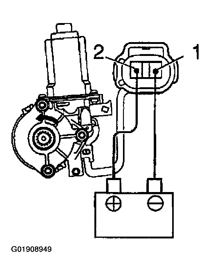
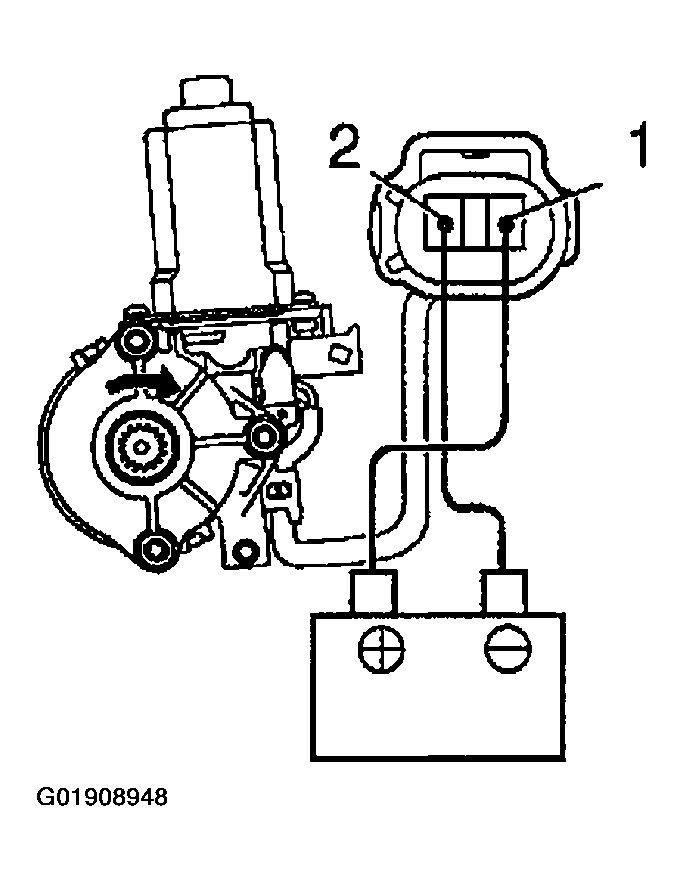
  5. Inspect back door power window motor operation  .
    1. Connect the positive (+) lead from the battery to terminal 1 and the negative (-) lead to terminal 2, and check that the motor turns clockwise.
      Fig 9: Testing Back Door Power Window Motor
      G01908949Courtesy of © TOYOTA, LICENSE AGREEMENT TMS1002
      Fig 10: Back Door Power Window Motor Specifications Chart
      G01908948Courtesy of © TOYOTA, LICENSE AGREEMENT TMS1002
    2. Connect the positive (+) lead from the battery to terminal 2 and the negative (-) lead to terminal 1, and check that the motor turns counterclockwise.

      If the operation is not as specified, replace the motor.