LEMON Manuals: Even more car manuals for everyone: 1960-2025
Home >> Toyota >> 2002 >> Camry LE, 3.0 F >> Repair and Diagnosis >> Body & Frame >> Windows >> Power Window Control System >> Windshield Glass >> Replacement
April 5, 2026: LEMON Manuals is launched! Read the announcement.

Windshield Glass: Replacement

  1. Remove FR wiper arm RH. See step under REPLACEMENT .
  2. Remove FR wiper arm LH. See step under REPLACEMENT .
  3. Remove cowl top ventilator louver sub-assembly. See step under REPLACEMENT .
  4. Remove front door opening trim weatherstrip RH.
  5. Remove front door opening trim weatherstrip LH.
  6. Remove front pillar garnish RH (w/o curtain shield air bag).
  7. Remove front pillar garnish LH (w/o curtain shield air bag).
  8. Remove front pillar garnish RH (w/ curtain shield air bag).
  9. Remove front pillar garnish LH (w/ curtain shield air bag).
  10. Remove roof console box assembly.
  11. Remove RH visor assembly.
  12. Remove LH visor assembly.
  13. Remove visor holder.
  14. Remove roof headlining assembly.
  15. Remove inner rear view mirror assembly. See REPLACEMENT .
  16. Remove outer upper windshield molding.
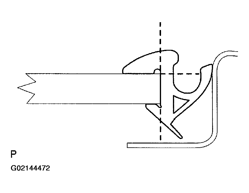
    1. Using a knife, cut off the molding as shown in Fig 1.
      Fig 1: Cutting Off Windshield Molding
      G02144472Courtesy of © TOYOTA, LICENSE AGREEMENT TMS1002
      CAUTION: Do not damage the body with the knife.
    2. Remove the remaining molding.
      NOTE: When removing, make a cut partly, pull and remove it by hand.
  17. Remove windshield glass.
    NOTE: There is a case where a 1-piece type and a 2-piece type of stoppers are installed in a vehicle type.
    Fig 2: Displaying 1-Piece & 2-Piece Type Stoppers
    G02144473Courtesy of © TOYOTA, LICENSE AGREEMENT TMS1002
    1. Push a piano wire through between the body and glass from the interior.
    2. Apply protective tape to the outer surface to keep the surface from being scratched.
    3. Tie both wire ends to wooden blocks or similar objects.
      CAUTION:
      • When separating the glass, take care not to damage the paint and interior/exterior ornaments.
      • To prevent the piano wire to be cut, do not cross it.
    4. Cut the adhesive by pulling the piano wire around it.
      Fig 3: Cutting Adhesive With Piano Wire
      G02144474Courtesy of © TOYOTA, LICENSE AGREEMENT TMS1002
    5. Using a suction rubber, remove the glass.
      NOTE: Leave as much adhesive on the body as possible when cutting off the glass.
  18. Clean windshield glass.
    1. Using a scraper, remove the damaged stoppers, dam and adhesive sticking to the glass.
      Fig 4: Cleaning Adhesive Off Of Windshield
      G02144475Courtesy of © TOYOTA, LICENSE AGREEMENT TMS1002
    2. Clean the outer circumference of the glass with white gasoline.
      CAUTION:
      • Do not touch the glass after cleaning it.
      • Be careful not to damage the body.
  19. Install windshield glass stopper No. 1.
    1. Install the 2 new windshield glass stoppers No. 1 to the body.
  20. Install windshield glass stopper No. 2.
    1. Coat the installation part of the stopper with Primer G.
      NOTE:
      • Dry the primer coating dry for 3 minutes or more.
      • Do not apply too much primer.
    2. Install the 2 new windshield glass stoppers No. 2 onto the glass as shown in Fig 5.
      Fig 5: Installing New Windshield
      G02144476Courtesy of © TOYOTA, LICENSE AGREEMENT TMS1002

      A: 7.7 mm (0.30 in.) 

      B: 40 mm (1.57 in.) 

  21. Install windshield glass retainer.
    1. Install 2 new windshield glass retainers onto the glass as shown in Fig 6.
      Fig 6: Installing Windshield Glass Retainer
      G02144477Courtesy of © TOYOTA, LICENSE AGREEMENT TMS1002
  22. Install window glass adhesive dam.
    1. Coat the installation part of the window glass adhesive dam with Primer G.
      NOTE:
      • Let the primer coating dry for 3 minutes or more.
      • Do not apply too much primer.
    2. Install a new window glass adhesive dam as shown in Fig 7.
      Fig 7: Installing Glass Adhesive Dam
      G02144478Courtesy of © TOYOTA, LICENSE AGREEMENT TMS1002

      a: 7 mm (0.28 in.) 

      b: 35 mm (1.38 in.) 

  23. Install windshield glass.
    1. Clean and shape the contact surface of the vehicle's body.
      1. Using a knife, cut away any rough areas of the body.
        Fig 8: Reshaping Adhesive
        G02144479Courtesy of © TOYOTA, LICENSE AGREEMENT TMS1002
        NOTE: Leave as much adhesive on the body as possible.
      2. Clean the cut surface of the adhesive with a piece of shop rag saturated in cleaner.
    2. Position the glass.
      1. Using a suction rubber, place the glass in the correct position.
      2. Check that all the contacting parts of the glass rim are perfectly even.
      3. Place reference marks between the glass and body.
        NOTE: Check that the stoppers are attached to the body correctly.
        When reusing the glass, check and correct the reference mark's positions.
      4. Remove the glass.
    3. Coat the contact surface of the back door with Primer M.
    4. Using a brush, coat the exposed part of the contact surface on the vehicle side with Primer M.
      NOTE:
      • Dry the primer coating for 3 minutes or more.
      • Do not coat the adhesive with Primer M.
      • Do not apply too much Primer.
    5. Coat the contact surface of the glass with Primer G.
      1. Using a brush or sponge, coat the edge of the glass and the contact surface with Primer G.
      NOTE:
      • Dry the primer coating for 3 minutes or more.
      • Do not apply too much primer.
    6. Apply adhesive.
      Fig 9: Applying Adhesive To Windshield
      G02144480Courtesy of © TOYOTA, LICENSE AGREEMENT TMS1002
      1. Cut off the tip of the cartridge nozzle as shown in Fig 9.
      2. Load the sealer gun with the cartridge.
      3. Coat the glass with adhesive, as shown in Fig 9.

        a: 8 mm (0.31 in.) 

        b: 12 mm (0.47 in.) 

    7. Install the glass.
      1. Using a suction rubber, position the glass so that the reference marks are alined, and press it in gently along the rim.
        NOTE:

        - Dry the primer coating for 3 minutes or more.

        - Check that the stoppers are attached to the body correctly.

        - Check the clearance between the body and glass.

      2. Lightly press the glass front surface for close contact.
      3. Using a scraper remove any excess or protruding adhesive.
    NOTE: Apply adhesive on the glass rim.
  24. Install windshield molding outer upper.
    1. Install a new windshield molding to the windshield glass before the adhesive has hardened.
    2. Hold the windshield glass in place securely with protective tape or equivalent until the adhesive has completely hardened.
    3. Using a scraper, remove any excess or protruding adhesive before the adhesive has hardened.
    NOTE: Follow the manufacture's instruction about the minimum drying time, driving endurance time and etc. for the adhesive.
  25. Water-leak check and repair.
    1. Conduct a leak test after the adhesive has completely hardened.
    2. Seal any leak with sealant.