LEMON Manuals: Even more car manuals for everyone: 1960-2025
Home >> Toyota >> 2002 >> RAV4 Base, AWD, Automatic >> Repair and Diagnosis >> Engine Performance >> System >> Engine Control System & Component Testing - 4-Cylinder >> Idle Control Systems >> Idle Air Control Valve >> Celica & ECHO
April 5, 2026: LEMON Manuals is launched! Read the announcement.

Celica & ECHO

  1. Start engine and warm engine to normal operating temperature. Ensure idle speed is within specification. See IDLE SPEED & MIXTURE in ON-VEHICLE ADJUSTMENTS - 4-CYLINDER article.
  2. Turn ignition off. Apply parking brake and place transaxle in Neutral. Ensure A/C is off. Install Jumper Wire (SST 09843-18020 or SST 09843-18040) between terminals No. 4 (CG) and No. 13 (TC) on data link connector No. 3. See Fig 1. Data link connector No. 3 is located behind driver's side of instrument panel. See Figure and Figure .
  3. Start engine and note engine speed. Engine speed should increase to 900-1300 RPM for 5 seconds and then return to idle speed. If engine speed is as specified, turn ignition off and remove jumper wire. If engine speed is not as specified, turn ignition off and remove jumper wire. Go to next step.
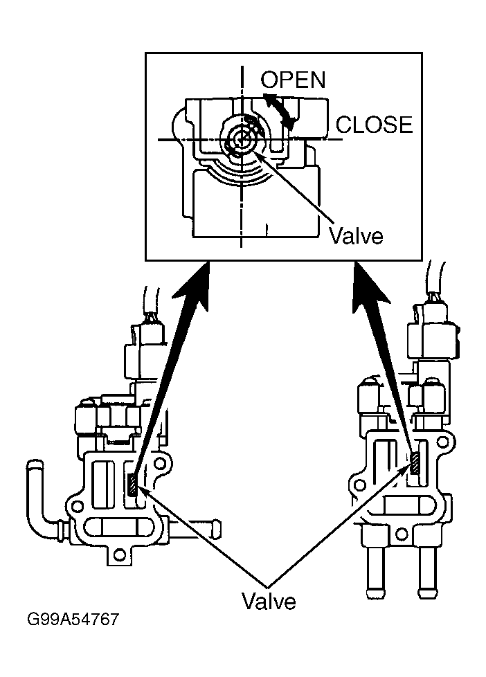
  4. To test Idle Air Control (IAC) valve operation, remove IAC valve from throttle body. See THROTTLE BODY under FUEL SYSTEMS in REMOVAL, OVERHAUL & INSTALLATION - 4-CYLINDER article. Check that valve on inside of IAC valve is half open. See Fig 2 and Fig 3 . Reinstall electrical connector on IAC valve.
  5. Disconnect electrical connector from Engine Coolant Temperature (ECT) sensor. On Celica, ECT sensor is located on flywheel end of cylinder head and contains Gray electrical connector with Green and Brown wires. On ECHO, ECT sensor is located on flywheel end of cylinder head and contains Gray electrical connector with Red/Blue and Brown wires.
  6. On all models, turn ignition on. Check that valve on inside of IAC valve moves. Repeatedly disconnect and reconnect electrical connector for IAC valve several times while checking that valve on inside of IAC valve opens and closes. See Fig 2 and Fig 3 .
  7. Turn ignition off. Reinstall electrical connector on ECT sensor. If IAC valve operates as specified, wiring circuit, Engine Control Module (ECM) and IAC valve are okay. If IAC valve does not operate, check wiring circuit between ECM and IAC valve. On Celica, ECM is located in engine compartment, below cover, just in front of battery, next to driver's side strut tower. On ECHO, ECM is located behind glove box. On all models, for illustration of ECM location, see THEORY & OPERATION article. See WIRING DIAGRAMS article. On all models, if wiring circuit and ECM are okay, replace IAC valve.
    Fig 1: Identifying Terminals On Data Link Connector No. 3 (Celica, ECHO, MR2, RAV4 & Tacoma)
    G99C52821Courtesy of © TOYOTA, LICENSE AGREEMENT TMS1002
    Fig 2: Testing Idle Air Control Valve Operation (Celica)
    G99A54767Courtesy of © TOYOTA, LICENSE AGREEMENT TMS1002
    Fig 3: Testing Idle Air Control Valve Operation (ECHO & MR2 With Standard Type Manual Transaxle)
    G00025343Courtesy of © TOYOTA, LICENSE AGREEMENT TMS1002