LEMON Manuals: Even more car manuals for everyone: 1960-2025
Home >> Toyota >> 2002 >> RAV4 Base, AWD, Standard >> Repair and Diagnosis >> External Pages >> Different car >> Section 286 (Defogger System) >> Defogger System >> Inspection
April 5, 2026: LEMON Manuals is launched! Read the announcement.

Defogger System: Inspection

WARNING: This page is about a different car, the 2002 Toyota Land Cruiser. However, it is still accessible from the selected car via links, so may be relevant.
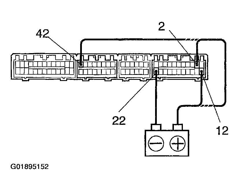
  1. Inspect Defogger Timer Operation 
    • Connect the positive (+) lead from the voltmeter to terminal 2, 12 and 42 of defogger switch connector and negative (-) lead to terminal 22.
      Fig 1: Checking Defogger Timer Operation
      G01895152Courtesy of © TOYOTA, LICENSE AGREEMENT TMS1002
    • When the switch is OFF, the voltage should be approx. 12V.
    • Turn the defogger switch ON and check that the indicator lights up and that the voltage is less than 1 V.
      Fig 2: Displaying Indicator Light
      G01895153Courtesy of © TOYOTA, LICENSE AGREEMENT TMS1002
    • After 15 minutes, check that the switch is OFF and the voltage is approx. 12 V.

    If operation is not as specified, replace the switch.

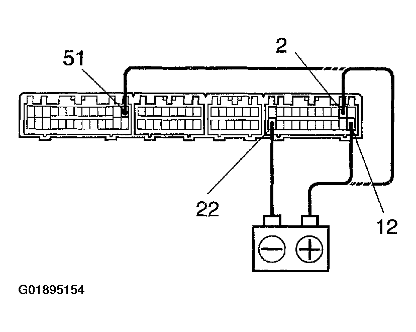
  2. Inspect Mirror Heater Timer Operation 
    • Connect the positive (+) lead from the voltmeter to terminal 2, 12 and 51 of mirror heater switch connector and negative (-) lead to terminal 22.
      Fig 3: Checking Mirror Heater Timer Operation
      G01895154Courtesy of © TOYOTA, LICENSE AGREEMENT TMS1002
    • When the switch is OFF, the voltage should be approx. 12V.
    • Turn the mirror defogger switch ON and check that the indicator lights up and that the voltage is less than 1 V.
    • After 15 minutes, check that the switch is OFF and the voltage is approx. 12 V.

    If operation is not as specified, replace the switch.

  3. Inspect Integration Control Panel Switch Circuit 

    Disconnect the connector from the panel switch and inspect the connector on wire harness side, as shown in Fig 4.

    Fig 4: Displaying Integration Control Panel Switch Connector Terminals
    G01895155Courtesy of © TOYOTA, LICENSE AGREEMENT TMS1002
    Fig 5: Identifying Integration Control Panel Switch Test Results
    G01895156Courtesy of © TOYOTA, LICENSE AGREEMENT TMS1002

    If the circuit is not as specified, replace the switch.

  4. Inspect Defogger Relay Continuity 
    Fig 6: Identifying Defogger Relay Terminals
    G01895158Courtesy of © TOYOTA, LICENSE AGREEMENT TMS1002
    Fig 7: Identifying Defogger Relay Test Results
    G01895157Courtesy of © TOYOTA, LICENSE AGREEMENT TMS1002

    If continuity is not as specified, replace the relay.

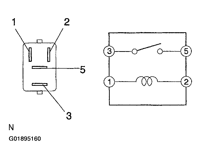
  5. Inspect Mirror Heater Relay Continuity 
    Fig 8: Identifying Mirror Heater Relay Terminals
    G01895160Courtesy of © TOYOTA, LICENSE AGREEMENT TMS1002
    Fig 9: Identifying Mirror Heater Relay Test Results
    G01895159Courtesy of © TOYOTA, LICENSE AGREEMENT TMS1002

    If continuity is not as specified, replace the relay.

  6. Inspect Defogger Wire 
    NOTE:
    • When cleaning the glass, use a soft, dry cloth, and wipe the glass in the direction of the wire. Take care not to damage the wires.
    • Do not use detergents or glass cleaners with abrasive ingredients.
    • When measuring voltage, wrap a piece of tin foil around the tip of the negative probe and press the foil against the wire with your finger, as shown in Fig 10.
      Fig 10: Testing Defogger Wire
      G01895161Courtesy of © TOYOTA, LICENSE AGREEMENT TMS1002
    1. Turn the ignition switch ON.
    2. Turn the defogger switch ON.
    3. Inspect the voltage at the center of each heat wire, as shown in Fig 12.
      Fig 11: Measuring Voltage At Defogger Wire
      G01895163Courtesy of © TOYOTA, LICENSE AGREEMENT TMS1002
      Fig 12: Identifying Defogger Wire Test Results
      G01895162Courtesy of © TOYOTA, LICENSE AGREEMENT TMS1002
      NOTE: If there is approximately 10 V, the wire is broken between the center of the wire and the positive (+) end. If there is no voltage, the wire is broken between the center of the wire and ground.
    4. Place the voltmeter positive (+) lead against the defogger wire on the battery side.
      Fig 13: Checking Defogger Wire For Breaks
      G01895164Courtesy of © TOYOTA, LICENSE AGREEMENT TMS1002
    5. Place the voltmeter negative (-) lead with the foil strip against the wire on the ground side.
    6. Slide the positive (+) lead from battery to ground side.
    7. The point where the voltmeter deflects from several V to zero V is the place where the defogger wire is broken.
      NOTE: If the heat wire is not broken, the voltmeter indicates 0 V at the positive (+) end of the heat wire but voltage gradually increases to about 12 V as the meter probe moves to the other end.
  7. If Necessary, Repair Defogger Wire 
    1. Clean the broken wire tips with grease, wax and silicone remover.
      Fig 14: Preparing Defogger Wire For Repair
      G01895165Courtesy of © TOYOTA, LICENSE AGREEMENT TMS1002
    2. Place the masking tape along both sides of the wire for repair.
    3. Thoroughly mix the repair agent (DuPont paste No. 4817).
    4. Using a fine tip brush, apply a small amount of the agent to the wire.
      Fig 15: Repairing Wire With Repair Agent
      G01895166Courtesy of © TOYOTA, LICENSE AGREEMENT TMS1002
    5. After a few minutes, remove the masking tape.
    6. Do not use the defogger wire for at least 24 hours.
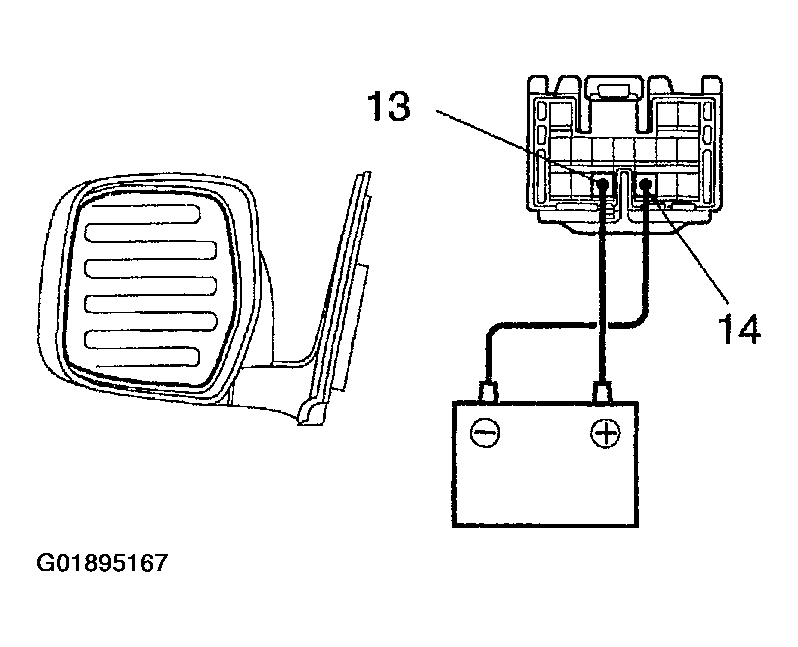
  8. With Mirror Heater: Inspect Mirror Heater Operation 
    1. Connect the positive (+) lead from the battery to terminal 14 and the negative (-) lead to terminal 13.
      Fig 16: Checking Mirror Heater Operation
      G01895167Courtesy of © TOYOTA, LICENSE AGREEMENT TMS1002
    2. Check that the mirror becomes warm.
      NOTE: It will take a short time for the mirror to become warm.