LEMON Manuals: Even more car manuals for everyone: 1960-2025
Home >> Toyota >> 2002 >> RAV4 Base, AWD, Standard >> Repair and Diagnosis >> External Pages >> Different car >> Section 288 (Power Door Lock Control System) >> Power Door Lock Control System >> Inspection
April 5, 2026: LEMON Manuals is launched! Read the announcement.

Power Door Lock Control System: Inspection

WARNING: This page is about a different car, the 2002 Toyota Land Cruiser. However, it is still accessible from the selected car via links, so may be relevant.
  1. Master Switch: Inspect Driver's Door Lock Control Switch Continuity 
    Fig 1: Identifying Driver's Door Lock Control Switch Terminals
    G01895212Courtesy of © TOYOTA, LICENSE AGREEMENT TMS1002
    Fig 2: Identifying Driver's Door Lock Control Switch Test Results
    G01895211Courtesy of © TOYOTA, LICENSE AGREEMENT TMS1002

    If continuity is not as specified, replace the switch.

  2. Inspect Passenger's Door Lock Control Switch Continuity 
    Fig 3: Identifying Passenger's Door Lock Control Switch Terminals
    G01895214Courtesy of © TOYOTA, LICENSE AGREEMENT TMS1002
    Fig 4: Identifying Passenger's Door Lock Control Switch Test Results
    G01895215Courtesy of © TOYOTA, LICENSE AGREEMENT TMS1002

    If continuity is not as specified, replace the switch.

  3. Inspect Door Key Lock And Unlock Switch Continuity 
    Fig 5: Identifying Door Key Lock & Unlock Switch Terminals
    G01895216Courtesy of © TOYOTA, LICENSE AGREEMENT TMS1002
    Fig 6: Identifying Door Key Lock And Unlock Switch Test Results
    G01895213Courtesy of © TOYOTA, LICENSE AGREEMENT TMS1002

    If continuity is not as specified, replace the switch

  4. Front Door: Inspect Door Unlock Detection Switch Continuity 
    Fig 7: Identifying Door Unlock Detection Switch Terminals
    G01895218Courtesy of © TOYOTA, LICENSE AGREEMENT TMS1002
    Fig 8: Identifying Door Unlock Detection Switch Test Results
    G01895217Courtesy of © TOYOTA, LICENSE AGREEMENT TMS1002

    If continuity is not as specified, replace the switch.

  5. Rear Door: Inspect Door Unlock Detection Switch Continuity 
    Fig 9: Identifying Door Unlock Detection Switch Terminals
    G01895220Courtesy of © TOYOTA, LICENSE AGREEMENT TMS1002
    Fig 10: Identifying Door Unlock Detection Switch Test Results
    G01895219Courtesy of © TOYOTA, LICENSE AGREEMENT TMS1002

    If continuity is not as specified, replace the switch.

  6. Back Door: Inspect Door Unlock Detection Switch Continuity 
    Fig 11: Identifying Door Unlock Detection Switch Terminals
    G01895222Courtesy of © TOYOTA, LICENSE AGREEMENT TMS1002
    Fig 12: Identifying Door Unlock Detection Switch Test Results
    G01895221Courtesy of © TOYOTA, LICENSE AGREEMENT TMS1002

    If continuity is not as specified, replace the switch.

  7. Front Door: Inspect Door Lock Motor Operation 
    1. Connect the positive (+) lead from the battery to terminal 3 and the negative (-) lead to terminal 2, and check that the door lock link moves to UNLOCK position.
      Fig 13: Testing Door Lock Motor (Unlock)
      G01895223Courtesy of © TOYOTA, LICENSE AGREEMENT TMS1002
    2. Reverse the polarity and check that the door lock link moves to LOCK position.
      Fig 14: Testing Door Lock Motor (Lock)
      G01895224Courtesy of © TOYOTA, LICENSE AGREEMENT TMS1002

      If operation is not as specified, replace the door lock assembly.

  8. Rear Door: Inspect Door Lock Motor Operation 
    1. Connect the positive (+) lead from the battery to terminal 3 and the negative (-) lead to terminal 2, and check that the door lock link moves to UNLOCK position.
      Fig 15: Testing Door Lock Motor (Unlock)
      G01895225Courtesy of © TOYOTA, LICENSE AGREEMENT TMS1002
    2. Reverse the polarity and check that the door lock link moves to LOCK position.
      Fig 16: Testing Door Lock Motor (Lock)
      G01895226Courtesy of © TOYOTA, LICENSE AGREEMENT TMS1002

      If operation is not as specified, replace the door lock assembly.

  9. Back Door: Inspect Door Lock Motor Operation 
    1. Connect the positive (+) lead from the battery to terminal 3 and the negative (-) lead to terminal 2, and check that the door lock link moves to UNLOCK position.
      Fig 17: Testing Door Lock Motor (Unlock)
      G01895227Courtesy of © TOYOTA, LICENSE AGREEMENT TMS1002
    2. Reverse the polarity and check that the door lock link moves to LOCK position.
      Fig 18: Testing Door Lock Motor (Lock)
      G01895228Courtesy of © TOYOTA, LICENSE AGREEMENT TMS1002

      If operation is not as specified, replace the door lock assembly.

  10. Front Door: Inspect PTC Thermistor Operation (Using An Ammeter) 
    1. Connect the negative (-) lead from the battery to terminal 2.
      Fig 19: Testing PTC Thermistor (Unlock)
      G01895229Courtesy of © TOYOTA, LICENSE AGREEMENT TMS1002
    2. Connect the positive (+) lead from the ammeter to terminal 3 and the negative (-) lead to battery negative (-) terminal, and check that the current changes from approximately 3.2 A to less than 0.5 A within 20 to 70 seconds.
    3. Disconnect the leads from terminals.
    4. Approximately 60 seconds later, connect the positive (+) lead from the battery to terminal 2 and the negative (-) lead to terminal 3, and check that the door lock moves to the LOCK position.
      Fig 20: Displaying PTC Thermistor (Lock)
      G01895230Courtesy of © TOYOTA, LICENSE AGREEMENT TMS1002

      If operation is not as specified, replace the door lock assembly.

  11. Rear Door: Inspect PTC Thermistor Operation (Using An Ammeter) 
    1. Connect the negative (-) lead from the battery to terminal 2.
      Fig 21: Testing PTC Thermistor (Unlock)
      G01895231Courtesy of © TOYOTA, LICENSE AGREEMENT TMS1002
    2. Connect the positive (+) lead from the ammeter to terminal 3 and the negative (-) lead to battery negative (-) terminal, and check that the current changes from approximately 3.2 A to less than 0.5 A within 20 to 70 seconds.
    3. Disconnect the leads from terminals.
    4. Approximately 60 seconds later, connect the positive (+) lead from the battery to terminal 2 and the negative (-) lead to terminal 3, and check that the door lock moves to the LOCK position.
      Fig 22: Testing PTC Thermistor (Lock)
      G01895232Courtesy of © TOYOTA, LICENSE AGREEMENT TMS1002

      If operation is not as specified, replace the door lock assembly.

  12. Back Door: Inspect PTC Thermistor Operation (Using An Ammeter) 
    1. Connect the negative (-) lead from the battery to terminal 2.
      Fig 23: Testing PTC Thermistor (Unlock)
      G01895233Courtesy of © TOYOTA, LICENSE AGREEMENT TMS1002
    2. Connect the positive (+) lead from the ammeter to terminal 3 and the negative (-) lead to battery negative (-) terminal, and check that the current changes from approximately 3.2 A to less than 0.5 A within 20 to 70 seconds.
    3. Disconnect the leads from terminals.
    4. Approximately 60 seconds later, connect the positive (+) lead from the battery to terminal 2 and the negative (-) lead to terminal 3, and check that the door moves to the LOCK position.
      Fig 24: Testing PTC Thermistor (Unlock)
      G01895234Courtesy of © TOYOTA, LICENSE AGREEMENT TMS1002

      If operation is not as specified, replace the door lock assembly.

  13. Front Door: Inspect PTC Thermistor Operation (Using An Ammeter With A Current-Measuring Probe) 
    1. Connect the positive (+) lead from the battery to terminal 3 and the negative (-) lead to terminal 2.
      Fig 25: Testing PTC Thermistor (Unlock)
      G01895235Courtesy of © TOYOTA, LICENSE AGREEMENT TMS1002
    2. Attach a current-measuring probe to either the positive (+) lead or the negative (-) lead, and check that the current changes from approximately 3.2 A to less than 0.5 A within 20 to 70 seconds.
    3. Disconnect the leads from terminals.
    4. Approximately 60 seconds later, reverse the polarity, and check that the door lock moves to the LOCK position.
      Fig 26: Testing PTC Thermistor (Lock)
      G01895236Courtesy of © TOYOTA, LICENSE AGREEMENT TMS1002

      If operation is not as specified, replace the door lock assembly.

  14. Rear Door: Inspect PTC Thermistor Operation (Using An Ammeter With A Current-Measuring Probe) 
    1. Connect the positive (+) lead from the battery to terminal 3 and the negative (-) lead to terminal 2.
    2. Attach a current-measuring probe to either the positive (+) lead or the negative (-) lead, and check that the current changes from approximately 3.2 A to less than 0.5 A within 20 to 70 seconds.
      Fig 27: Testing PTC Thermistor (Unlock)
      G01895237Courtesy of © TOYOTA, LICENSE AGREEMENT TMS1002
    3. Disconnect the leads from terminals.
    4. Approximately 60 seconds later, reverse the polarity, and check that the door lock moves to the LOCK position.
      Fig 28: Testing PTC Thermistor (Lock)
      G01895238Courtesy of © TOYOTA, LICENSE AGREEMENT TMS1002

      If operation is not as specified, replace the door lock assembly.

  15. Back Door: Inspect PTC Thermistor Operation (Using An Ammeter With A Current-Measuring Probe) 
    1. Connect the positive (+) lead from the battery to terminal 3 and the negative (-) lead to terminal 2.
      Fig 29: Testing PTC Thermistor (Unlock)
      G01895239Courtesy of © TOYOTA, LICENSE AGREEMENT TMS1002
    2. Attach a current-measuring probe to either the positive (+) lead or the negative (-) lead, and check that the current changes from approximately 3.2 A to less than 0.5 A within 20 to 70 seconds.
    3. Disconnect the leads from terminals.
    4. Approximately 60 seconds later, reverse the polarity, and check that the door lock moves to the LOCK position.
      Fig 30: Testing PTC Thermistor (Lock)
      G01895240Courtesy of © TOYOTA, LICENSE AGREEMENT TMS1002

      If operation is not as specified, replace the door lock assembly.

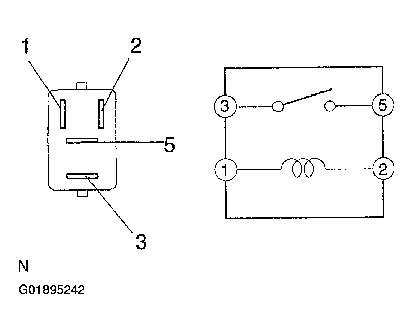
  16. Inspect Door Lock Relay (Lock And Unlock) Continuity 
    Fig 31: Identifying Door Lock Relay Terminals
    G01895242Courtesy of © TOYOTA, LICENSE AGREEMENT TMS1002
    Fig 32: Identifying Door Lock Relay Test Results
    G01895241Courtesy of © TOYOTA, LICENSE AGREEMENT TMS1002

    If continuity is not as specified, replace the relay.