LEMON Manuals: Even more car manuals for everyone: 1960-2025
Home >> Toyota >> 2002 >> RAV4 Base, FWD, Standard >> Repair and Diagnosis (Single Page) >> Body & Frame >> Mirrors >> Power Mirror Control System >> Power Mirror Control System >> Inspection
April 5, 2026: LEMON Manuals is launched! Read the announcement.

Power Mirror Control System: Inspection

  1. Inspect left side mirror switch continuity  .
    Fig 1: Identifying Mirror Switch Connector Terminals
    G01895846Courtesy of © TOYOTA, LICENSE AGREEMENT TMS1002
    Fig 2: Displaying Left Side Mirror Switch Specifications
    G01895844Courtesy of © TOYOTA, LICENSE AGREEMENT TMS1002

    If continuity is not as specified, replace the switch.

  2. Inspect right side mirror switch continuity 
    Fig 3: Displaying Right Side Mirror Switch Specifications
    G01895845Courtesy of © TOYOTA, LICENSE AGREEMENT TMS1002

    If continuity is not as specified, replace the switch.

  3. Inspect mirror motor operation  .
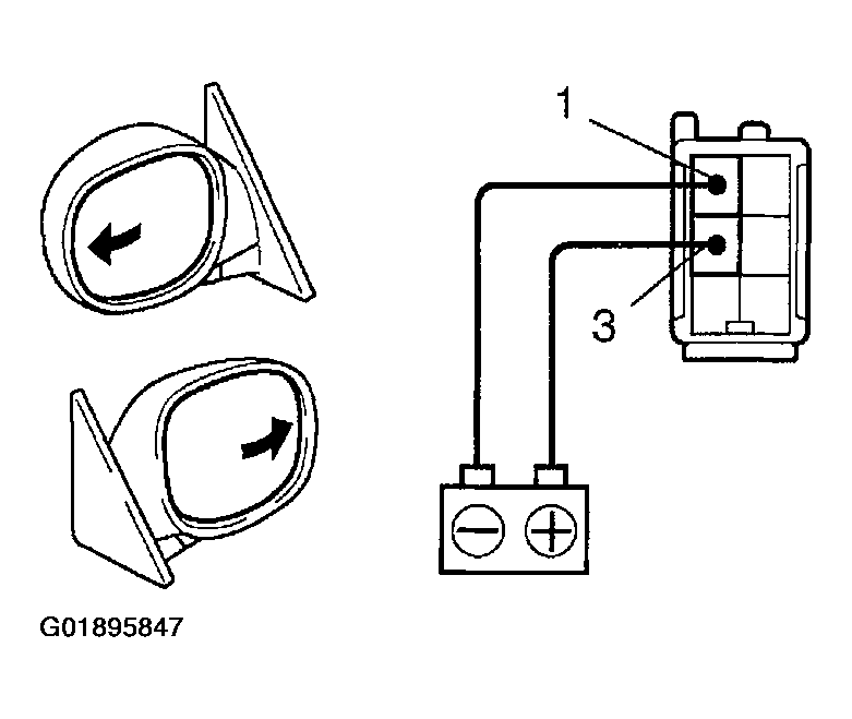
    1. Connect the positive (+) lead from the battery to terminal 3 and the negative (-) lead to terminal 1, and check that the mirror turns to out side.
      Fig 4: Testing Mirror To Turn To Outside
      G01895847Courtesy of © TOYOTA, LICENSE AGREEMENT TMS1002
    2. Reverse the polarity, and check that the mirror turns to in side.
      Fig 5: Testing Mirror To Turn To Inside
      G01895848Courtesy of © TOYOTA, LICENSE AGREEMENT TMS1002
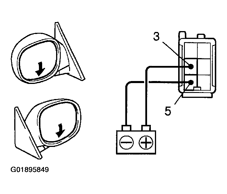
    3. Connect the positive (+) lead from the battery to terminal 3 and the negative (-) lead to terminal 5, and check that the mirror turns to the downward.
      Fig 6: Testing Mirror To Turn Downward
      G01895849Courtesy of © TOYOTA, LICENSE AGREEMENT TMS1002
    4. Reverse the polarity, and check that the mirror turns to the upward.
    5. Fig 7: Testing Mirror To Turn Upward
      G01895850Courtesy of © TOYOTA, LICENSE AGREEMENT TMS1002

    If operation is not as specified, replace the mirror assembly.