LEMON Manuals: Even more car manuals for everyone: 1960-2025
Home >> Toyota >> 2002 >> Sienna XLE >> Repair and Diagnosis >> Body & Frame >> Windows >> Power Window Control System >> Inspection
April 5, 2026: LEMON Manuals is launched! Read the announcement.

Power Window Control System: Inspection

  1. Inspect power window master switch continuity  .
    Fig 1: Identifying Power Window Master Switch Terminals
    G01939626Courtesy of © TOYOTA, LICENSE AGREEMENT TMS1002
    Fig 2: Master Switch Specifications For Front Driver's Switch (Window Unlock)
    G01939623Courtesy of © TOYOTA, LICENSE AGREEMENT TMS1002
    Fig 3: Master Switch Specifications For Front Passenger's Switch (Window Unlock)
    G01939624Courtesy of © TOYOTA, LICENSE AGREEMENT TMS1002
    Fig 4: Master Switch Specifications For Front Passenger's Switch (Window Lock)
    G01939625Courtesy of © TOYOTA, LICENSE AGREEMENT TMS1002

    If continuity is not as specified, replace the master switch.

  2. Inspect power window master switch illumination  .
    1. Set the window lock switch to the unlock position.
    2. Connect the positive (+) lead from the battery to terminal 7 and the negative (-) lead to terminal 1, and check that all the illuminations light up.
      Fig 5: Testing Power Window Master Switch Illumination (1 Of 2)
      G01939627Courtesy of © TOYOTA, LICENSE AGREEMENT TMS1002
    3. Set the window lock switch to the lock position, check that all the passenger's power window switch illuminations go out.
      Fig 6: Testing Power Window Master Switch Illumination (2 Of 2)
      G01939628Courtesy of © TOYOTA, LICENSE AGREEMENT TMS1002

    If operation is not as specified, replace the master switch.

  3. Inspect passenger's door power window switch continuity  .
    Fig 7: Identifying Passenger's Door Power Window Switch & Terminals
    G01939630Courtesy of © TOYOTA, LICENSE AGREEMENT TMS1002
    Fig 8: Passenger's Door Power Window Switch Specifications
    G01939629Courtesy of © TOYOTA, LICENSE AGREEMENT TMS1002

    If continuity is not as specified, replace the switch.

  4. Inspect power main relay continuity  .
    Fig 9: Identifying Power Main Relay Terminals
    G01939632Courtesy of © TOYOTA, LICENSE AGREEMENT TMS1002
    Fig 10: Power Main Relay Specifications
    G01939631Courtesy of © TOYOTA, LICENSE AGREEMENT TMS1002

    If continuity is not as specified, replace the switch.

  5. Driver's door 

    Inspect power window motor operation  .

    1. Connect the positive (+) lead from the battery to terminal 2 and the negative (-) lead to terminal 1, and check that the motor turns clockwise.
      Fig 11: Testing Driver's Door Power Window Motor
      G01939633Courtesy of © TOYOTA, LICENSE AGREEMENT TMS1002
    2. Reverse the polarity, check that the motor turns counter-clock wise.

    If operation is not as specified, replace the motor.

  6. Passenger's door 

    Inspect power window motor operation  .

    1. Connect the positive (+) lead from the battery to terminal 2 and the negative (-) lead to terminal 1, and check that the motor turns clockwise.
      Fig 12: Testing Passenger's Door Power Window Motor
      G01939634Courtesy of © TOYOTA, LICENSE AGREEMENT TMS1002
    2. Reverse the polarity, check that the motor turns counter-clock wise.

    If operation is not as specified, replace the motor.

  7. Driver's door 

    Inspect power window motor PTC thermistor operation  .

    1. Disconnect the connector from the power window motor.
    2. Connect the positive (+) lead from the ammeter to terminal 1 on the wire harness side connector and the negative (-) lead to negative terminal of the battery.
      Fig 13: Testing Driver's Door PTC (1 Of 2)
      G01939635Courtesy of © TOYOTA, LICENSE AGREEMENT TMS1002
    3. Connect the positive (+) lead from the battery to terminal 2 on the wire harness side connector, and raise the window to the fully position.
    4. Continue to apply voltage, and check that the current changes to less than 1 A with 4 to 90 seconds.
    5. Disconnect the leads from terminals.
      Fig 14: Testing Driver's Door PTC (2 Of 2)
      G01939636Courtesy of © TOYOTA, LICENSE AGREEMENT TMS1002
    6. Approximately 60 seconds later, connect the positive (+) lead from the battery to terminal 1 and negative (-) lead to terminal 2, and check that the window begins to descended.

    If operation is not as specified, replace the motor.

  8. Passenger's door 

    Inspect power window motor PTC thermistor operation  .

    1. Disconnect the connector from the power window motor.
    2. Connect the positive (+) lead from the ammeter to terminal 2 on the wire harness side connector and the negative (-) lead to negative terminal of the battery.
      Fig 15: Testing Driver's Door PTC (1 Of 2)
      G01939637Courtesy of © TOYOTA, LICENSE AGREEMENT TMS1002
    3. Connect the positive (+) lead from the battery to terminal 2 on the wire harness side connector, and raise the window to the fully closed position.
    4. Continue to apply voltage and check that the current changes to less than 1 A with 4 to 90 seconds.
      Fig 16: Testing Driver's Door PTC (2 Of 2)
      G01939638Courtesy of © TOYOTA, LICENSE AGREEMENT TMS1002
    5. Disconnect the leads from terminals.
    6. Approximately 60 seconds later, connect the positive (+) lead from the battery to terminal 1 and negative (-) lead to terminal 2, and check that the window begins to descend.

    If operation is not as specified, replace the motor.

  9. WARNING: Never let any part of your body be caught in the window when checking.
    NOTE: In case of performing resetting of the limit switch, do checking after repeating up and down of the glass with automatic operation.

    In case of removing the glass, glass guide, regulator and etc. be sure to perform checking of the jam protection function.

    If the jam protection is not functioning properly, adjust power window motor reset switch and pulse switch.

  10. Inspect jam protection function 
    1. Confirmation of AUTO up operation

      Confirm that the window will be fully close with AUTO up operation.

    2. Checking of the operation of the jam protection function
      1. Move up the window with AUTO up operation and check that the window will go down when it touches the handle of the hammer.
      2. Confirm that the window will then stop going down about 200 mm.
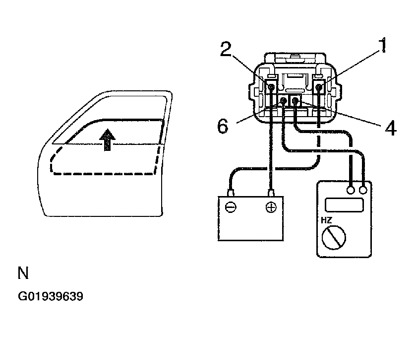
  11. Driver's Door 

    Inspect jam protection limit switch operation  .

      CAUTION: If connecting the wire harness wrongly, the sensor might be damaged so caution is necessary.
      Fig 17: Testing Jam Protection Limit Switch Operation (1 Of 2)
      G01939639Courtesy of © TOYOTA, LICENSE AGREEMENT TMS1002
    1. Connect the negative (-) lead from the ohmmeter to terminal 6 and the positive (+) lead to terminal 4.
    2. Connect the positive (+) lead from the battery to terminal 2 and the negative (-) lead to terminal 1.
    3. Check that the continuity exists when the window goes up.
    4. Check that the no continuity exists when the window is in the fully closed position.
      Fig 18: Testing Jam Protection Limit Switch Operation (2 Of 2)
      G01939640Courtesy of © TOYOTA, LICENSE AGREEMENT TMS1002

    If operation is not as specified, replace the motor.

  12. Driver's Door 

    Inspect jam protection pulse switch operation  .

      CAUTION: If the wire harness is connected incorrectly, the sensor might be damaged so caution is necessary.
      Fig 19: Testing Jam Protection Pulse Switch Operation (1 Of 2)
      G01939641Courtesy of © TOYOTA, LICENSE AGREEMENT TMS1002
    1. Connect the positive (+) lead from the TOYOTA electrical tester to terminal 5 and the negative (-) lead to terminal 6.
    2. Connect the positive (+) lead from the battery to terminal 2 and the negative (-) lead to terminal 1.
    3. Check that pulse is generated during the motor running.
    4. Reverse the polarity and check that pulse is generated. If operation is not as specified, replace the motor.
      Fig 20: Testing Jam Protection Pulse Switch Operation (2 Of 2)
      G01939642Courtesy of © TOYOTA, LICENSE AGREEMENT TMS1002
  13. WARNING: Never let any part of your body be caught in the window when checking.
    NOTE: In case of performing resetting of the limit switch, do checking after repeating up and down of the glass with automatic operation.

    In case of removing the glass, glass guide, regulator and etc. be sure to perform checking of the jam protection function.

    If the jam protection is not functioning properly, adjust power window motor reset switch and pulse switch.

  14. Inspect jam protection function 
    1. Confirmation of AUTO up operation

      Confirm that the window fully closes with AUTO up operation.

    2. Checking of the operation of the jam protection function
      1. Move up the window with AUTO up operation and check that the window will go down when it touches the handle of the hammer.
      2. Confirm that the window stops going down after about 200 mm.