LEMON Manuals: Even more car manuals for everyone: 1960-2025
Home >> Toyota >> 2003 >> Avalon XLS >> Repair and Diagnosis >> Body & Frame >> Windows >> Power Window Control System >> Inspection
April 5, 2026: LEMON Manuals is launched! Read the announcement.

Power Window Control System: Inspection

  1. Using an ammeter: 

    INSPECT ONE TOUCH POWER WINDOW SYSTEM/ CURRENT OF CIRCUIT 

    Fig 1: Inspecting One Touch Power Window System/ Current Of Circuit Using An Ammeter
    G02818499Courtesy of © TOYOTA, LICENSE AGREEMENT TMS1002
    1. Disconnect the connector from the master switch.
    2. Connect the positive (+) lead from the ammeter to terminal 1 on the wire harness side connector and the negative (-) lead to negative (-) terminal of the battery.
    3. Connect the positive (+) lead from the battery to terminal 14 on the wire harness side connector.
    4. As the window goes down, check that the current flow is approximately 7 A.
    5. Check that the current increases up to approximately 14.5 A or more when the window stops going down.
    NOTE: The PTC opens some 4 - 90 seconds after the window stops going down, so that check must be made before the PTC operates.

    If the operation is as specified, replace the driver door ECU.

  2. Using an ammeter with a current-measuring probe: 

    INSPECT ONE TOUCH POWER WINDOW SYSTEM/ CURRENT OF CIRCUIT 

    Fig 2: Inspecting One Touch Power Window System/ Current Of Circuit Using An Ammeter With A Current-Measuring Prob
    G02818500Courtesy of © TOYOTA, LICENSE AGREEMENT TMS1002
    1. Remove the driver door ECU with connectors connected.
    2. Attach a current-measuring probe to terminal 25 of the wire harness.
    3. Turn the ignition switch ON and set the power window switch in the down position.
    4. As the window goes down, check that the current flow is approximately 7 A.
    5. Check that the current increases up to approximately 14.5 A or more when the window stops going down.
    NOTE: The PTC opens some 4 - 90 seconds after the window stops going down, so that check must be made before the PTC operates.

    If operation is as specified, replace the driver door ECU.

  3. INSPECT REAR POWER WINDOW SWITCH CONTINUITY 
    Fig 3: Identifying Rear Power Window Switch Connector Terminal View
    G02818501Courtesy of © TOYOTA, LICENSE AGREEMENT TMS1002
    REAR POWER WINDOW SWITCH CONTINUITY REFERENCE

    Switch Position Tester Connection Specified Condition
    UP 5 - 4, 2 - 6 Continuity
    OFF 4 - 6, 2 - 6 No Continuity
    DOWN 2 - 5, 4 - 6 Continuity

    If continuity is not as specified, replace the switch.

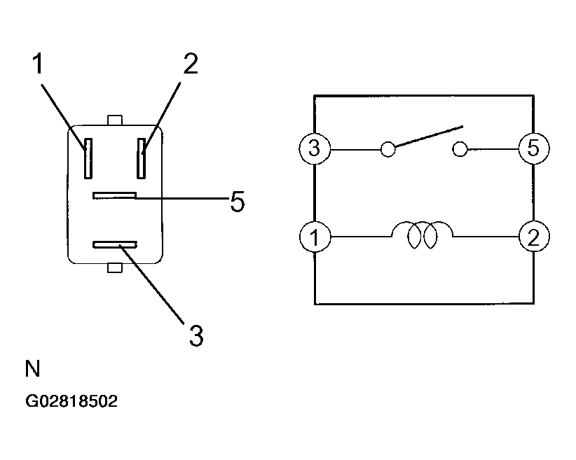
  4. INSPECT POWER MAIN RELAY CONTINUITY 
    Fig 4: Inspecting Power Main Relay Continuity
    G02818502Courtesy of © TOYOTA, LICENSE AGREEMENT TMS1002
    POWER MAIN RELAY CONTINUITY REFERENCE

    Condition Tester Connection Specified Condition
    Constant 1 - 2 Continuity
    Apply B+ Between Terminals 1 & 2. 3 - 5 Continuity

    If continuity is not as specified, replace the relay.

  5. Driver's Door: 

    INSPECT POWER WINDOW MOTOR OPERATION 

    Fig 5: Inspecting Power Window Motor Operation (Driver's Door)
    G02818503Courtesy of © TOYOTA, LICENSE AGREEMENT TMS1002
    1. Connect the positive (+) lead from the battery to terminal 1 and the negative (-) lead to terminal 2, and check that the motor turns clockwise.
    2. Reverse the polarity, check that the motor turns counterclockwise.
    3. Fig 6: Inspecting Power Window Motor Operation While Reversing Polarity (Driver's Door)
      G02818504Courtesy of © TOYOTA, LICENSE AGREEMENT TMS1002

    If operation is not as specified, replace the motor.

    NOTE: Since the jam protection may not work properly be sure to conduct procedures described in HOW TO RESET POWER WINDOW MOTOR (LIMIT SWITCH)  after this inspection.
  6. Front Passenger's Door: 

    INSPECT POWER WINDOW MOTOR OPERATION 

    Fig 7: Inspecting Power Window Motor Operation (Front Passenger's Door)
    G02818505Courtesy of © TOYOTA, LICENSE AGREEMENT TMS1002
    1. Connect the positive (+) lead from the battery to terminal 2 and the negative (-) lead to terminal 1, and check that the motor turns clockwise.
    2. Reverse the polarity, check that the motor turns counterclockwise.
    3. Fig 8: Inspecting Power Window Motor Operation While Reversing Polarity (Front Passenger's Door)
      G02818506Courtesy of © TOYOTA, LICENSE AGREEMENT TMS1002

    If operation is not as specified, replace the motor.

  7. Rear Left Side Door: 

    INSPECT POWER WINDOW MOTOR OPERATION 

    Fig 9: Inspecting Power Window Motor Operation (Rear Left Side Door)
    G02818507Courtesy of © TOYOTA, LICENSE AGREEMENT TMS1002
    1. Connect the positive (+) lead from the battery to terminal 2 and the negative (-) lead to terminal 1, and check that the motor turns clockwise.
    2. Reverse the polarity, check that the motor turns counterclockwise.
    3. Fig 10: Inspecting Power Window Motor Operation while Reversing Polarity (Rear Left Side Door)
      G02818508Courtesy of © TOYOTA, LICENSE AGREEMENT TMS1002

    If operation is not as specified, replace the motor.

  8. Rear Right Side Door: 

    INSPECT POWER WINDOW MOTOR OPERATION 

    Fig 11: Inspecting Power Window Motor Operation (Rear Right Side Door)
    G02818509Courtesy of © TOYOTA, LICENSE AGREEMENT TMS1002
    1. Connect the positive (+) lead from the battery to terminal 1 and the negative (-) lead to terminal 2, and check that the motor turns clockwise.
    2. Reverse the polarity, check that the motor turns counterclockwise.
    3. Fig 12: Inspecting Power Window Motor Operation While Reversing Polarity (Rear Right Side Door)
      G02818510Courtesy of © TOYOTA, LICENSE AGREEMENT TMS1002

    If operation is not as specified, replace the motor.

  9. Driver's door: 

    INSPECT POWER WINDOW MOTOR PTC THERMISTOR OPERATION 

    Fig 13: Inspecting Power Window Motor PTC Thermistor Operation Using Ammeter (Driver's Door)
    G02818511Courtesy of © TOYOTA, LICENSE AGREEMENT TMS1002
    1. Disconnect the connector from the power window motor.
    2. Connect the positive (+) lead from the ammeter to terminal 2 on the wire harness side connector and the negative (-) lead to negative terminal of the battery.
    3. Connect the positive (+) lead from the battery to terminal 1 on the wire harness side connector, and raise the window to the fully position.
    4. Continue to apply voltage, and check that the current changes to less than 1 A with 4 to 90 seconds.
    5. Disconnect the leads from terminals.
    6. Approximately 60 seconds later, connect the positive (+) lead from the battery to terminal 2 and negative (-) lead to terminal 1, and check that the window begins to descended.
      Fig 14: Inspecting Power Window Motor PTC Thermistor Operation Without Ammeter (Driver's Door)
      G02818512Courtesy of © TOYOTA, LICENSE AGREEMENT TMS1002

    If operation is not as specified, replace the motor.

  10. Front Passenger's door: 

    INSPECT POWER WINDOW MOTOR PTC THERMISTOR OPERATION 

    Fig 15: Inspecting Power Window Motor PTC Thermistor Operation With Ammeter (Front Passenger's Door)
    G02818513Courtesy of © TOYOTA, LICENSE AGREEMENT TMS1002
    1. Disconnect the connector from the power window motor.
    2. Connect the positive (+) lead from the ammeter to terminal 1 on the wire harness side connector and the negative (-) lead to negative terminal of the battery.
    3. Connect the positive (+) lead from the battery to terminal 2 on the wire harness side connector, and raise the window to the fully position.
    4. Continue to apply voltage and check that the current changes to less than 1 A within 4 to 90 seconds.
    5. Disconnect the leads from the terminals.
    6. Approximately 60 seconds later, connect the positive (+) lead from the battery to terminal 1 and the negative (-) lead to terminal 2, and check that the window begins to descend.
      Fig 16: Inspecting Power Window Motor PTC Thermistor Operation Without Ammeter (Front Passenger's Door)
      G02818514Courtesy of © TOYOTA, LICENSE AGREEMENT TMS1002

    If operation is not as specified, replace the motor.

  11. Rear LH door: 

    INSPECT POWER WINDOW MOTOR PTC THERMISTOR OPERATION 

    Fig 17: Inspecting Power Window Motor PTC Thermistor Operation Using Ammeter (Rear LH Door)
    G02818515Courtesy of © TOYOTA, LICENSE AGREEMENT TMS1002
    1. Disconnect the connector from the power window motor.
    2. Connect the positive (+) lead from the ammeter to terminal 2 on the wire harness side connector and the negative (-) lead to negative terminal of the battery.
    3. Connect the positive (+) lead from the battery to terminal 2 on the wire harness side connector, and raise the window to the fully position.
    4. Continue to apply voltage and check that the current changes to less than 1 A within 4 to 90 seconds.
    5. Disconnect the leads from the terminals.
    6. Approximately 60 seconds later, connect the positive (+) lead from the battery to terminal 1 and the negative (-) lead to terminal 2, and check that the window begins to descend.
      Fig 18: Inspecting Power Window Motor PTC Thermistor Operation Without Ammeter (Rear LH Door)
      G02818516Courtesy of © TOYOTA, LICENSE AGREEMENT TMS1002

    If operation is not as specified, replace the motor.

  12. Rear RH Door: 

    INSPECT POWER WINDOW MOTOR PTC THERMISTOR OPERATION 

    Fig 19: Inspecting Power Window Motor PTC Thermistor Operation Using Ammeter (Rear RH Door)
    G02818517Courtesy of © TOYOTA, LICENSE AGREEMENT TMS1002
    1. Disconnect the connector from the power window motor.
    2. Connect the positive (+) lead from the ammeter to terminal 2 on the wire harness side connector and the negative (-) lead to negative terminal of the battery.
    3. Connect the positive (+) lead from the battery to terminal 1 on the wire harness side connector, and raise the window to the fully position.
    4. Continue to apply voltage and check that the current changes to less than 1 A within 4 to 90 seconds.
    5. Disconnect the leads from the terminals.
    6. Approximately 60 seconds later, connect the positive (+) lead from the battery to terminal 2 and the negative (-) lead to terminal 1, and check that the window begins to descend.
      Fig 20: Inspecting Power Window Motor PTC Thermistor Operation Without Ammeter (Rear RH Door)
      G02818518Courtesy of © TOYOTA, LICENSE AGREEMENT TMS1002

    If operation is not as specified, replace the motor.

  13. INSPECT JAM PROTECTION FUNCTION 
    NOTE: Never, ever be caught any part of your body when checking.
    NOTE: In case of performing resetting of the limit switch, do checking after repeating up and down of the glass with automatic operation.
    1. Confirmation of AUTO up operation:

      Confirm that the window will be fully closed with AUTO up operation.

    2. Checking of the operation of the jam protection function:
      1. Move up the window with AUTO up operation and check that the window will go down when it touches the handle of the hammer settled.
      2. Confirm that the window will then stop going down about 200 mm.
    NOTE: In case of removing the glass, glass guide, regulator and etc. be sure to perform checking of the jam protection function.
  14. Driver's Door (Window Up): 

    INSPECT JAM PROTECTION LIMIT SWITCH OPERATION 

    Fig 21: Inspecting Jam Protection Limit Switch Operation - Driver's Door (Window Up)
    G02818519Courtesy of © TOYOTA, LICENSE AGREEMENT TMS1002
    1. Connect the negative (-) lead from the ohmmeter to terminal 5 and the positive (+) lead to terminal 4.
    2. Connect the positive (+) lead from the battery to terminal 1 and the negative (-) lead to terminal 2.
    3. Check that the continuity exists when the window goes up.
    4. Check that the no continuity exists when the window is in the fully closed position.
    5. Fig 22: Inspecting Jam Protection Limit Switch Operation - Driver's Door (Window Fully Closed)
      G02818520Courtesy of © TOYOTA, LICENSE AGREEMENT TMS1002

    If operation is not as specified, replace the motor.

    NOTE: If connecting the wire harness wrongly, the sensor might be damaged so caution is necessary.
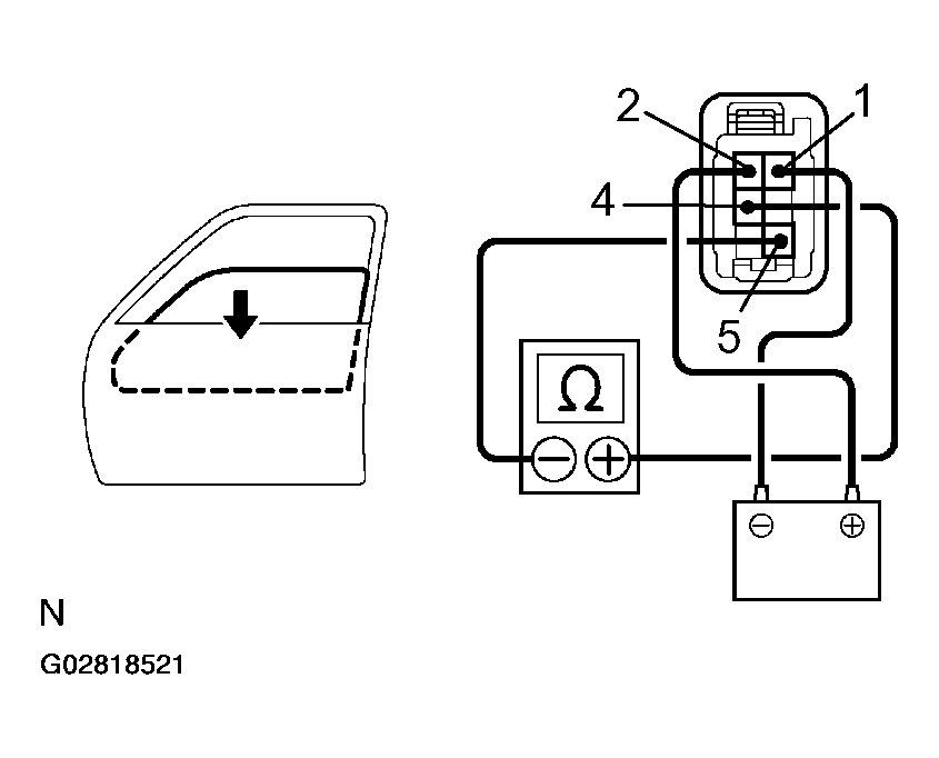
  15. Driver's Door (Window Down): 

    INSPECT JAM PROTECTION LIMIT SWITCH OPERATION 

    Fig 23: Inspecting Jam Protection Limit Switch Operation - Driver's Door (Window Down)
    G02818521Courtesy of © TOYOTA, LICENSE AGREEMENT TMS1002
    1. Connect the negative (-) lead from the ohmmeter to terminal 5 and the positive (+) lead to terminal 4.
    2. Connect the positive (+) lead from the battery to terminal 2 and the negative (-) lead to terminal 1.
    3. Check that the continuity exists when the window goes down.
    4. Check that the no continuity exists when the window is in the fully opened position.
    5. Fig 24: Inspecting Jam Protection Limit Switch Operation - Driver's Door (Window Fully Opened)
      G02818522Courtesy of © TOYOTA, LICENSE AGREEMENT TMS1002

    If operation is not as specified, replace the motor.

    NOTE: If connecting the wire harness wrongly, the sensor might be damaged so caution is necessary.
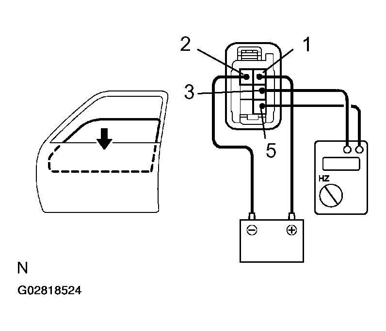
  16. Driver's Door: 

    INSPECT JAM PROTECTION PULSE SWITCH OPERATION 

    Fig 25: Inspecting Jam Protection Pulse Switch Operation - Driver's Door
    G02818523Courtesy of © TOYOTA, LICENSE AGREEMENT TMS1002
    1. Connect the positive (+) lead from the TOYOTA electrical tester to terminal 3 and the negative (-) lead to terminal 5.
    2. Connect the positive (+) lead from the battery to terminal 1 and the negative (-) lead to terminal 2.
    3. Check that pulse is generated during the motor running.
    4. Reverse the polarity and check that pulse is generated.
    5. Fig 26: Inspecting Jam Protection Pulse Switch Operation - Driver's Door (While Reversing Polarity)
      G02818524Courtesy of © TOYOTA, LICENSE AGREEMENT TMS1002

    If operation is not as specified, replace the motor.

    NOTE: If connecting the wire harness wrongly, the sensor might be damaged so caution is necessary.
  17. INSPECT JAM PROTECTION FUNCTION 
    NOTE: Never, ever be caught any part of your body when checking.
    NOTE: In case of performing resetting of the limit switch, do checking after repeating up and down of the glass with automatic operation.
    1. Confirmation of AUTO up operation:

      Confirm that the window will be fully close with AUTO up operation.

    2. Checking of the operation of the jam protection function:
      1. Move up the window with AUTO up operation and check that the window will go down when it touches the handle of the hammer settled.
      2. Confirm that the window will then stop going down about 200 mm.
    NOTE: In case of removing the glass, glass guide, regulator and etc. be sure to perform checking of the jam protection function.

    If the jam protection is not function properly, adjust power window motor reset switch and pulse switch.