LEMON Manuals: Even more car manuals for everyone: 1960-2025
Home >> Toyota >> 2003 >> Celica GT, Standard >> Repair and Diagnosis >> Body & Frame >> Windows >> Power Window Control System >> Inspection
April 5, 2026: LEMON Manuals is launched! Read the announcement.

Power Window Control System: Inspection

  1. Inspect Power Window Master Switch Continuity 
    POWER WINDOW MASTER SWITCH SPECIFICATIONS (DRIVER'S SWITCH)

    Switch Position Tester Connection Specified Condition
    UP 2 - 9, 17 - 18 Continuity
    OFF 9 - 17, 17 - 18 Continuity
    DOWN 2 - 18, 9 - 17 Continuity
    DOWN AUTO 2 - 18, 9 - 17 Continuity
    Fig 1: Identifying Power Window Master Switch Terminals
    G02902762Courtesy of © TOYOTA, LICENSE AGREEMENT TMS1002
    POWER WINDOW MASTER SWITCH SPECIFICATIONS (WINDOW UNLOCK)

    Switch Position Tester Connection Specified Condition
    UP 1 - 11, 10 - 17 Continuity
    OFF 1 - 17, 10 - 17 Continuity
    DOWN 10 - 11, 1 - 17 Continuity
    POWER WINDOW MASTER SWITCH SPECIFICATIONS (WINDOW LOCK)

    Switch Position Tester Connection Specified Condition
    UP 1 - 11 Continuity
    OFF 1 - 10 Continuity
    DOWN 10 - 11 Continuity

    If continuity is not as specified, replace the switch.

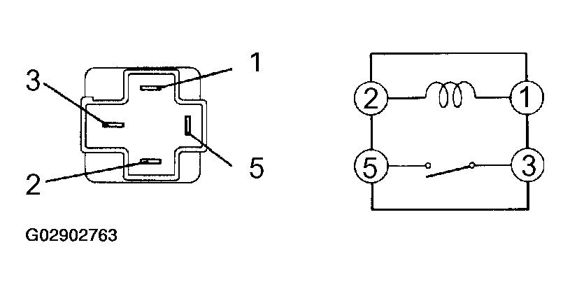
  2. Inspect Power Main Relay Continuity 
    POWER MAIN RELAY SPECIFICATIONS

    Condition Tester Connection Specified Condition
    Constant 1 - 2 Continuity
    Apply B+ between terminals 1 and 2. 3 - 5 Continuity

    If continuity is not as specified, replace the relay.

    Fig 2: Identifying Power Main Relay Terminals
    G02902763Courtesy of © TOYOTA, LICENSE AGREEMENT TMS1002
  3. Driver's door: 

    Inspect Power Window Motor Operation 

    1. Connect the battery positive (+) lead to terminal 1 and the battery negative (-) lead to terminal 2, then check that the motor turns clockwise.
      Fig 3: Inspecting Power Window Motor Operation (Driver Door)
      G02902764Courtesy of © TOYOTA, LICENSE AGREEMENT TMS1002
    2. Reverse the polarity, check that the motor turns counterclockwise.

      If operation is not as specified, replace the motor.

      Fig 4: Inspecting Power Window Motor Operation While Reversing Polarity (Driver Door)
      G02902765Courtesy of © TOYOTA, LICENSE AGREEMENT TMS1002
  4. Passenger's door: 

    Inspect Power Window Motor Operation 

    1. Connect the battery positive (+) lead to terminal 1 and the battery negative (-) lead to terminal 2, check that the motor turns clockwise.
      Fig 5: Inspecting Power Window Motor Operation (Passenger Door)
      G02902766Courtesy of © TOYOTA, LICENSE AGREEMENT TMS1002
    2. Reverse the polarity, and check that the motor turns counterclockwise.

      If operation is not as specified, replace the motor.

      Fig 6: Inspecting Power Window Motor Operation While Reversing Polarity (Passenger Door)
      G02902767Courtesy of © TOYOTA, LICENSE AGREEMENT TMS1002
  5. Driver's door: 

    Inspect PTC Operation 

    1. Disconnect the connector from the window motor.
    2. Fig 7: Inspecting PTC Operation (Driver Door)
      G02902768Courtesy of © TOYOTA, LICENSE AGREEMENT TMS1002
    3. Connect the ammeter positive (+) lead to terminal 1 of the wire harness side connector and the negative (-) lead to ammeter negative terminal of the battery.
    4. Connect the battery positive (+) lead to terminal 2 of the wire harness side connector, and raise the window to the fully closed position.
    5. Continue to apply voltage, and check that the current changes from approximately 14 A to less than 1 A within 4 to 90 seconds.
    6. Fig 8: Inspecting PTC Operation Without Using Ammeter (Driver Door)
      G02902769Courtesy of © TOYOTA, LICENSE AGREEMENT TMS1002
    7. Disconnect the leads from terminals.
    8. Approximately 90 seconds later, connect the battery positive (+) lead to terminal 1 and battery negative (-) lead to terminal 2, then check that the window begins to descend.

      If operation is not as specified, replace the motor.

  6. Passenger's door: 

    Inspect PTC Operation 

    1. Disconnect the connector from the power window switch.
      Fig 9: Inspecting PTC Operation (Passenger Door)
      G02902770Courtesy of © TOYOTA, LICENSE AGREEMENT TMS1002
    2. Connect the ammeter positive (+) lead to terminal 1 of the wire harness side connector and the ammeter negative (-) lead to negative terminal of the battery.
    3. Connect the positive (+) lead from the battery to terminal 2 of the wire harness side connector, and raise the window to the fully closed position.
    4. Continue to apply voltage, and check that the current changes from approximately 14 A to less than 1 A within 4 to 90 seconds.
      Fig 10: Inspecting PTC Operation Without Using Ammeter (Passenger Door)
      G02902771Courtesy of © TOYOTA, LICENSE AGREEMENT TMS1002
    5. Disconnect the leads from terminals.
    6. Approximately 90 seconds later, connect the battery positive (+) lead to terminal 1 and the battery negative (-) lead to terminal 2, then check that the window begins to descend.

    If operation is not as specified, replace the motor.