LEMON Manuals: Even more car manuals for everyone: 1960-2025
Home >> Toyota >> 2003 >> Corolla LE, Standard >> Repair and Diagnosis >> Body & Frame >> Windows >> Back Window Glass >> Replacement
April 5, 2026: LEMON Manuals is launched! Read the announcement.

Back Window Glass: Replacement

HINT:

Installation is according to the reverse order of the removal.

  1. REMOVE REAR DOOR WEATHERSTRIP RH (See  ROOF HEADLINING ASSY  ) 
  2. REMOVE REAR DOOR WEATHERSTRIP LH (See  ROOF HEADLINING ASSY  ) 
  3. REMOVE REAR SEAT CUSHION ASSY (See  REAR SEAT (SEDAN WITH SEPARATE TYPE)  or  REAR SEAT ASSY (SEDAN WITH BENCH TYPE)  ) 
  4. REMOVE REAR SEAT BACK ASSY (FIXED TYPE REAR SEAT) (See  REAR SEAT ASSY (SEDAN WITH BENCH TYPE)  ) 
  5. REMOVE SEPARATE TYPE REAR SEAT BACK ASSY (SEPARATED TYPE REAR SEAT) (See  REAR SEAT (SEDAN WITH SEPARATE TYPE)  ) 
  6. REMOVE SEPARATE TYPE REAR SEAT BACK ASSY (SEPARATED TYPE REAR SEAT) (See  REAR SEAT (SEDAN WITH SEPARATE TYPE)  ) 
  7. REMOVE ROOM PARTITION BOARD RH (SEPARATED TYPE REAR SEAT) 
  8. REMOVE ROOM PARTITION BOARD LH (SEPARATED TYPE REAR SEAT) 
  9. REMOVE ROOF SIDE GARNISH INNER RH (See  ROOF HEADLINING ASSY  ) 
  10. REMOVE ROOF SIDE GARNISH INNER LH (See  ROOF HEADLINING ASSY  ) 
  11. REMOVE PACKAGE TRAY TRIM PANEL ASSY (See  REPLACEMENT  ) 
  12. REMOVE BACK WINDOW MOLDING OUTSIDE UPPER 
    1. Using a knife, cut off the molding as shown in the illustration.
      NOTE: Do not damage the body with the knife.
    2. Remove the remaining molding.

    HINT:

    When removing, make a cut partly, pull and remove it by hand.

    Fig 1: Identifying Back Window Molding Cutting Point
    G02825687Courtesy of © TOYOTA, LICENSE AGREEMENT TMS1002
  13. REMOVE BACK WINDOW GLASS 

    HINT:

    Depending on a vehicle type, either a 1-piece type or a 2-piece type of stopper is installed.

    Fig 2: Identifying Stopper Types
    G02825688Courtesy of © TOYOTA, LICENSE AGREEMENT TMS1002
    1. Push a piano wire through between the body and glass from the interior.
    2. Apply protective tape to the outer surface to keep the surface from being scratched.
    3. Tie both wire ends to wooden blocks or similar objects.
      NOTE:
      • When separating the glass, take care not to damage the paint and interior/exterior ornaments.
      • To prevent the piano wire to be cut, do not cross it.
    4. Cut the adhesive by pulling the piano wire around it.
    5. Using a suction rubber, remove the glass.
      Fig 3: Separating The Glass
      G02825689Courtesy of © TOYOTA, LICENSE AGREEMENT TMS1002
    NOTE: Leave as much adhesive on the body as possible when cutting off the glass.
  14. CLEAN BACK WINDOW GLASS 
    1. Using a scraper, remove the damaged stoppers, dam and adhesive sticking to the glass.
    2. Clean the outer circumference of the glass with white gasoline.
    NOTE:
    • Do not touch the glass after cleaning it.
    • Be careful not to damage the body.
    Fig 4: Removing Damaged Stoppers, Dam And Adhesive
    G02825690Courtesy of © TOYOTA, LICENSE AGREEMENT TMS1002
  15. INSTALL BACK WINDOW GLASS STOPPER NO. 1 
    1. Install 2 new back window glass stoppers No. 1 to the body.
  16. INSTALL BACK WINDW GLASS STOPPER NO. 2 
    1. Coat the installation part of the stopper with Primer G.
      NOTE:
      • Dry the primer coating for 3 minutes or more.
      • Do not apply too much primer.
    2. Install 2 new back window glass stoppers No. 2 onto the glass as shown in the illustration.

      A: 40.0 mm (1.575 in.) 

      B: 11.3 mm (0.445 in.) 

      Fig 5: Installing Back Window Glass Stoppers No. 2
      G02825691Courtesy of © TOYOTA, LICENSE AGREEMENT TMS1002
  17. INSTALL BACK WINDOW GLASS ADHESIVE DAM 
    1. Coat the installation part of the window glass adhesive dam with Primer G.
      NOTE:
      • Dry the primer coating for 3 minutes or more.
      • Do not apply too much primer.
    2. Install a new window glass adhesive dam as shown in the illustration.

      A: 25.0 mm (0.984 in.) 

      B: 9.0 mm (0.354 in.) 

      Fig 6: Installing Back Window Glass Adhesive Dam
      G02825692Courtesy of © TOYOTA, LICENSE AGREEMENT TMS1002
  18. INSTALL BACK WINDOW GLASS 
    1. Clean and shape the contact surface of the vehicle's body
      1. Using a knife, cut away any rough areas of the body.

        HINT:

        Leave as much adhesive on the body as possible.

      2. Clean the cut surface of the adhesive with a piece of shop rag saturated in cleaner.
        Fig 7: Applying Back Window Glass Adhesive
        G02825693Courtesy of © TOYOTA, LICENSE AGREEMENT TMS1002
    2. Position the glass.
      1. Using a suction rubber, place the glass in the correct position.
      2. Check that all the contacting parts of the glass rim are perfectly even.
      3. Place reference marks between the glass and body.
        NOTE: Check that the stoppers are attached to the body correctly.

        HINT:

        When reusing the glass, check and correct the reference mark's positions.

      4. Remove the glass.
    3. Coat the contact surface of the body panel with Primer M.
      1. Using a brush, coat the exposed part of the contact surface on the vehicle side with Primer M.
      NOTE:
      • Dry the primer coating for 3 minutes or more.
      • Do not apply too much primer.
    4. Coat the contact surface of the glass with Primer G.
      1. Using a brush or sponge, coat the edge of the glass and the contact surface with Primer G.
      NOTE:
      • Dry the primer coating for 3 minutes or more.
      • Do not apply too much primer.
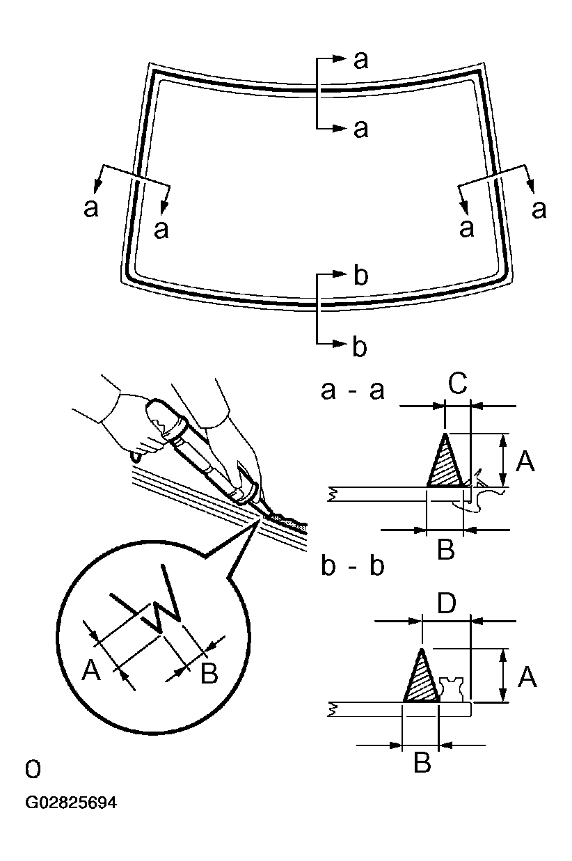
    5. Apply adhesive.
      1. Cut off the tip of the cartridge nozzle as shown in the illustration.

        Part No. 08850-00801 or equivalent 

        Fig 8: Applying Glass Adhesive
        G02825694Courtesy of © TOYOTA, LICENSE AGREEMENT TMS1002

        HINT:

        After cutting off the tip, use all adhesive within the time described in the table below.

        Adhesive Tackfree Time Table

        Temperature Tackfree time
        35°C (95°F) 15 minutes
        20°C (68°F) 100 minutes
        5°C (41°F) 8 hours
      2. Load the sealer gun with the cartridge.
      3. Coat the glass with adhesive as shown in the illustration.

      A: 12.5 mm (0.492 in.) or more 

      B: 8 mm (0.32 in.) or more 

      C: 6.5 mm (0.256 in.) 

      D: 13 mm (0.51 in.) 

    6. Install the glass.
      1. Using a suction rubber, position the glass so that the reference marks are aligned, and press it in gently along the rim.
        NOTE:
        • Dry the primer coating for 3 minutes or more.
        • Check that the stoppers are attached to the body correctly.
        • Check the clearance between the body and glass.
      2. Lightly press the glass front surface for close contact.
      3. Using a scraper, remove any excess or protruding adhesive.

    HINT:

    Apply adhesive on the glass rim.

  19. INSTALL BACK WINDOW MOLDING OUTSIDE UPPER 
    1. Install a new back window molding to the back window glass before the adhesive has hardened.
    2. Hold the back window glass in place securely with protective tape or equivalent until the adhesive has completely hardened.
    3. Using a scraper, remove any excess or protruding adhesive before the adhesive has hardened.
    NOTE: Take care not to drive the vehicle during the cure time described in the table below.
    Adhesive Cure Time

    Temperature Cure time
    35°C (95°F) 1.5 hours
    20°C (68°F) 5 hours
    5°C (41°F) 24 hours
  20. INSPECT FOR LEAK AND REPAIR 
    1. Conduct a leak test after the adhesive has completely hardened.
    2. Seal any leak with sealant.
  21. INSTALL REAR SEAT BACK ASSY (FIXED TYPE REAR SEAT) (See  REAR SEAT ASSY (SEDAN WITH BENCH TYPE)  ) 
  22. INSTALL SEPARATE TYPE REAR SEAT BACK ASSY (SEPARATED TYPE REAR SEAT) (See  REAR SEAT (SEDAN WITH SEPARATE TYPE)  ) 
  23. INSTALL SEPARATE TYPE REAR SEAT BACK ASSY (SEPARATED TYPE REAR SEAT) (See  REAR SEAT (SEDAN WITH SEPARATE TYPE)  )