LEMON Manuals: Even more car manuals for everyone: 1960-2025
Home >> Toyota >> 2003 >> Corolla LE, Standard >> Repair and Diagnosis >> Body & Frame >> Windows >> Windshield Glass >> Replacement
April 5, 2026: LEMON Manuals is launched! Read the announcement.

Windshield Glass: Replacement

HINT:

Installation is according to the reverse order of the removal.

  1. REMOVE FR WIPER ARM RH (See  WIPER/WASHER SYSTEMS  ) 
  2. REMOVE FR WIPER ARM LH (See  WIPER/WASHER SYSTEMS  ) 
  3. REMOVE HOOD TO COWL TOP SEAL (See  WIPER/WASHER SYSTEMS  ) 
  4. REMOVE COWL TOP VENTILATOR LOUVER LH (See  WIPER/WASHER SYSTEMS  ) 
  5. REMOVE COWL TOP VENTILATOR LOUVER RH (See  WIPER/WASHER SYSTEMS  ) 
  6. REMOVE FRONT DOOR WEATHERSTRIP RH (See  ROOF HEADLINING ASSY  ) 
  7. REMOVE FRONT DOOR WEATHERSTRIP LH (See  ROOF HEADLINING ASSY  ) 
  8. REMOVE FRONT PILLAR GARNISH RH (See  ROOF HEADLINING ASSY  ) 
  9. REMOVE FRONT PILLAR GARNISH LH (See  ROOF HEADLINING ASSY  ) 
  10. REMOVE INNER REAR VIEW MIRROR ASSY (See  INNER REAR VIEW MIRROR ASSEMBLY  ) 
  11. REMOVE RH VISOR ASSY (See  ROOF HEADLINING ASSY  ) 
  12. REMOVE LH VISOR ASSY (See  ROOF HEADLINING ASSY  ) 
  13. REMOVE GLOVE BOX LAMP ASSY (See  ROOF HEADLINING ASSY  ) 
  14. REMOVE ASSIST GRIP SUB-ASSY (See  ROOF HEADLINING ASSY  ) 
  15. REMOVE VISOR HOLDER (See  ROOF HEADLINING ASSY  ) 
  16. REMOVE ROOF HEADLINING ASSY (See  ROOF HEADLINING ASSY  ) 
  17. REMOVE ROOF DRIP SIDE FINISH MOLDING CENTER RH (See  ROOF DRIP SIDE FINISH MOLDING CENTER LH  ) 
  18. REMOVE ROOF DRIP SIDE FINISH MOLDING CENTER LH (See  ROOF DRIP SIDE FINISH MOLDING CENTER LH  ) 
  19. REMOVE WINDSHIELD MOLDING OUTSIDE 
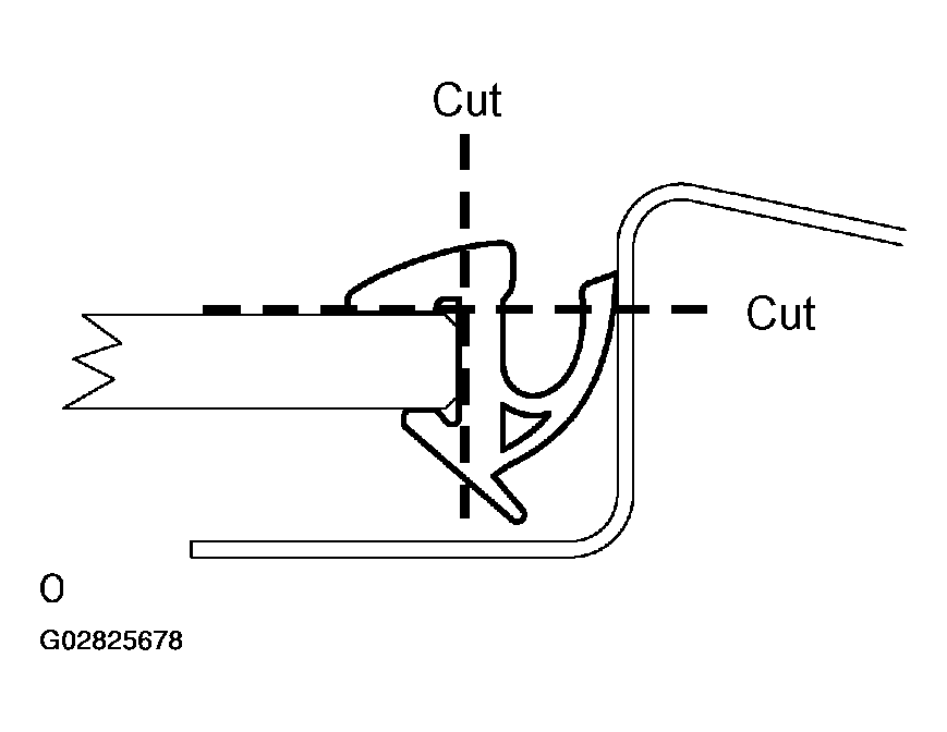
    1. Using a knife, cut off the molding as shown in the illustration.
      NOTE: Do not damage the body with the knife.
    2. Remove the remaining molding.

      HINT:

      When removing, make a cut partly, pull and remove it by hand.

      Fig 1: Identifying Windshield Molding Cutting Point
      G02825678Courtesy of © TOYOTA, LICENSE AGREEMENT TMS1002
  20. REMOVE WINDSHIELD GLASS 

    HINT:

    Depending on a vehicle type, either a 1-piece type or a 2-piece type of stopper is installed.

    1. Push a piano wire through between the body and glass from the interior.

      HINT:

      Apply protective tape to the outer surface to keep the surface from being scratched.

      Fig 2: Identifying Stopper Types
      G02825679Courtesy of © TOYOTA, LICENSE AGREEMENT TMS1002
    2. Tie both wire ends to wooden blocks or similar objects.
      NOTE:
      • When separating the glass, take care not to damage the paint and interior/exterior ornaments.
      • To prevent the piano wire to be cut, do not cross it.
    3. Cut the adhesive by pulling the piano wire around it.
    4. Using a suction rubber, remove the glass.
    NOTE: Leave as much adhesive on the body as possible when cutting off the glass.
    Fig 3: Separating The Glass
    G02825680Courtesy of © TOYOTA, LICENSE AGREEMENT TMS1002
  21. CLEAN WINDSHIELD GLASS 
    1. Using a scraper, remove the damaged stoppers, dam and adhesive sticking to the glass.
    2. Clean the outer circumference of the glass with white gasoline.
    NOTE:
    • Do not touch the glass after cleaning it.
    • Be careful not to damage the body.
    Fig 4: Removing Damaged Stoppers, Dam And Adhesive
    G02825681Courtesy of © TOYOTA, LICENSE AGREEMENT TMS1002
  22. INSTALL WINDSHIELD GLASS STOPPER NO. 1 
    1. Install 2 new windshield glass stoppers No. 1 to the body.
  23. INSTALL WINDSHIELD GLASS STOPPER NO. 2 
    1. Coat the installation part of the stopper with Primer G.
      NOTE:
      • Dry the primer coating for 3 minutes or more.
      • Do not apply too much primer.
    2. Install 2 new windshield glass stoppers No. 2 onto the glass as shown in the illustration.

      A: 40.0 mm (1.575 in.) 

      B: 7.7 mm (0.303 in.) 

      Fig 5: Installing Wind Shied Glass Stoppers No. 2
      G02825682Courtesy of © TOYOTA, LICENSE AGREEMENT TMS1002
  24. INSTALL FRONT PILLAR OUTER DAM 
    1. Coat the installation part of the front pillar outer dam with Primer G.
      NOTE:
      • Dry the primer coating for 3 minutes or more.
      • Do not apply too much primer.
    2. Install 2 new front pillar outer dams with double-stick tape as shown in the illustration.
    NOTE: Do not touch the glass face after cleaning it.

    A: 7 mm (0.28 in.) 

    B: 22.5 mm (0.886 in.) 

    C: 45 mm (1.77 in.) 

    D: 5 mm (0.20 in.) 

    Fig 6: Installing Front Pillar Outer Dam
    G02825683Courtesy of © TOYOTA, LICENSE AGREEMENT TMS1002
  25. INSTALL WINDSHIELD GLASS 
    1. Clean and shape the contact surface of the vehicle's body.
      1. Using a knife, cut away any rough areas on the body.

        HINT:

        Leave as much adhesive on the body as possible.

      2. Clean the cut surface of the adhesive with a piece of shop rag saturated in cleaner.
    2. Position the glass.
      1. Using a suction rubber, place the glass in the correct position.
      2. Check that all the contacting parts of the glass rim are perfectly even.
      3. Place reference marks between the glass and body.
        NOTE: Check that the stoppers are attached to the body correctly.

        HINT:

        When reusing the glass, check and correct the reference mark's positions.

        Fig 7: Applying Windshield Glass Adhesive
        G02825684Courtesy of © TOYOTA, LICENSE AGREEMENT TMS1002
      4. Remove the glass.
    3. Coat the contact surface of the body panel with Primer M.
    4. Using a brush, coat the exposed part of the contact surface on the vehicle side with Primer M.
      NOTE:
      • Dry the primer coating for 3 minutes or more.
      • Do not coat the adhesive with Primer M.
      • Do not apply too much primer.
    5. Coat the contact surface of the glass with Primer G.
      1. Using a brush or sponge, coat the edge of the glass and the contact surface with Primer G.
      NOTE:
      • Dry the primer coating for 3 minutes or more.
      • Do not apply too much primer.
    6. Apply adhesive.
      1. Cut off the tip of the cartridge nozzle as shown in the illustration.

        Part No. 08850-00801 or equivalent 

        HINT:

        After cutting off the tip, use all adhesive within the time described in the table below.

        Adhesive Tackfree Time Table

        Temperature Tackfree time
        35°C (95°F) 15 minutes
        20°C (68°F) 100 minutes
        5°C (41°F) 8 hours
      2. Load the sealer gun with the cartridge.
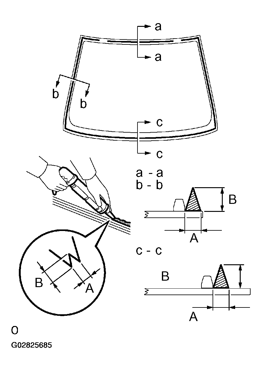
      3. Coat the glass with adhesive, as shown in the illustration.

      A: 8.0 mm (0.315 in.) or more 

      B: 12.5 mm (0.492 in.) or more 

      Fig 8: Applying Windshield Glass Adhesive
      G02825685Courtesy of © TOYOTA, LICENSE AGREEMENT TMS1002
    7. Install the glass.
      1. Using a suction rubber, position the glass so that the reference marks are aligned, and press it in gently along the rim.
        NOTE:
        • Dry the primer coating for 3 minutes or more.
        • Check that the stoppers are attached to the body correctly.
        • Check the clearance between the body and glass.
      2. Lightly press the glass front surface for close contact.
      3. Using a scraper, remove any excess or protruding adhesive.

      HINT:

      Apply adhesive on the glass rim.

  26. INSTALL WINDSHIELD MOLDING OUTSIDE 
    1. Install a new windshield molding to the windshield glass before the adhesive has hardened.
    2. Hold the windshield glass in place securely with protective tape or equivalent until the adhesive has completely hardened.
    3. Using a scraper, remove any excess or protruding adhesive before the adhesive has hardened.
    NOTE: Take care not to drive the vehicle during the curing time described in the table below.
    Adhesive Cure Time Table

    Temperature Cure time
    35°C (95°F) 1.5 hours
    20°C (68°F) 5 hours
    5°C (41°F) 24 hours
  27. INSPECT FOR LEAK AND REPAIR 
    1. Conduct a leak test after the adhesive has completely hardened.
    2. Seal any leak with sealant.