LEMON Manuals: Even more car manuals for everyone: 1960-2025
Home >> Toyota >> 2003 >> ECHO 2D Sedan, Standard >> Repair and Diagnosis >> Body & Frame >> Windows >> Power Window Control System >> Inspection
April 5, 2026: LEMON Manuals is launched! Read the announcement.

Power Window Control System: Inspection

  1. 2 door models: 

    INSPECT POWER WINDOW MASTER SWITCH CONTINUITY 

    Driver's switch: 

    POWER WINDOW MASTER SWITCH CONTINUITY

    Switch position Tester connection Specified condition
    UP 1 - 4, 3 - 9 Continuity
    OFF 1 - 3, 1 - 4 Continuity
    DOWN 1 - 3, 4 - 9 Continuity

    Passenger's switch (Window unlock): 

    PASSENGER'S WINDOW SWITCH CONTINUITY

    Switch position Tester connection Specified condition
    UP 1 - 10, 8 - 9 Continuity
    OFF 1 - 8, 1 - 10 Continuity
    DOWN 1 - 8, 9 - 10 Continuity

    Passenger's switch (Window lock): 

    PASSENGER'S WINDOW SWITCH CONTINUITY

    Switch position Tester connection Specified condition
    UP 8 - 9 Continuity
    OFF 8 - 10 Continuity
    DOWN 9 - 10 Continuity

    If continuity is not as specified, replace the switch.

    Fig 1: Locating Window Master Switch
    G02826003Courtesy of © TOYOTA, LICENSE AGREEMENT TMS1002
  2. 4 door models: 

    INSPECT POWER WINDOW MASTER SWITCH CONTINUITY 

    Front driver's switch: 

    FRONT DRIVER'S SWITCH CONTINUITY

    Switch position Tester connection Specified condition
    UP 1 - 10, 1 - 11, 3 - 5, 4 - 5 Continuity
    OFF 1 - 3, 1 - 4, 3 - 5, 4 - 5 Continuity
    DOWN 5 - 10, 5 - 11, 1 - 3, 1 - 4 Continuity

    Front passenger's switch (Window unlock): 

    FRONT PASSENGER'S SWITCH CONTINUITY

    Switch position Tester connection Specified condition
    UP 10 - 14, 11 - 14, 3 - 6, 4 - 6 Continuity
    OFF 3 - 14, 4 - 14, 3 - 6, 4 - 6 Continuity
    DOWN 6 - 10, 6 - 11, 3 - 14, 4 - 14 Continuity
    Fig 2: Locating Window Master Switch (4 Door Models)
    G02826004Courtesy of © TOYOTA, LICENSE AGREEMENT TMS1002

    Front passenger's switch (Window lock): 

    FRONT PASSENGER'S SWITCH CONTINUITY

    Switch position Tester connection Specified condition
    UP 10 - 14, 11 - 14 Continuity
    OFF 6 - 14 Continuity
    DOWN 6 - 10, 6 - 11 Continuity

    Rear left switch (Window unlock): 

    REAR LEFT SWITCH CONTINUITY

    Switch position Tester connection Specified condition
    UP 9 - 10, 9 - 11 3 - 12, 4 - 12 Continuity
    OFF 3 - 9, 4 - 9 3 - 12, 4 - 12 Continuity
    DOWN 10 - 12, 11 - 12 3 - 9, 4 - 9 Continuity

    Rear left switch (Window lock): 

    REAR SWITCH CONTINUITY

    Switch position Tester connection Specified condition
    UP 9 - 10, 9 - 11 Continuity
    OFF 9 - 12 Continuity
    DOWN 10 - 12, 11 - 12 Continuity

    Rear right switch (Window unlock): 

    REAR RIGHT SWITCH CONTINUITY

    Switch position Tester connection Specified condition
    UP 8 - 10, 8 - 11 3 - 13, 4 - 13 Continuity
    OFF 3 - 8, 4 - 8 3 - 13, 4 - 13 Continuity
    DOWN 10 - 13, 11 - 13 3 - 8, 4 - 8 Continuity

    Rear right switch (Window lock): 

    REAR RIGHT SWITCH CONTINUITY

    Switch position Tester connection Specified condition
    UP 8 - 10, 8 - 10 Continuity
    OFF 8 - 13 Continuity
    DOWN 10 - 13, 11 - 13 Continuity

    If continuity is not as specified, replace the master switch.

  3. 2 door models: 

    INSPECT ONE TOUCH POWER WINDOW SYSTEM (Using an ammeter) 

    1. Disconnect the connector from the master switch.
    2. Connect the positive (+) lead from the ammeter to terminal 3 on the wire harness side connector and the negative (-) lead to the negative (-) terminal of the battery.
    3. Connect the positive (+) lead from the battery to terminal 4 on the wire harness side connector.
    4. As the window goes down, check that the current is approximately 7 A.
      Fig 3: Checking Current As Window Goes Down
      G02826005Courtesy of © TOYOTA, LICENSE AGREEMENT TMS1002
    5. Check that the current increases up to approximately 14.5 A or more when the window stops going down.

    HINT:

    The circuit breaker opens for 7 - 13 seconds after the window stops going down, so that check must be made before the circuit breaker operates.

    If operation is not as specified, replace the master switch.

    Fig 4: Checking Current As Window Comes To A Stop
    G02826006Courtesy of © TOYOTA, LICENSE AGREEMENT TMS1002
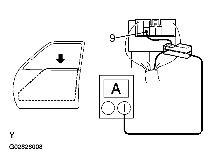
  4. 2 door models: 

    INSPECT ONE TOUCH POWER WINDOW SYSTEM (Using an ammeter with a current - measuring probe) 

    1. Remove the master switch with connector connected.
    2. Attach a current - measuring probe to terminal 9 of the wire harness.
    3. Turn the ignition switch ON, and set the power window switch in the down position.
      Fig 5: Checking Current As Window Goes Down With Current Measuring Probe
      G02826007Courtesy of © TOYOTA, LICENSE AGREEMENT TMS1002
    4. As the window goes down, check that the current is approximately 7 A.
    5. Check that the current increases up to approximately 14.5 A or more when the window stops going down.

    HINT:

    The circuit breaker opens for 7 - 13 seconds after the window stops going down, so that check must be made before the circuit breaker operates.

    If operation is not as specified, replace the master switch.

    Fig 6: Checking Current As Window Comes To A Stop With Current Measuring Probe
    G02826008Courtesy of © TOYOTA, LICENSE AGREEMENT TMS1002
  5. 4 door models: 

    INSPECT ONE TOUCH POWER WINDOW SYSTEM (Using an ammeter) 

    1. Disconnect the connector from the master switch.
    2. Connect the positive (+) lead from the ammeter to terminal 1 on the wire harness side connector and the negative (-) lead to the negative terminal of the battery.
    3. Connect the positive (+) lead from the battery to terminal 5 on the wire harness side connector.
    4. As the window goes down, check that the current flow is approximately 7 A.
      Fig 7: Checking Current As Window Goes Down
      G02826009Courtesy of © TOYOTA, LICENSE AGREEMENT TMS1002
    5. Check that the current increases up to approximately 14.5 A or more when the window stops going down.

    HINT:

    The circuit breaker opens some 4 - 40 seconds after the window stops going down, so that check must be made before the circuit breaker operates.

    If the operation is as specified, replace the master switch.

    Fig 8: Checking Current As Window Comes To A Stop
    G02826010Courtesy of © TOYOTA, LICENSE AGREEMENT TMS1002
  6. 4 door models: 

    INSPECT ONE TOUCH POWER WINDOW SYSTEM (Using an ammeter with a current - measuring probe) 

    1. Remove the master switch with connector connected.
    2. Attach a current - measuring probe to terminal 10 of the wire harness.
    3. Turn the ignition switch ON and set the power window switch in the down position.
    4. As the window goes down, check that the current flow is approximately 7 A.
    5. Check that the current increases up to approximately 14.5 A or more when the window stops going down.

    HINT:

    The circuit breaker opens for 4 - 40 seconds after the window stops going down, so that check must be made before the circuit breaker operates.

    If operation is as specified, replace the master switch.

    Fig 9: Checking Current As Window Goes Down With Current Measuring Probe
    G02826011Courtesy of © TOYOTA, LICENSE AGREEMENT TMS1002
    Fig 10: Checking Current As Window Comes To A Stop With Current Measuring Probe
    G02826012Courtesy of © TOYOTA, LICENSE AGREEMENT TMS1002
  7. INSPECT PASSENGER'S POWER WINDOW SWITCH CONTINUITY 
    PASSENGER'S POWER WINDOW SWITCH CONTINUITY

    Switch position Tester connection Specified condition
    UP 1 - 2, 3 - 4 Continuity
    OFF 1 - 2, 3 - 5 Continuity
    DOWN 1 - 4, 3 - 5 Continuity

    If continuity is not as specified, replace the switch.

    Fig 11: Locating Passenger's Power Window Switch
    G02826013Courtesy of © TOYOTA, LICENSE AGREEMENT TMS1002
  8. 4 door models: 

    INSPECT REAR DOOR POWER WINDOW SWITCH CONTINUITY 

    REAR DOOR POWER WINDOW SWITCH CONTINUITY

    Switch position Tester connection Specified condition
    UP 1 - 2, 3 - 4 Continuity
    OFF 1 - 2, 4 - 5 Continuity
    DOWN 2 - 3, 4 - 5 Continuity

    If continuity is not as specified, replace the switch.

    Fig 12: Inspecting Power Window Switch Connection
    G02826014Courtesy of © TOYOTA, LICENSE AGREEMENT TMS1002
  9. INSPECT POWER MAIN RELAY CONTINUITY 
    POWER MAIN RELAY CONTINUITY

    Condition Tester connection Specified condition
    Constant 1 - 2 Continuity
    Apply B + between terminals 1 and 2 3 - 5 Continuity

    If continuity is not as specified, replace the switch.

    Fig 13: Identifying Main Relay Terminal Connections
    G02826015Courtesy of © TOYOTA, LICENSE AGREEMENT TMS1002
  10. Front left side door: 

    INSPECT POWER WINDOW MOTOR OPERATION 

    1. Connect the positive (+) lead from the battery to terminal 4 and the negative (-) lead to terminal 5, and check that the motor turns clockwise.
      Fig 14: Checking Motor Turns Clockwise
      G02826016Courtesy of © TOYOTA, LICENSE AGREEMENT TMS1002
    2. Reverse the polarity, check that the motor turns counterclockwise.

    If operation is not as specified, replace the motor.

    Fig 15: Check Motor Turns Counter Clockwise
    G02826017Courtesy of © TOYOTA, LICENSE AGREEMENT TMS1002
  11. Front right side door: 

    INSPECT POWER WINDOW MOTOR OPERATION 

    1. Connect the positive (+) lead from the battery to terminal 5 and the negative (-) lead to terminal 4, and check that the motor turns clockwise.
      Fig 16: Checking That Motor Turns Clockwise
      G02826018Courtesy of © TOYOTA, LICENSE AGREEMENT TMS1002
    2. Reverse the polarity, check that the motor turns counterclockwise.

    If operation is not as specified, replace the motor.

    Fig 17: Checking That Motor Turns Counter Clockwise
    G02826019Courtesy of © TOYOTA, LICENSE AGREEMENT TMS1002
  12. Rear left side door: 

    INSPECT POWER WINDOW MOTOR OPERATION 

    1. Connect the positive (+) lead from the battery to terminal 1 and the negative (-) lead to terminal 2, and check that the motor turns clockwise.
      Fig 18: Checking That Motor Turns Clockwise
      G02826020Courtesy of © TOYOTA, LICENSE AGREEMENT TMS1002
    2. Reverse the polarity, check that the motor turns counter-clockwise.

    If operation is not as specified, replace the motor.

    Fig 19: Checking That Motor Turns Counter Clockwise
    G02826021Courtesy of © TOYOTA, LICENSE AGREEMENT TMS1002
  13. Rear right side door: 

    INSPECT POWER WINDOW MOTOR OPERATION 

    1. Connect the positive (+) lead from the battery to terminal 1 and the negative (-) lead to terminal 2, and check that the motor turns clockwise.
      Fig 20: Checking That Motor Turns Clockwise
      G02826022Courtesy of © TOYOTA, LICENSE AGREEMENT TMS1002
    2. Reverse the polarity, check that the motor turns counter-clockwise.

    If operation is not as specified, replace the motor.

    Fig 21: Checking That Motor Turns Counter Clockwise
    G02826023Courtesy of © TOYOTA, LICENSE AGREEMENT TMS1002
  14. Front Door: 

    INSPECT POWER WINDOW MOTOR PTC THERMISTOR OPERATION 

    1. Disconnect the connector from the Driver door Window motor.
    2. Connect the positive (+) lead from the ammeter to terminal 5 on the wire harness side connector and the negative (-) lead to negative terminal of the battery.
    3. Connect the positive (+) lead from the battery to terminal 4 on the wire harness side connector, and raise the window to the fully position.
    4. Continue to apply voltage, and check that the current changes to less than 1 A within 4 to 90 seconds.
    5. Disconnect the leads from the terminals.
    6. Approximately 60 seconds later, connect the positive (+) lead from the battery to terminal 5 and the negative (-) lead to terminal 4, and check that the window begins to descend.

    If operation is not as specified, replace the motor.

    Fig 22: Connecting Positive (+) Lead From Ammeter To Terminal 5 On Wire Harness Side Connection
    G02826024Courtesy of © TOYOTA, LICENSE AGREEMENT TMS1002
    Fig 23: Connecting Positive (+) Lead From Battery To Terminal 4 On Harness Side Connector
    G02826025Courtesy of © TOYOTA, LICENSE AGREEMENT TMS1002
  15. Rear LH door: 

    INSPECT POWER WINDOW MOTOR PTC THERMISTOR OPERATION 

    1. Disconnect the connector from the power window motor.
    2. Connect the positive (+) lead from the ammeter to terminal 1 on the wire harness side connector and the negative (-) lead to negative terminal of the battery.
    3. Connect the positive (+) lead from the battery to terminal 2 on the wire harness side connector, and raise the window to the fully position.
    4. Fig 24: Connecting Positive (+) Lead From Ammeter To Terminal 1 On Wire Harness Side Connector
      G02826026Courtesy of © TOYOTA, LICENSE AGREEMENT TMS1002
    5. Continue to apply voltage and check that the current changes to less than 1 A within 4 to 90 seconds.
    6. Disconnect the leads from the terminals.
    7. Approximately 60 seconds later, connect the positive (+) lead from the battery to terminal 1 and the negative (-) lead to terminal 2, and check that the window begins to descend.

    If operation is not as specified, replace the motor.

    Fig 25: Checking That Window Descends
    G02826027Courtesy of © TOYOTA, LICENSE AGREEMENT TMS1002
  16. Rear RH Door: 

    INSPECT POWER WINDOW MOTOR PTC THERMISTOR OPERATION 

    1. Disconnect the connector from the power window motor.
    2. Connect the positive (+) lead from the ammeter to terminal 2 on the wire harness side connector and the negative (-) lead to negative terminal of the battery.
    3. Connect the positive (+) lead from the battery to terminal 1 on the wire harness side connector, and raise the window to the fully position.
    4. Fig 26: Connecting Positive (+) Lead From Ammeter To Terminal 2 On Wire Harness Side Connector
      G02826028Courtesy of © TOYOTA, LICENSE AGREEMENT TMS1002
    5. Continue to apply voltage and check that the current changes to less than 1 A within 4 to 90 seconds.
    6. Disconnect the leads from the terminals.
    7. Approximately 60 seconds later, connect the positive (+) lead from the battery to terminal 2 and the negative (-) lead to terminal 1, and check that the window begins to descend.
      Fig 27: Checking That Window Descends
      G02826029Courtesy of © TOYOTA, LICENSE AGREEMENT TMS1002