LEMON Manuals: Even more car manuals for everyone: 1960-2025
Home >> Toyota >> 2003 >> ECHO 2D Sedan, Standard >> Repair and Diagnosis >> Body & Frame >> Windows >> Windshield >> Installation
April 5, 2026: LEMON Manuals is launched! Read the announcement.

Body & Frame: Windows: Windshield: Installation

  1. CLEAN AND SHAPE CONTACT SURFACE OF BODY 
    1. Using a knife, cut away any rough areas on the body.

      HINT:

      Leave as much of the adhesive on the body as possible.

    2. Clean the cutting surface of the adhesive with a shop rag saturated in cleaner.
      Fig 1: Locating Body Surface
      G02826216Courtesy of © TOYOTA, LICENSE AGREEMENT TMS1002

    HINT:

    Even if all the adhesive has been removed, clean the body.

  2. CLEAN REMOVED GLASS 
    1. Using a scraper, remove the damaged stopper, dam and adhesive sticking to the glass.
    2. Clean the glass with cleaner.
    NOTE:
    • Do not touch the glass face after cleaning it.
    • Be careful not to damage the glass.
    Fig 2: Cleaning Glass
    G02826217Courtesy of © TOYOTA, LICENSE AGREEMENT TMS1002
  3. INSTALL NEW STOPPERS 

    Install new stoppers onto the glass.

    Fig 3: Locating Stopper
    G02826218Courtesy of © TOYOTA, LICENSE AGREEMENT TMS1002
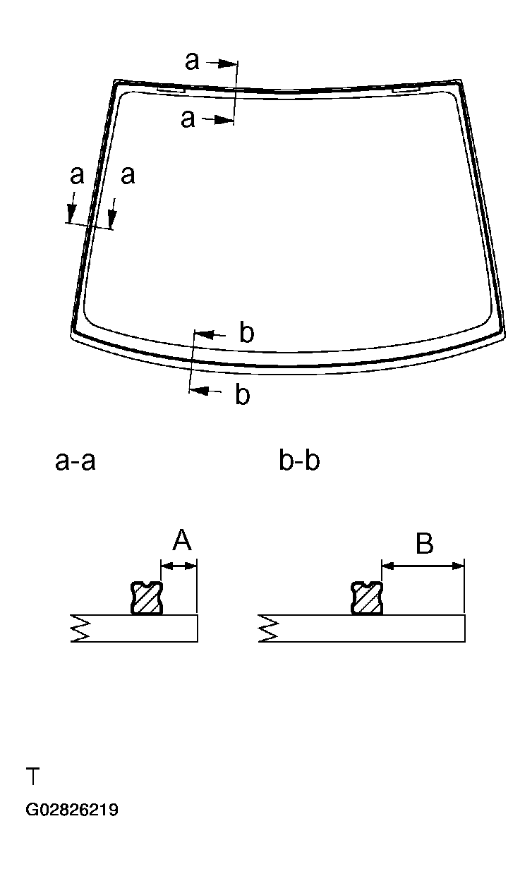
  4. INSTALL NEW DAM 

    Install a new dam with adhesive tape as shown in the illustration.

    7.0 mm (0.276 in.) 

    23.5 mm (0.925 in.) 

    Fig 4: Locating New Dam
    G02826219Courtesy of © TOYOTA, LICENSE AGREEMENT TMS1002
  5. POSITION GLASS 
    1. Using a suction rubber, place the glass in the correct position.
    2. Check that all contacting parts of the glass rim are perfectly even.
    3. Place reference marks between the glass and body.
    4. Remove the glass.
      Fig 5: Installing Wind Shield Glass
      G02826220Courtesy of © TOYOTA, LICENSE AGREEMENT TMS1002
  6. CLEAN CONTACT SURFACE OF GLASS 

    Using a cleaner, clean the contact surface which is black-colored area around the entire glass rim.

    NOTE: Do not touch the glass face after cleaning it.
    Fig 6: Using Glass Cleaner
    G02826221Courtesy of © TOYOTA, LICENSE AGREEMENT TMS1002
  7. COAT CONTACT SURFACE OF BODY WITH PRIMER "M" 

    Using a brush, coat Primer M to the exposed part of body on the vehicle side.

    NOTE:
    • Let the primer coating dry for 3 minutes or more.
    • Do not coat Primer M to the adhesive.
    • Do not keep any of the opened Primer M for later use.
    Fig 7: Applying Primer M
    G02826222Courtesy of © TOYOTA, LICENSE AGREEMENT TMS1002
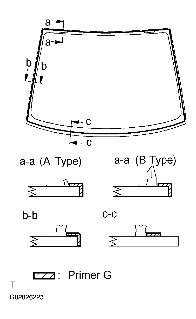
  8. COAT CONTACT SURFACE OF GLASS WITH PRIMER "G" 
    1. Using a brush or a sponge, coat the edge of the glass and the contact surface with Primer G.
    2. When the primer is coated wrongly to the area other than the specified, wipe it off with a clean shop rag before the primer dries.
    NOTE:
    • Let the primer coating dry for 3 minutes or more.
    • Do not keep any of the opened Primer G for later use.
  9. APPLY ADHESIVE 
    1. Cut off the tip of the cartridge nozzle.

      Part No. 08850-00801 or equivalent 

      HINT:

      After cutting off the tip, use all adhesive within the time described in the table below.

      ADHESIVE TACKFREE TIME

      Temperature Tackfree time
      35°C(95°F) 15 minutes
      20 °C(68 °F) 100 minutes
      5 °C(41 °F) 8 hours
    2. Load the cartridge into the sealer gun.
      Fig 8: Locating Glass And Primer G
      G02826223Courtesy of © TOYOTA, LICENSE AGREEMENT TMS1002
    3. Coat the glass with adhesive as shown.

      12.5 mm (0.492 in.) 

      8.0 mm (0.315 in.) 

      Fig 9: Locating Glass And Adhesive
      G02826224Courtesy of © TOYOTA, LICENSE AGREEMENT TMS1002
    4. INSTALL WINDSHIELD GLASS AND MOULDING 
      1. Install the glass, aligning the reference marks using a suction rubber.

        HINT:

        Check to see that the stoppers are attached to the body correctly.

      2. Lightly press the glass front surface for close contact.
        Fig 10: Installing Wind Shield Glass
        G02826225Courtesy of © TOYOTA, LICENSE AGREEMENT TMS1002
      3. Correct insufficient or protruded adhesive agent using a spatula.

        HINT:

        Apply the adhesive agent up to the windshield glass edge.

        Fig 11: Locating Wind Shield Glass And Adhesive
        G02826226Courtesy of © TOYOTA, LICENSE AGREEMENT TMS1002
      4. Install a new windshield moulding to the windshield glass before the adhesive agent hardens.

        HINT:

        Install the moulding, aligning the center of moulding with the center of body.

      5. Remove any excessive adhesive agent before it hardens.
      6. Hold the glass and moulding in place securely with a protective tape or equivalent until the adhesive hardens.
      NOTE: Take care not to drive the vehicle during the time described in the table below.
      TEMPERATURE

      Temperature Minimum time prior to driving the vehicle
      35 °C(95 °F) 1.5 hours
      20 °C(68 °F) 5 hours
      5 °C(41 °F) 24 hours
      Fig 12: Locating Windshield Glass And Windshield Moulding
      G02826227Courtesy of © TOYOTA, LICENSE AGREEMENT TMS1002
    5. INSPECT FOR LEAK AND REPAIR 
      NOTE: Conduct a leak test after the hardening time has elapsed.
    6. INSTALL FRONT SIDE OF ROOF HEADLINING (See  INSTALLATION  or  INSTALLATION  ) 
    7. INSTALL ASSIST GRIP 
    8. INSTALL COWL TOP VENTILATOR LOUVERS AND HOOD TO COWL TOP SEAL 
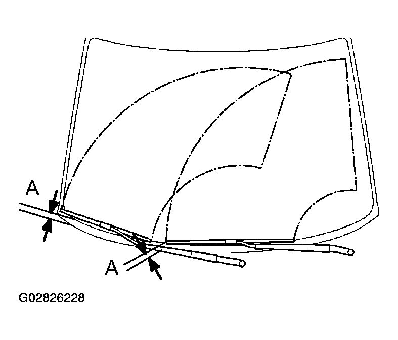
    9. INSTALL WIPER ARMS 
      1. Operate the wiper motor once and turn the wiper switch OFF.
      2. Install the wiper arms and tighten nuts by hand.
      3. Adjust the installation positions of the wiper arms to the positions as shown in the illustration. 

        Approx. 34 mm (1.34 in.) 

      4. Torque the nuts.

        Torque: 20 N.m (205 kgf.cm, 15 ft.lbf) 

      5. Install the 2 wiper arm head caps.
    10. INSTALL FRONT PILLAR GARNISHES 
    11. INSTALL SUN VISORS AND HOLDERS 
    12. INSTALL INNER REAR VIEW MIRROR 
      Fig 13: Locating Windshield Glass And Wiper Arm
      G02826228Courtesy of © TOYOTA, LICENSE AGREEMENT TMS1002