LEMON Manuals: Even more car manuals for everyone: 1960-2025
Home >> Toyota >> 2003 >> Land Cruiser >> Repair and Diagnosis >> Body & Frame >> Seats >> Power Seat Control System >> Inspection
April 5, 2026: LEMON Manuals is launched! Read the announcement.

Power Seat Control System: Inspection

  1. INSPECT DRIVER'S POWER SEAT SWITCH CONTINUITY
    Fig 1: Identifying Driver's Power Seat Switch Connector Terminals
    G02827610Courtesy of © TOYOTA, LICENSE AGREEMENT TMS1002
    SLIDE SWITCH SPECIFICATIONS

    Switch position Tester connection Specified condition
    FRONT 4 - 7, 8 - 11 Continuity
    OFF 4 - 7 - 8 Continuity
    BACK 4 - 11, 7 - 8 Continuity
    FRONT VERTICAL SWITCH SPECIFICATIONS

    Switch position Tester connection Specified condition
    UP 7 - 9, 10 - 11 Continuity
    OFF 7 - 9 - 10 Continuity
    DOWN 7 - 10, 9 - 11 Continuity
    LIFT SWITCH SPECIFICATIONS

    Switch position Tester connection Specified condition
    UP 2 - 11, 3 - 7 Continuity
    OFF 2 - 3 - 7 Continuity
    DOWN 2 - 7, 3 - 11 Continuity
    RECLINING SWITCH SPECIFICATIONS

    Switch position Tester connection Specified condition
    FORWARD 1 - 11, 5 - 7 Continuity
    OFF 1 - 5 - 7 Continuity
    REAR 1 - 7, 5 - 11 Continuity

    If continuity is not as specified, replace the switch.

  2. INSPECT DRIVER'S POWER SEAT SWITCH CIRCUIT 
    Fig 2: Identifying Driver's Power Seat Switch Connector Terminals
    G02827611Courtesy of © TOYOTA, LICENSE AGREEMENT TMS1002
    1. Disconnect the switch connector and connect the seat wire harness to the floor wire harness.
    2. Inspect the connector on the wire harness side.
    POWER SEAT SWITCH TESTER CONNECTION AND SPECIFIED CONDITION

    Tester connection Condition Specified condition
    7 - Ground Constant Continuity
    11 - Ground Constant Battery positive voltage

    If circuit is not as specified, inspect the circuits connected to other parts.

  3. INSPECT PASSENGER'S POWER SEAT SWITCH CONTINUITY 
    Fig 3: Identifying Passenger's Power Seat Switch Connector Terminals
    G02827612Courtesy of © TOYOTA, LICENSE AGREEMENT TMS1002
    SLIDE SWITCH SPECIFICATIONS

    Switch position Tester connection Specified condition
    FRONT 4 - 7, 8 - 11 Continuity
    OFF 4 - 7 - 8 Continuity
    BACK 4 - 11, 7 - 8 Continuity
    FRONT VERTICAL SWITCH SPECIFICATIONS

    Switch position Tester connection Specified condition
    UP 7 - 10, 9 - 11 Continuity
    OFF 7 - 9 - 10 Continuity
    DOWN 6 - 9, 10 - 11 Continuity
    LIFT SWITCH SPECIFICATIONS

    Switch position Tester connection Specified condition
    UP 2 - 7, 3 - 11 Continuity
    OFF 2 - 3 - 7 Continuity
    DOWN 2 - 11, 3 - 7 Continuity
    RECLINING SWITCH SPECIFICATIONS

    Switch position Tester connection Specified condition
    FORWARD 1 - 11, 5 - 7 Continuity
    OFF 1 - 5 - 7 Continuity
    REAR 1 - 7, 5 - 11 Continuity

    If continuity is not as specified, replace the switch.

  4. INSPECT PASSENGER'S POWER SEAT SWITCH CIRCUIT 
    Fig 4: Identifying Passenger's Power Seat Switch Connector Terminals
    G02827613Courtesy of © TOYOTA, LICENSE AGREEMENT TMS1002
    1. Disconnect the switch connector and connect the seat wire harness to the floor wire harness.
    2. Inspect the connector on the wire harness side.
    POWER SEAT SWITCH SPECIFICATIONS

    Tester connection Condition Specified condition
    7 - Ground Constant Continuity
    11 - Ground Constant Battery positive voltage

    If circuit is not as specified, inspect the circuits connected to other parts.

  5. INSPECT DRIVER'S LUMBAR SUPPORT SWITCH CONTINUITY 
    Fig 5: Inspecting Driver's Lumbar Support Switch Connector Terminals
    G02827614Courtesy of © TOYOTA, LICENSE AGREEMENT TMS1002
    LUMBAR SUPPORT SWITCH SPECIFICATIONS

    Switch position Tester connection Specified condition
    FORWARD 1 - 4, 2 - 3 Continuity
    OFF 1 - 2 - 3 Continuity
    RELEASE 1 - 3, 2 - 4 Continuity

    If continuity is not as specified, replace the switch.

  6. INSPECT DRIVER'S LUMBAR SUPPORT SWITCH CIRCUIT 
    Fig 6: Identifying Lumbar Support Switch Connector Terminals
    G02827615Courtesy of © TOYOTA, LICENSE AGREEMENT TMS1002
    1. Disconnect the switch connector and connect the seat wire harness to the floor wire harness.
    2. Inspect the connector on the wire harness side.
    LUMBAR SUPPORT SWITCH SPECIFICATIONS

    Tester connection Condition Specified condition
    3 - Ground Constant Continuity
    4 - Ground Constant Battery positive voltage

    If circuit is not as specified, inspect the circuits connected to other parts.

  7. INSPECT SLIDE MOTOR OPERATION 
    Fig 7: Inspecting Slide Motor Operation
    G02827616Courtesy of © TOYOTA, LICENSE AGREEMENT TMS1002
    1. Connect the positive (+) lead from the battery to terminal 1 and the negative (-) lead to terminal 2, check that the motor turns clockwise.
    2. Reverse the polarity, check that the motor turns counterclockwise.

    If operation is not as specified, replace the seat adjuster.

  8. INSPECT SLIDE MOTOR PTC THERMISTOR OPERATION 
    Fig 8: Inspecting Slide Motor PTC Thermistor Operation
    G02827617Courtesy of © TOYOTA, LICENSE AGREEMENT TMS1002

    (): Passenger side 

    1. Connect the positive (+) lead from the battery to terminal 2 (1), the positive (+) lead from the ammeter to terminal 1 (2) and the negative (-) lead to the battery negative (-) terminal, then move the seat cushion to the front position.
    2. Continue to apply voltage, check that current changes to less than 1 ampere within 4 to 90 seconds.
    3. Disconnect the leads from terminals.
    4. Approximately 60 seconds later, connect the positive (+) lead from the battery to terminal 1 (2) and the negative (-) lead to terminal 2 (1), check that the seat cushion begins to move backwards.
    5. Fig 9: Checking Seat Cushion Backward Movement
      G02827618Courtesy of © TOYOTA, LICENSE AGREEMENT TMS1002

    If operation is not as specified, replace the seat adjuster.

  9. INSPECT FRONT VERTICAL MOTOR OPERATION 
    Fig 10: Inspecting Front Vertical Motor Operation
    G02827619Courtesy of © TOYOTA, LICENSE AGREEMENT TMS1002
    1. Connect the positive (+) lead from the battery to terminal 1 and the negative (-) lead to terminal 2, check that the motor turns clockwise.
    2. Reverse the polarity, check that the motor turns counterclockwise.

    If operation is not as specified, replace the seat adjuster.

  10. INSPECT FRONT VERTICAL MOTOR PTC THERMISTOR OPERATION 

    (): Passenger side 

    1. Connect the positive (+) lead from the battery to terminal 1 (2), the positive (+) lead from the ammeter to terminal 2 (1) and the negative (-) lead to the battery negative (-) terminal, then move the seat cushion to the highest position.
    2. Fig 11: Inspecting Front Vertical Motor PTC Thermistor Operation (1 Of 2)
      G02827620Courtesy of © TOYOTA, LICENSE AGREEMENT TMS1002
    3. Continue to apply voltage, check that the current changes to less than 1 ampere within 4 to 90 seconds.
    4. Disconnect the leads from the terminals.
    5. Approximately 60 seconds later, connect the positive (+) lead from the battery to terminal 2 (1) and the negative (-) lead to terminal 1 (2), check that the seat cushion begins to descend.

    If operation is not as specified, replace the seat adjuster.

    Fig 12: Inspecting Front Vertical Motor PTC Thermistor Operation (2 Of 2)
    G02827621Courtesy of © TOYOTA, LICENSE AGREEMENT TMS1002
  11. INSPECT LIFTER MOTOR OPERATION 
    1. Connect the positive (+) lead from the battery to terminal 1 and the negative (-) lead to terminal 2, check that the motor turns clockwise.
    2. Fig 13: Inspecting Lifter Motor Operation
      G02827622Courtesy of © TOYOTA, LICENSE AGREEMENT TMS1002
    3. Reverse the polarity, check that the motor turns counterclockwise.

    If operation is not as specified, replace the seat adjuster.

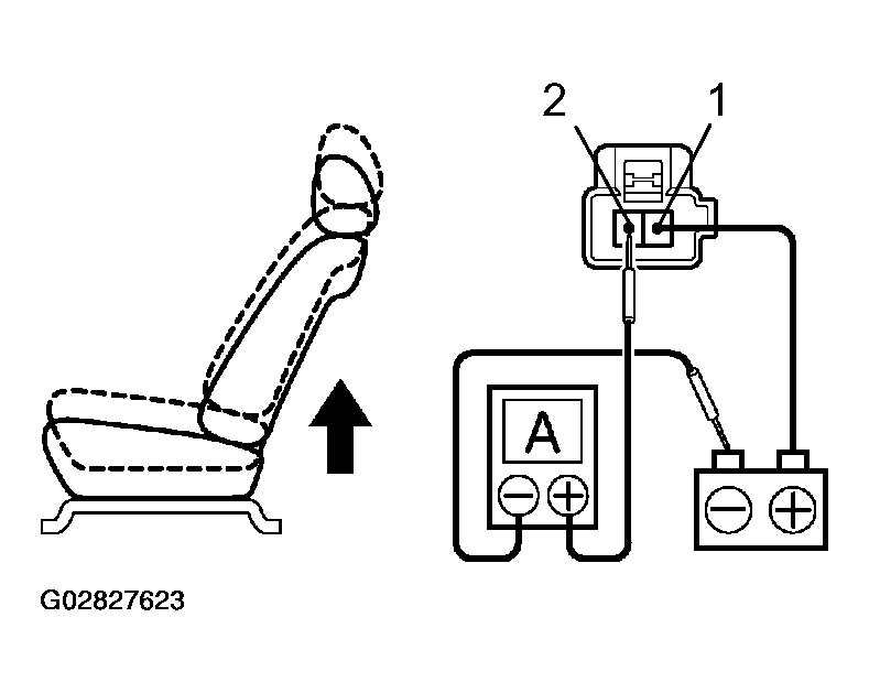
  12. INSPECT LIFTER MOTOR PTC THERMISTOR OPERATION 
    1. Connect the positive (+) lead from the battery to terminal 1 (2), the positive (+) lead from the ammeter to terminal 2 (1) and the negative (-) lead to the battery negative (-) terminal, then move the seat cushion to the highest position.
    2. Continue to apply voltage, check that the current changes to less than 1 ampere within 4 to 90 seconds.
      Fig 14: Inspecting Lifter Motor PTC Thermistor Operation (1 Of 2)
      G02827623Courtesy of © TOYOTA, LICENSE AGREEMENT TMS1002
    3. Disconnect the leads from the terminals.
    4. Approximately 60 seconds later, connect the positive (+) lead from the battery to terminal 2 (1) and the negative (-) lead to terminal 1 (2), check that the seat cushion begins to descend.
    5. Fig 15: Inspecting Lifter Motor PTC Thermistor Operation (2 Of 2)
      G02827624Courtesy of © TOYOTA, LICENSE AGREEMENT TMS1002

    If operation is not as specified, replace the seat adjuster.

    Fig 16: Inspecting Reclining Motor Operation
    G02827625Courtesy of © TOYOTA, LICENSE AGREEMENT TMS1002
  13. INSPECT RECLINING MOTOR OPERATION 
    1. Connect the positive (+) lead from the battery to terminal 1 and the negative (-) lead to terminal 2, check that the motor turns clockwise.
    2. Reverse the polarity, check that the motor turns counterclockwise.

    If operation is not as specified, replace the seat adjuster.

  14. INSPECT RECLINING MOTOR PTC THERMISTOR OPERATION 
    1. Connect the positive (+) lead from the battery to terminal 2, the positive (+) lead from the ammeter to terminal 1 and the negative (-) lead to the battery negative (-) terminal, then recline the seat back to the most forward position.
    2. Continue to apply voltage, check that the current changes to less than 1 ampere within 4 to 90 seconds.
      Fig 17: Inspecting Reclining Motor PTC Thermistor Operation (1 Of 2)
      G02827626Courtesy of © TOYOTA, LICENSE AGREEMENT TMS1002
    3. Disconnect the leads from the terminals.
    4. Approximately 60 seconds later, connect the positive (+) lead from the battery to terminal 1 and the negative (-) lead to terminal 2, check that the seat back begins to fall backward.
    5. Fig 18: Inspecting Reclining Motor PTC Thermistor Operation (2 Of 2)
      G02827627Courtesy of © TOYOTA, LICENSE AGREEMENT TMS1002

    If operation is not as specified, replace the seat adjuster.

  15. INSPECT LUMBAR SUPPORT MOTOR OPERATION 
    1. Connect the positive (+) lead from the battery to terminal 1 and the negative (-) lead to terminal 2, check that the lumbar support moves to release side.
      Fig 19: Inspecting Lumbar Support Motor Operation (1 Of 2)
      G02827628Courtesy of © TOYOTA, LICENSE AGREEMENT TMS1002
    2. Reverse the polarity, check that the lumbar support moves forward.
    3. Fig 20: Inspecting Lumbar Support Motor Operation (2 Of 2)
      G02827629Courtesy of © TOYOTA, LICENSE AGREEMENT TMS1002

    If operation is not as specified, replace the seat adjuster.

  16. INSPECT LUMBAR SUPPORT MOTOR CIRCUIT BREAKER OPERATION 
    1. Connect the positive (+) lead from the battery to terminal 2 and the negative (-) lead to terminal 1 on the lumbar support motor connector and move the lumbar support to front end position.
      Fig 21: Inspecting Lumbar Support Motor Circuit Breaker Operation (1 Of 2)
      G02827630Courtesy of © TOYOTA, LICENSE AGREEMENT TMS1002
    2. Continue to apply voltage, check that a circuit breaker operation noise can be heard within 4 to 60 seconds.
    3. Reverse the polarity, check that the lumbar support begins to move to release side within approximately 60 seconds.
    4. Fig 22: Inspecting Lumbar Support Motor Circuit Breaker Operation (2 Of 2)
      G02827631Courtesy of © TOYOTA, LICENSE AGREEMENT TMS1002

    If operation is not as specified, replace the motor.