LEMON Manuals: Even more car manuals for everyone: 1960-2025
Home >> Toyota >> 2003 >> Land Cruiser >> Repair and Diagnosis >> Body & Frame >> Windows >> Power Window Control System >> Inspection
April 5, 2026: LEMON Manuals is launched! Read the announcement.

Power Window Control System: Inspection

  1. INSPECT POWER WINDOW MASTER SWITCH CIRCUIT 

    Check the voltage and continuity of each terminal of the wire harness side connector.

    Fig 1: Identifying Power Window Master Switch Connector Terminal
    G02827548Courtesy of © TOYOTA, LICENSE AGREEMENT TMS1002
    POWER WINDOW MASTER SWITCH CONTINUITY

    Tester connection Condition Specified condition
    2 (GND) - Body ground Constant Continuity
    10 (BDR) - 2 (GND) Constant 10 - 14V
    9 (CPUB) - 2 (GND) Constant 10 - 14V
    20 (SIG) - 2 (GND) Ignition switch OFF --> ON 0V --> 10 - 14V
    1 (UP) - 11 (DN) Constant Continuity
    5 (LMT) - 13 (SGND) Driver door glass fully closed No continuity
    5 (LMT) - 13 (SGND) Driver door glass opened by 4 mm (1.06 in.) Continuity

    If the circuit is not as specified, inspect the circuits connected to other parts.

  2. INSPECT POWER WINDOW SWITCH CIRCUIT 

    Check the voltage and continuity of each terminal of the wire harness side connector.

    Fig 2: Identifying Power Window Switch Connector Terminal
    G02827549Courtesy of © TOYOTA, LICENSE AGREEMENT TMS1002
    POWER WINDOW MASTER SWITCH CONTINUITY

    Tester connection Condition Specified condition
    7 (GND) - Body ground Constant Continuity
    12 (BDR) - 7 (GND) Constant 10 - 14V
    6 (UP) - 1 (DN) Constant Continuity
    3 (LMT) - 5 (SGND) Driver door glass fully closed No continuity
    3 (LMT) - 5 (SGND) Driver door glass opened by 4 mm (1.06 in.) Continuity

    If the circuit is not as specified, inspect the circuits connected to other parts.

  3. Driver's door and rear right door: INSPECT POWER WINDOW MOTOR OPERATION 
    1. Connect the positive (+) lead from the battery to terminal 1 and the negative (-) lead to terminal 4, check that the motor turns counterclockwise.
      Fig 3: Inspecting Driver's Door & RT Rear Power Window Motor Operation - Counterclockwise
      G02827550Courtesy of © TOYOTA, LICENSE AGREEMENT TMS1002
    2. Reverse the polarity, check that the motor turns clockwise.
    3. Fig 4: Inspecting Driver's Door & RT Rear Power Window Motor Operation - Clockwise
      G02827551Courtesy of © TOYOTA, LICENSE AGREEMENT TMS1002

    If operation is not as specified, replace the motor.

  4. Passenger's door and rear left door: INSPECT POWER WINDOW MOTOR OPERATION 
    1. Connect the positive (+) lead from the battery to terminal 4 and the negative (-) lead to terminal 1, check that the motor turns clockwise.
      Fig 5: Inspecting Passenger's Door & LT Rear Power Window Motor Operation - Clockwise
      G02827552Courtesy of © TOYOTA, LICENSE AGREEMENT TMS1002
    2. Reverse the polarity, check that the motor turns counterclockwise.
    3. Fig 6: Inspecting Passenger's Door & LT Rear Power Window Motor Operation - Counterclockwise
      G02827553Courtesy of © TOYOTA, LICENSE AGREEMENT TMS1002

    If operation is not as specified, replace the motor.

  5. INSPECT POWER WINDOW MOTOR PTC THERMISTOR OPERATION 
    1. Disconnect the connector from the power window motor.
    2. Connect the positive (+) lead from the ammeter to terminal 1 on the wire harness side connector and the negative (-) lead to negative terminal of the battery.
    3. Fig 7: Inspecting Power Window Motor PTC Thermistor Operation
      G02827554Courtesy of © TOYOTA, LICENSE AGREEMENT TMS1002
    4. Connect the positive (+) lead from the battery to terminal 4 on the wire harness side connector, and raise the window to the fully position.
    5. Continue to apply voltage and check that the current changes to less than 1 A within 4 to 90 seconds.
    6. Disconnect the leads from the terminals.
    7. Approximately 60 seconds later, connect the positive (+) lead from the battery to terminal 1 and the negative (-) lead to terminal 4, and check that the window begins to descend.
    8. Fig 8: Checking Window Begins Descending
      G02827555Courtesy of © TOYOTA, LICENSE AGREEMENT TMS1002

    If operation is not as specified, replace the motor.

  6. INSPECT JAM PROTECTION LIMIT SWITCH OPERATION 
    1. Connect the positive (+) lead from the ohmmeter to terminal 2 and the negative (-) lead to terminal 5.
    2. Connect the positive (+) lead from the battery to terminal 1 and the negative (-) lead to terminal 4.
    3. Check that the continuity exists when the window goes up.
      Fig 9: Inspecting Jam Protection Limit Switch Continuity
      G02827556Courtesy of © TOYOTA, LICENSE AGREEMENT TMS1002
    4. Check that the no continuity exists when the window is in the fully closed position.
    5. Fig 10: Checking Continuity When Window In Closed Position
      G02827557Courtesy of © TOYOTA, LICENSE AGREEMENT TMS1002

    If operation is not as specified, replace the motor.

    NOTE: If connecting the wire harness wrongly, the sensor might be damaged so caution is necessary.
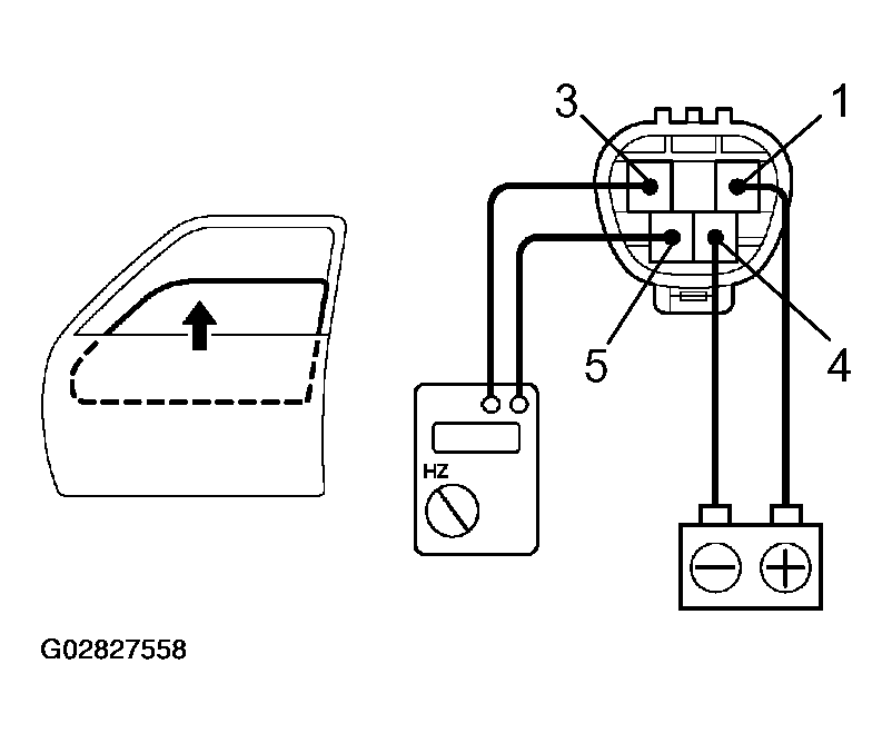
  7. INSPECT JAM PROTECTION PULSE SWITCH OPERATION 
    1. Connect the positive (+) lead from the TOYOTA electrical tester to terminal 3 and the negative (-) lead to terminal 5.
    2. Connect the positive (+) lead from the battery to terminal 1 and the negative (-) lead to terminal 4.
    3. Check that pulse is generated during the motor running.
      Fig 11: Inspecting Jam Protection Switch Pulse
      G02827558Courtesy of © TOYOTA, LICENSE AGREEMENT TMS1002
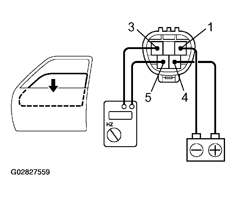
    4. Reverse the polarity and check that pulse is generated. If operation is not as specified, replace the motor.
    5. Fig 12: Checking Jam Protecting Switch Connector Terminals Pulse
      G02827559Courtesy of © TOYOTA, LICENSE AGREEMENT TMS1002
    NOTE: If connecting the wire harness wrongly, the sensor might be damaged so caution is necessary.
  8. INSPECT JAM PROTECTION FUNCTION 
    NOTE: Never, ever be caught any part of your body when checking.

    HINT:

    In case of performing resetting of the limit switch, do checking after repeating up and down of the glass with automatic operation.

    1. Confirmation of AUTO up operation:

      Confirm that the window will be fully close with AUTO up operation.

    2. Checking of the operation of the jam protection function:
      1. Move up the window with AUTO up operation and check that the window will go down when it touches the handle of the hammer stetted.
      2. Confirm that the window will then stop going down about 200 mm.

    HINT:

    In case of removing the glass, glass guide, regulator and etc. be sure to perform checking of the jam protection function. If the jam protection is not function properly, adjust power window motor reset switch and pulse switch.