LEMON Manuals: Even more car manuals for everyone: 1960-2025
Home >> Toyota >> 2003 >> Land Cruiser >> Repair and Diagnosis >> Restraints >> Restraints Control Systems >> Seat Belt >> Inspection
April 5, 2026: LEMON Manuals is launched! Read the announcement.

Seat Belt: Inspection

CAUTION: Replace the seat belt assembly (outer belt, inner belt, bolts, nuts or sill-bar) if it has been used in a severe impact. The entire assembly should be replaced even if damage is not obvious.
Fig 1: Running Test Of Front Seat Belt (Except Manual Type)
G02827977Courtesy of © TOYOTA, LICENSE AGREEMENT TMS1002
  1. Except Manual Type: 

    RUNNING TEST (IN SAFE AREA) 

    1. Fasten the front seat belts.
    2. Drive the car at 10 mph (16 km/h) and slam on the brakes. Check that the belt locks and cannot be extended at this time.

    HINT:  Conduct this test in a safe area. If the belt does not lock, remove the belt mechanism assembly and conduct the static check. See step  2. Also, whenever installing a new belt assembly.

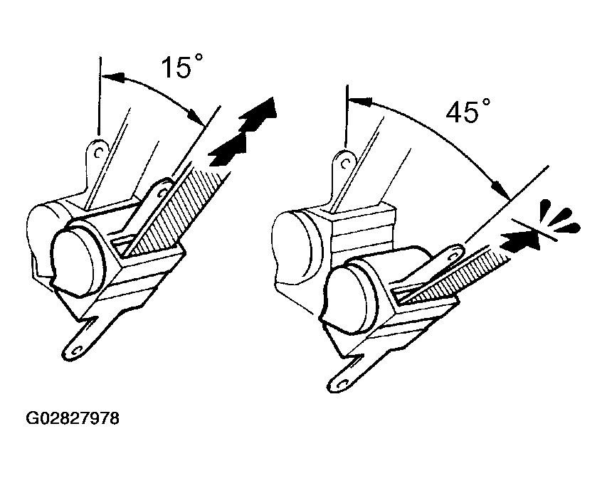
  2. Driver's Seat Belt (ELR): 

    STATIC TEST 

    1. Make sure that the belt locks when pulled out quickly.
    2. Remove the locking retractor assembly.

      HINT:  Before removing the pretensioner connector, be sure to read the precautionary notice. See TOYOTA - AIR BAG RESTRAINT SYSTEMS article in RESTRAINTS.

    3. Tilt the retractor slowly.
    4. Make sure that the belt can be pulled out at a tilt of 15 degrees or less, and cannot be pulled out over 45 degrees of tilt. If a problem is found, replace the assembly.

    Fig 2: Static Test Of Driver's Seat Belt (ELR)
    G02827978Courtesy of © TOYOTA, LICENSE AGREEMENT TMS1002
  3. Except Driver's Seat Belt (ELR/ALR): 

    STATIC TEST 

    1. Make sure that the belt locks when pulled out quickly.
    2. Remove the locking retractor assembly.

      HINT:  Before removing the pretensioner connector, be sure to read the precautionary notice. See TOYOTA - AIR BAG RESTRAINT SYSTEMS article in RESTRAINTS.

    3. Pull out the whole belt and measure the length of the whole belt. Then retract the belt slightly and pull it out again.
    4. Make sure that the belt cannot be extended further. If a problem is found, replace the assembly.
    5. Retract the whole belt, then pull out the belt until 200 mm (7.87 in.) of the belt remaining in the retractor.
    6. Fig 3: Measuring Full Belt Length
      G02827979Courtesy of © TOYOTA, LICENSE AGREEMENT TMS1002
    7. Tilt the retractor slowly.
    8. Make sure that the belt can be pulled out at a tilt of 15 degrees or less, and cannot be pulled out at over 45 degrees of tilt.

    If a problem is found, replace the assembly.

    Fig 4: Static Test Of Seat Belt (Except Driver's Seat Belt (ELR/ALR)
    G02827980Courtesy of © TOYOTA, LICENSE AGREEMENT TMS1002
  4. Manual Type: 

    TESTING 

    1. Adjust the belt to the proper length.
    2. Apply a firm load to the belt.
    3. Make sure that the belt does not extend.
      Fig 5: Testing Manual Seat Belt
      G02827981Courtesy of © TOYOTA, LICENSE AGREEMENT TMS1002

  5. INSPECT REAR NO. 1 SEAT CENTER BELT 
    1. After pulling out 300 mm (11.81 in.) of the seat belt, check that the belt is locked when pulled out quickly.
    2. Check that the belt can be pulled out 300 mm (11.81 in.) without being locked when the seat is reclined. See Fig 6.
    3. Check that the belt is locked when the belt is pulled out by a certain amount under (a) condition.
    4. When folding down the seatback forward and extracting the seat belt slowly, check that the belt is locked after a certain length (approx. 500 mm (19.69 in.)) of the belt has been extracted. See Fig 7.
    Fig 6: Inspecting Rear No. 1 Seat Center Belt (Seat Reclined)
    G02827982Courtesy of © TOYOTA, LICENSE AGREEMENT TMS1002
    Fig 7: Inspecting Rear No. 1 Seat Center Belt (Seat Folded Down)
    G02827983Courtesy of © TOYOTA, LICENSE AGREEMENT TMS1002