LEMON Manuals: Even more car manuals for everyone: 1960-2025
Home >> Toyota >> 2003 >> MR2 C56 >> Repair and Diagnosis >> Body & Frame >> Windows >> Power Window Control System >> Inspection
April 5, 2026: LEMON Manuals is launched! Read the announcement.

Power Window Control System: Inspection

  1. Driver side: INSPECT POWER WINDOW CONTROL SWITCH CONTINUITY 
    POWER WINDOW CONTROL SWITCH CONTINUITY SPECIFICATIONS

    Switch position Tester connection Specified condition
    UP MANUAL 3 - 6 Continuity
    OFF - No Continuity
    DOWN MANUAL 3-4 Continuity
    DOWN AUTO 3 - 4, 3 - 5 Continuity

    If the continuity is not as specified, replace the switch.

    Fig 1: Inspecting Power Window Control Switch Continuity (Driver Side)
    G02837709Courtesy of © TOYOTA, LICENSE AGREEMENT TMS1002
  2. Passenger side: INSPECT POWER WINDOW CONTROL SWITCH CONTINUITY 
    POWER WINDOW CONTROL SWITCH CONTINUITY SPECIFICATIONS

    Switch position Tester connection Specified condition
    UP 1 - 2, 3 - 4 Continuity
    OFF 1 - 2, 3 - 5 Continuity
    DOWN 1 - 4, 3 - 5 Continuity

    If the continuity is not as specified, replace the switch.

    Fig 2: Inspecting Power Window Control Switch Continuity (Passenger Side)
    G02837710Courtesy of © TOYOTA, LICENSE AGREEMENT TMS1002
  3. Only for passenger side power window: INSPECT POWER WINDOW LOCK SWITCH CONTINUITY 
    POWER WINDOW LOCK SWITCH CONTINUITY SPECIFICATIONS

    Switch position Tester connection Specified condition
    ON 7 - 10 Continuity
    OFF 7 - 10 No Continuity

    If the continuity is not as specified, replace the switch.

    Fig 3: Inspecting Power Window Lock Switch Continuity (Passenger Side)
    G02837711Courtesy of © TOYOTA, LICENSE AGREEMENT TMS1002
  4. Driver side door: INSPECT POWER WINDOW MOTOR OPERATION 
    1. Connect the positive (+) lead from the battery to terminal 1 and the negative (-) lead to terminal 2, check that the motor turns clockwise.
      Fig 4: Inspecting Power Window Motor Operation (Driver Side Door - 1 Of 2)
      G02837712Courtesy of © TOYOTA, LICENSE AGREEMENT TMS1002
    2. Reverse the polarity, check that the motor turns counterclockwise. If the operation is not as specified, replace the motor.
      Fig 5: Inspecting Power Window Motor Operation (Driver Side Door - 2 Of 2)
      G02837713Courtesy of © TOYOTA, LICENSE AGREEMENT TMS1002
  5. Passenger side door: INSPECT POWER WINDOW MOTOR OPERATION 
    1. Connect the positive (+) lead from the battery to terminal 1 and the negative (-) lead to terminal 2, check that the motor turns clockwise.
      Fig 6: Inspecting Power Window Motor Operation (Passenger Side Door - 1 Of 2)
      G02837714Courtesy of © TOYOTA, LICENSE AGREEMENT TMS1002
    2. Reverse the polarity, check that the motor turns counterclockwise.

      If the operation is not as specified, replace the motor.

      Fig 7: Inspecting Power Window Motor Operation (Passenger Side Door - 2 Of 2)
      G02837715Courtesy of © TOYOTA, LICENSE AGREEMENT TMS1002
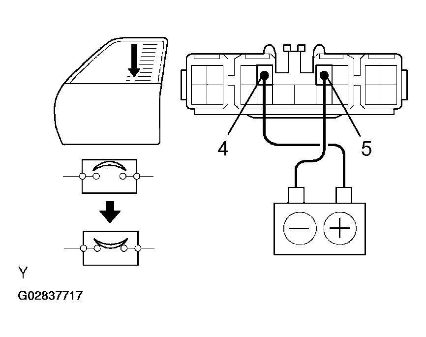
  6. Driver side door: INSPECT POWER WINDOW MOTOR PTC OPERATION 
    1. Disconnect the B6 connector from the body ECU.
    2. Connect the positive (+) lead from the battery to terminal 5 and the negative (-) lead to terminal 4 on the wire harness side connector, and raise the window to fully closed position.
      Fig 8: Inspecting Power Window Motor PTC Operation (Driver Side Door - 1 Of 2)
      G02837716Courtesy of © TOYOTA, LICENSE AGREEMENT TMS1002
    3. Continue to apply voltage, check that a circuit breaker operation noise is heard within approximately 4 to 90 seconds.
    4. Reverse the polarity, check that the window begins to descend within approximately 60 seconds.

      If the operation is not as specified, replace the motor.

      Fig 9: Inspecting Power Window Motor PTC Operation (Driver Side Door - 2 Of 2)
      G02837717Courtesy of © TOYOTA, LICENSE AGREEMENT TMS1002
  7. Passenger side door: INSPECT POWER WINDOW MOTOR PTC OPERATION 
    1. Disconnect the connector from the power window switch.
    2. Connect the positive (+) lead from the battery to terminal 3 and the negative (-) lead to terminal 1 on the wire harness side connector, and raise the window to fully closed position.
      Fig 10: Inspecting Power Window Motor PTC Operation (Passenger Side Door - 1 Of 2)
      G02837718Courtesy of © TOYOTA, LICENSE AGREEMENT TMS1002
    3. Continue to apply voltage, check that circuit breaker operation noise is heard within approximately 4 to 90 seconds.
    4. Reverse the polarity, check that the window begins to descend within approximately 60 seconds.

      If the operation is not as specified, replace the motor.

      Fig 11: Inspecting Power Window Motor PTC Operation (Passenger Side Door - 2 Of 2)
      G02837719Courtesy of © TOYOTA, LICENSE AGREEMENT TMS1002