LEMON Manuals: Even more car manuals for everyone: 1960-2025
Home >> Toyota >> 2003 >> Matrix Base, 4WD >> Repair and Diagnosis >> External Pages >> Different car >> Section 165 (Servicing - A/T) >> Torque Specifications
April 5, 2026: LEMON Manuals is launched! Read the announcement.

Torque Specifications

WARNING: This page is about a different car, the 2003 Toyota Sequoia. However, it is still accessible from the selected car via links, so may be relevant.
TORQUE SPECIFICATIONS

Application Ft. Lbs. (N.m)
Oil Cooler Pipe Bolt 25 (34)
Transfer Case Drain & Fill Plug 27 (37)
Transmission Drain Plug 15 (20)
INCH Lbs. (N.m) 
Detent Spring 89 (10)
Oil Cooler Bracket-To-Body Bolt 97 (11)
Oil Cooler Bracket-To-Assembly Bolt 44 (5)
Oil Cooler Tube Bracket Bolt 44 (5)
Oil Filler Tube Bolt 106 (12)
Oil Filter Bolt (1) 89 (10)
Oil Pan Bolt 62 (7)
PNP Switch Bolt 115 (13)
PNP Switch Nut 35 (4)
Shift Cable Adjusting Nut 115 (13)
Shift Cable Insulator Nut 44 (5)
Shift Lever Nut 115 (13)
Solenoid Valve & Lock Plate Bolt 89 (10)
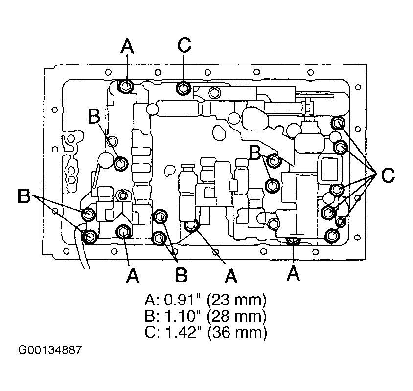
Valve Body Bolt (2) 97 (11)
(1) See Figure to identify bolts.
(2) See Figure to identify bolts.