LEMON Manuals: Even more car manuals for everyone: 1960-2025
Home >> Toyota >> 2003 >> Matrix Base, 4WD >> Repair and Diagnosis >> Transmission >> Automatic Trans >> Automatic Transmission Servicing - U341F >> Torque Specifications
April 5, 2026: LEMON Manuals is launched! Read the announcement.

Torque Specifications

TORQUE SPECIFICATIONS

Application Ft. Lbs. (N.m)
Battery Carrier Bolts 10 (13)
Drain Plug 36 (49)
INCH Lbs. (N.m) 
Air Cleaner Assembly Bolts 62 (7)
ATF Temperature Sensor Lock Plate Bolt 88 (10)
Oil Pan Bolts 69 (7.8)
Oil Strainer Retaining Bolts 97 (11)
Park Neutral Position Switch
2 Retaining Bolts 48 (5.4)
Control Cable Nut 106 (12)
Control Shift Lever Nut 115 (13)
Lock Plate Nut 61 (6.9)
Speed Sensor Bolt 48 (5.4)
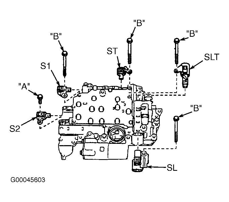
Shift Solenoid Bolts (1)
Bolt "B in. SL - 2.17 in. (55 mm) 97 (11)
Bolt "B in. SLT - 2.17 in. (55 mm) 58 (6.6)
Bolt "B in. ST - 2.17 in. (55 mm) 97 (11)
Bolt "B in. S1 - 2.17 in. (55 mm) 58 (6.6)
Bolt "A in. S2 - 2 0.55 in. (14 mm) 97 (11)
Solenoid Wire Retaining Bolt 48 (5.4)
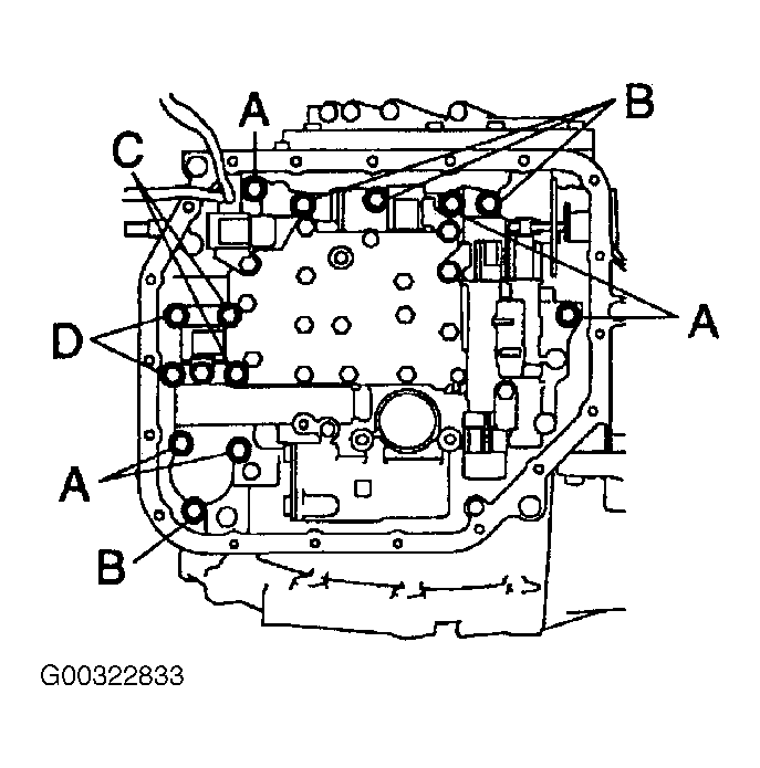
Valve Body (2)
Bolts "A" - 1.26 in. (32 mm) 97 (11)
Bolts "B"- 0.87 in. (22 mm) 97 (11)
Bolts "C"- 2.17 in. (55 mm) 97 (11)
Bolts "D"- 1.77 in. (45 mm) 97 (11)
(1) For Shift Solenoid Locations, see Figure.
(2) For Valve Body Bolt Locations, see Figure.