LEMON Manuals: Even more car manuals for everyone: 1960-2025
Home >> Toyota >> 2003 >> Matrix Base, FWD, Automatic >> Repair and Diagnosis (Single Page) >> External Pages >> Different car >> Section 320 (Multiplex Communication System - Diagnostics) >> Circuit Inspection >> DTC B1248/48: AVC-LAN Circuit Communication Stop >> Wiring Diagram
April 5, 2026: LEMON Manuals is launched! Read the announcement.

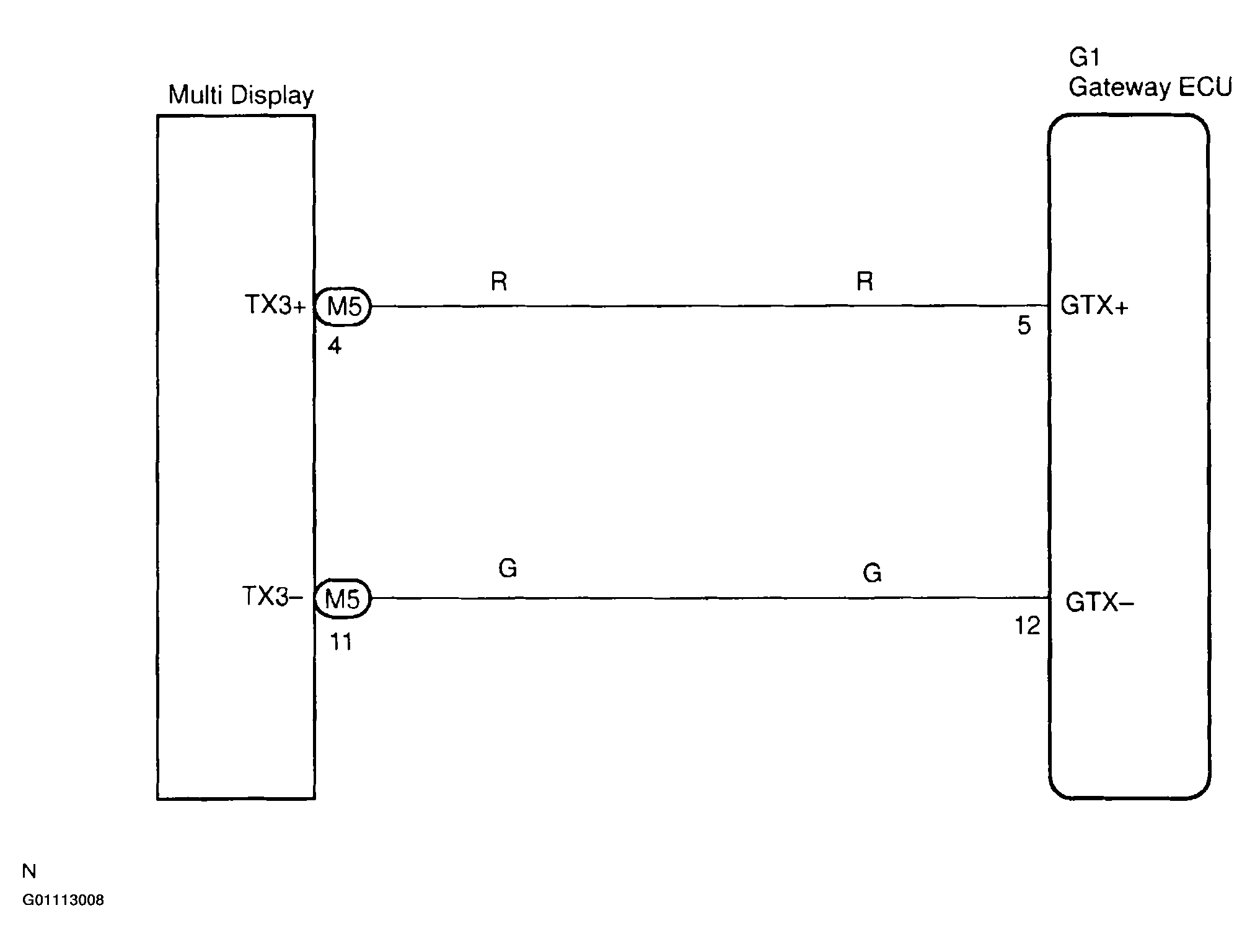
DTC B1248/48: AVC-LAN Circuit Communication Stop: Wiring Diagram

WARNING: This page is about a different car, the 2002 Toyota Prius. However, it is still accessible from the selected car via links, so may be relevant.
Fig 1: AVC-LAN Circuit
G01113008Courtesy of © TOYOTA, LICENSE AGREEMENT TMS1002