LEMON Manuals: Even more car manuals for everyone: 1960-2025
Home >> Toyota >> 2003 >> Matrix Base, FWD, Automatic >> Repair and Diagnosis >> Accessories & Equipment >> Anti-Theft Systems >> Vehicle Intrusion Protection System - Diagnostics >> Ignition Switch Circuit >> Inspection Procedure
April 5, 2026: LEMON Manuals is launched! Read the announcement.

Inspection Procedure

  1. CHECK IGNITION OR STARTER SWITCH ASSY 
    Fig 1: Checking Ignition Switch Terminals Continuity
    G02837272Courtesy of © TOYOTA, LICENSE AGREEMENT TMS1002
    1. Check the ignition switch continuity, as shown in the illustration and table.

      Standard: 

    Fig 2: Ignition Switch Assembly Terminals Continuity Chart
    G02837271Courtesy of © TOYOTA, LICENSE AGREEMENT TMS1002
    1. NG: REPAIR OR REPLACE IGNITION OR STARTER SWITCH ASSY 
    2. OK: Go To Next Step 
  2. CHECK FUSE (ECU-IG) 
    Fig 3: Identifying ECU - IG Fuse Of Instrument Panel J/B
    G02837273Courtesy of © TOYOTA, LICENSE AGREEMENT TMS1002
    1. Remove the fuse from the instrument panel J/B.
    2. Check the continuity of the fuse.

      Standard: Continuity 

    1. NG: REPLACE FUSE 
    2. OK: Go To Next Step 
  3. CHECK RELAY 
    Fig 4: Checking Ignition Relay Continuity
    G02837275Courtesy of © TOYOTA, LICENSE AGREEMENT TMS1002
    1. Remove the ignition relay from the instrument J/B.
    2. Check the ignition relay continuity, as shown in the illustration and table.

      Standard: 

      Fig 5: Ignition Relay Terminals Continuity Chart
      G02837274Courtesy of © TOYOTA, LICENSE AGREEMENT TMS1002
    1. NG: REPLACE RELAY 
    2. OK: Go To Next Step 
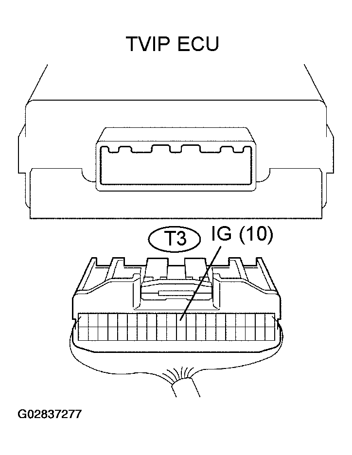
  4. CHECK WIRE HARNESS (TVIP ECU <--> BODY GROUND) 
    Fig 6: Locating IG (10) Terminal Of TVIP ECU Connector
    G02837277Courtesy of © TOYOTA, LICENSE AGREEMENT TMS1002
    1. Disconnect the TVIP ECU connector.
    2. Turn the ignition switch ON.
    3. Check the voltage between the terminal of the ECU connector and the body ground, as shown in the illustration and table.

      Standard: 

    Fig 7: TVIP ECU Connector Terminal Specified Condition Chart
    G02837276Courtesy of © TOYOTA, LICENSE AGREEMENT TMS1002
    1. NG: REPAIR OR REPLACE WIRE HARNESS AND CONNECTOR 
    2. OK: CHECK AND REPLACE TVIP ECU (See  ELECTRONIC CIRCUIT INSPECTION PROCEDURE  )